GERDA EXXO Smart
🇸🇦 العربية
أسطوانة GERDA EXXO SMART المعيارية
دليل التركيب والاستخدام
جدول المحتويات
التحضير
- محتويات العلبة
- ما الذي تحتاجه
- بطاقة الكود
التركيب
- الخطوة 1: حضّر الباب وقِس الأسطوانة القديمة
- الخطوة 2: اضبط الأسطوانة الجديدة
- الخطوة 3: ركّب الأسطوانة الجديدة
جهة الاتصال بالدعم
المعلومات التقنية
التحضير
| ⚠️ هذا المنتج ليس لعبة ولا يجوز تركيبه أو التعامل معه أو استخدامه من قبل الأطفال. الأجزاء الصغيرة المرفقة مع المنتج قد تشكّل خطر اختناق محتمل ويجب حفظها بعيدًا عن متناول الأطفال في جميع الأوقات.
تحذير:
قد يؤدي عدم الالتزام بهذه الإرشادات إلى إصابة خطيرة. لا تتحمّل الجهة المصنِّعة أي مسؤولية عن سوء الاستخدام أو التركيب من قبل أشخاص غير مؤهَّلين. |
محتويات العلبة
| 1A. وحدة الكامة / 1B. وحدة التروس | 6. وحدة العمود | 11. مفتاح ألن (مقاس 1.5) |
| 2. وحدة المفتاح | 7. عمود الأسطوانة | 12. بكرات فواصل (15 مم، 15 مم، 10 مم، 6 مم) |
| 3. فاصل (6 مم) | 8. بكرات فواصل (10 مم، 6 مم) | 13. مفاتيح (×5) |
| 4. موضع مسمار التثبيت | 14. بطاقة المفتاح | |
| 5. فاصل (10 مم) | 10. فواصل (6، 10، 15، 15 مم) | 15. مُحوِّل Tedee GO |
ما الذي تحتاجه
مفك براغي فيليبس |
مسطرة |
بطاقة الكود
استخدم الكود الموجود على البطاقة المُضمَّنة في علبة الأسطوانة لطلب مفاتيح إضافية من صانعي أقفال GERDA المعتمدين أو عبر البريد الإلكتروني [email protected]
.
|
⚠️ نوصي بالتقاط صورة واضحة للكود والاحتفاظ بها بأمان لاستخدامها لاحقًا. |
بطاقة المفتاح
التركيب
![]() |
![]() |
![]() |
|
الخطوة 1 حضّر الباب وقِس الأسطوانة القديمة. |
الخطوة 2 اضبط الأسطوانة الجديدة. |
الخطوة 3 ركّب الأسطوانة الجديدة. |
الخطوة 1: حضّر الباب وقِس الأسطوانة القديمة
تحقّق من مقدار بروز الأسطوانة الحالية عن واجهة القفل (من جهة الداخل في شقتك).
| ⚠️ تركيب Tedee PRO
يتطلّب تثبيت القفل الذكي الآمن أن يبرز طول الأسطوانة 2–6 مم عن واجهة القفل. إذا كان بروز الأسطوانة الحالية أقل من 2 مم، فاضبط الأسطوانة المعيارية الجديدة لتكون أطول من جهة القفل الذكي. إذا كان بروز الأسطوانة الحالية أكثر من 6 مم، فاضبط الأسطوانة المعيارية الجديدة لتكون أقصر من جهة القفل الذكي. |
⚠️ تركيب Tedee GO(2)
يتطلّب تثبيت القفل الذكي الآمن أن يبرز طول الأسطوانة 3–8 مم عن واجهة القفل. إذا كان بروز الأسطوانة الحالية أقل من 3 مم، فاضبط الأسطوانة المعيارية الجديدة لتكون أطول من جهة القفل الذكي. إذا كان بروز الأسطوانة الحالية أكثر من 8 مم، فاضبط الأسطوانة المعيارية الجديدة لتكون أقصر من جهة القفل الذكي. |
![]() |
![]() |
2. أزل مسمار التثبيت من قفل الباب الذي يثبّت الأسطوانة القديمة واحتفظ به لتركيب الأسطوانة الجديدة.
|
⚠️ إذا كان لديك باب أمان عالي مع واجهة قفل معزَّزة، فقم بفك الواجهة قبل إزالة الأسطوانة من القفل. |
3. أدخل مفتاحًا في الأسطوانة وأدره قليلًا واسحب برفق لإخراج الأسطوانة القديمة من قفل الباب.
|
⚠️ عند استبدال أسطوانة كامة، قد تحتاج إلى إدارة المفتاح لإخفاء الكامة. اسحب الأسطوانة برفق مع إبقاء المفتاح داخلها للعثور على الوضع الصحيح الذي تكون فيه الكامة مخفية بالكامل. |
4. قِس الأسطوانة الحالية ودَوِّن الأبعاد:
![]() |
|
| A (الداخل)من الطرف الداخلي للأسطوانة إلى مركز موضع مسمار التثبيت. | B (الخارج)من الطرف الخارجي للأسطوانة إلى مركز موضع مسمار التثبيت. |
الخطوة 2: اضبط الأسطوانة الجديدة
تأتي أسطوانة GERDA EXXO المعيارية افتراضيًا مع وحدات مُثبتة مسبقًا.
قد تحتاج إلى إزالة وحدات أو إضافتها لضبط الطول على الجانبين بما يطابق الأسطوانة الحالية.
| الأسطوانة الجديدة الافتراضية
|
|
| الداخل جانب القفل الذكي 41 مم (فاصل 10 مم ×1) | الخارج جانب المفتاح 37 مم (فاصل 6 مم ×1) |
| ⚠️ اسمح أسطوانة GERDA EXXO المعيارية لتطابق جانب المفتاح (الخارج) من أسطوانتك القديمة قدر الإمكان.
أثناء تجميع الجزء الداخلي من الأسطوانة، ضع في الاعتبار مقدار بروز أسطوانتك القديمة عن واجهة القفل — القياس الذي أُخذ في الخطوة 1.1. اختر الطول الداخلي المطلوب، أطول قليلًا أو أقصر، لتحقيق بروز 2–6 مم (لـ Tedee PRO) أو 3–8 مم (لـ Tedee GO(2)). |
1. اختر تركيبة الوحدات المطلوبة لكلا جانبي الأسطوانة من التكوينات المتاحة:
| جانب المفتاح | جانب القفل الذكي |
| 31 مم (بدون فواصل) | 31 مم (بدون فواصل) |
| 37 مم (6 مم ×1) | 37 مم (6 مم ×1) |
| 41 مم (10 مم ×1) | 41 مم (10 مم ×1) |
| 46 مم (15 مم ×1) | 46 مم (15 مم ×1) |
| 47 مم (6 مم ×1 + 10 مم ×1) | 47 مم (6 مم ×1 + 10 مم ×1) |
| 52 مم (6 مم ×1 + 15 مم ×1) | 52 مم (6 مم ×1 + 15 مم ×1) |
| 56 مم (10 مم ×1 + 15 مم ×1) | 56 مم (10 مم ×1 + 15 مم ×1) |
| 62 مم (6 مم ×1 + 10 مم ×1 + 15 مم ×1) | 62 مم (6 مم ×1 + 10 مم ×1 + 15 مم ×1) |
|
⚠️ استخدم تركيبات الوحدات الواردة في الجدول أعلاه فقط. لا تضبط أطوال الأسطوانة لأكثر من 62 مم على أي جانب. تواصل مع [email protected] إذا كانت أسطوانتك القديمة تتجاوز هذا الطول. |
2. حضّر الفواصل والبكرات المطابقة لتركيبها على الأسطوانة.
|
⚠️ لكل فاصل بكرة مطابقة في القياس. |
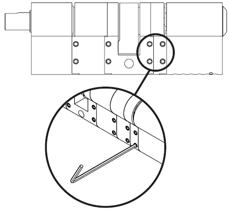
3. افصل عناصر الأسطوانة بإزالة أربعة مسامير تثبيت من كلا الجانبين باستخدام مفتاح ألن.
|
⚠️ تعامل بحذر مع البكرات المفككة، فقد تسقط. |
4. أضِف الفواصل بإدخال البكرات المطابقة داخل الوحدة ثم وصّل العناصر معًا.
|
⚠️ تأكّد من صحة محاذاة العناصر الدائرية عند الدوران. |
5. ثبّت الأسطوانة بمسامير التثبيت باستخدام مفتاح ألن. أدر مع عقارب الساعة حتى الإحكام.
|
⚠️ تذكّر إحكام أربعة مسامير تثبيت على كل عنصر. |
6. نفّذ فحصًا نهائيًا:
أ. تأكّد من أن الطول الخارجي يطابق أسطوانتك القديمة.
ب. تأكّد من أن الطول الداخلي يوفّر بروزًا مناسبًا عن واجهة القفل: 2–6 مم لمنتج Tedee PRO أو 3–8 مم لمنتج Tedee GO(2).
![]() |
![]() |
![]() |
![]() |
الخطوة 3: ركّب الأسطوانة الجديدة
عند استبدال أسطوانة كامة، أدر عمود الأسطوانة لإرجاع الكامة داخل ملفّ الأسطوانة.
أدخل الأسطوانة في قفل الباب.
|
⚠️ تأكّد من أن جانبي الأسطوانة مُحاذيان بشكل صحيح مع جهة الداخل والخارج من شقتك. |
3. ثبّت مسمار التثبيت لتأمين الأسطوانة داخل قفل الباب.
نفّذ فحصًا نهائيًا:
أ. تأكّد من أن بروز الأسطوانة في الداخل يتراوح بين 2–6 مم أو 3–8 مم وفقًا لما إذا كنت تركّب Tedee PRO أو Tedee GO. اضبط حسب الحاجة لتحقيق المحاذاة الصحيحة.
ب. اختبر المفتاح من الخارج بإدارته يمينًا ويسارًا للتأكّد من حركة المزاليج بسلاسة.
الآن أصبحت جاهزًا لتثبيت قفل Tedee الذكي على الأسطوانة الجديدة.
![]() |
![]() |
|
عند تركيب Tedee PRO اتبع الدليل الموجود في علبة القفل الذكي. |
⚠️ عند تركيب Tedee GO(2)
ثبّت مُحوِّل Tedee GO Bar من علبة الأسطوانة على عمود أسطوانة ذي شقّ. بعد ذلك، اتبع دليل التركيب الموجود في علبة القفل الذكي. |
الدعم الفني
للحصول على المساعدة، تواصل مع فريق دعم Tedee:
| البريد الإلكتروني | الموقع الإلكتروني
أدلة منتجات Tedee الأخرى |
الهاتف
(+48) 22 307 72 67 8:00 – 16:00 (CET) |
العنوان البريدي
Tedee Sp. z o.o. Karola Bohdanowicza 21/57 02-127 Warsaw Poland |
المعلومات التقنية
أسطوانة GERDA EXXO SMART المعيارية
| الفئة | أسطوانة بروفيل أوروبي |
| النسخ | كامة / تروس |
| الأمان | الدرجة 6 وفقًا للمواصفة PN-EN 1303:2015 |
| المُصنِّع | GERDA Sp. z o.o. Sokołów, ul. Sokołowska 49 05-806 Komorów, Poland +48 (22) 329 10 30 www.gerda.com |
🇧🇬 Български
Модулен цилиндров патрон GERDA EXXO SMART
Ръководство за монтаж и употреба
СЪДЪРЖАНИЕ
Подготовка
- Съдържание на опаковката
- Какво ви е необходимо
- Кодова карта
Монтаж
- Стъпка 1: Подгответе вратата и измерете стария патрон
- Стъпка 2: Регулирайте новия патрон
- Стъпка 3: Монтирайте новия патрон
Контакт за поддръжка
Техническа информация
ПОДГОТОВКА
| ⚠️ Този продукт не е играчка и не бива да се монтира, използва или борави с него от деца. Малките части, включени в комплекта, представляват потенциална опасност от задавяне и трябва винаги да се държат далеч от деца.
ВНИМАНИЕ:
Неспазването на тези указания може да доведе до сериозни наранявания. Производителят не носи отговорност за неправилна употреба или монтаж, извършен от неквалифицирани лица. |
СЪДЪРЖАНИЕ НА ОПАКОВКАТА
| 1A. Модул на камата / 1B. Модул на предавката | 6. Модул на оста | 11. Шестограм (размер 1.5) |
| 2. Модул на ключа | 7. Ос на патрона | 12. Дистанционни втулки (15 мм, 15 мм, 10 мм, 6 мм) |
| 3. Дистанционер (6 мм) | 8. Дистанционни втулки (10 мм, 6 мм) | 13. Ключове (×5) |
| 4. Отвор за монтажния винт | 14. Карта на ключа | |
| 5. Дистанционер (10 мм) | 10. Дистанционери (6, 10, 15, 15 мм) | 15. Адаптер Tedee GO |
КАКВО ВИ Е НЕОБХОДИМО
Отвертка Phillips (кръстата) |
Линия |
КОДОВА КАРТА
Използвайте кода от картата, включена в кутията с патрона, за да поръчате допълнителни ключове от оторизирани ключари на GERDA или по имейл на [[email protected]](mailto:[email protected]).
|
⚠️ Препоръчваме да направите ясна снимка на вашия код и да я съхраните на сигурно място за бъдеща употреба. |
Карта на ключа
МОНТАЖ
![]() |
![]() |
![]() |
|
СТЪПКА 1 Подгответе вратата и измерете стария патрон. |
СТЪПКА 2 Регулирайте новия патрон. |
СТЪПКА 3 Монтирайте новия патрон. |
СТЪПКА 1: ПОДГОТВЕТЕ ВРАТАТА И ИЗМЕРЕТЕ СТАРИЯ ПАТРОН
1. Проверете с колко вашият съществуващ патрон стърчи от щита на бравата (от вътрешната страна на жилището).
| ⚠️ Монтаж на Tedee PRO
Сигурният монтаж на смарт ключалката изисква патронът да стърчи на 2–6 мм от щита на бравата. Ако текущият ви патрон стърчи по-малко от 2 мм, регулирайте новия модулен патрон до по-голяма дължина от страната на смарт ключалката. Ако текущият ви патрон стърчи повече от 6 мм, регулирайте новия модулен патрон до по-къса дължина от страната на смарт ключалката. |
⚠️ Монтаж на Tedee GO(2)
Сигурният монтаж на смарт ключалката изисква патронът да стърчи на 3–8 мм от щита на бравата. Ако текущият ви патрон стърчи по-малко от 3 мм, регулирайте новия модулен патрон до по-голяма дължина от страната на смарт ключалката. Ако текущият ви патрон стърчи повече от 8 мм, регулирайте новия модулен патрон до по-къса дължина от страната на смарт ключалката. |
![]() |
![]() |
2. Отстранете монтажния винт на бравата, който фиксира стария патрон, и го запазете за монтажа на новия.
|
⚠️ Ако имате високозащитна врата с усилен щит на бравата, демонтирайте щита преди да извадите патрона от бравата. |
3. Поставете ключ в патрона, завъртете леко и внимателно издърпайте, за да извадите стария патрон от бравата.
|
⚠️ При подмяна на камов патрон може да е необходимо да завъртите ключа, за да приберете камата. Внимателно издърпвайте патрона с поставен ключ, докато намерите положение, в което камата е напълно прибрана. |
4. Измерете съществуващия патрон и запишете размерите:
![]() |
|
| A (вътрешна)От вътрешния край на патрона до центъра на отвора за монтажния винт. |
B (външна)От външния край на патрона до центъра на отвора за монтажния винт. |
СТЪПКА 2: РЕГУЛИРАЙТЕ НОВИЯ ПАТРОН
По подразбиране модулният цилиндров патрон GERDA EXXO се доставя с предварително прикрепени модули.
Може да се наложи да премахнете или добавите модули, за да настроите дължината от двете страни така, че да съответства на съществуващия патрон.
| Стандартна конфигурация на новия патрон
|
|
| Вътрешна страна страна на смарт ключалката 41 мм (1× дистанционер 10 мм) |
Външна страна страна на ключа 37 мм (1× дистанционер 6 мм) |
| ⚠️ Сглобете модулния патрон GERDA EXXO така, че максимално да съвпада със страната на ключа (външната) на стария ви патрон.
При сглобяване на вътрешната част на патрона имайте предвид с колко старият патрон стърчеше от щита — измерването от стъпка 1.1. Изберете желаната вътрешна дължина — малко по-дълга или по-къса — за да постигнете стърчене 2–6 мм (за Tedee PRO) или 3–8 мм (за Tedee GO(2)). |
1. Изберете желаната комбинация от модули за двете страни на патрона от наличните конфигурации:
| Страна на ключа | Страна на смарт ключалката |
| 31 мм (без дистанционери) | 31 мм (без дистанционери) |
| 37 мм (1× 6 мм) | 37 мм (1× 6 мм) |
| 41 мм (1× 10 мм) | 41 мм (1× 10 мм) |
| 46 мм (1× 15 мм) | 46 мм (1× 15 мм) |
| 47 мм (1× 6 мм + 1× 10 мм) | 47 мм (1× 6 мм + 1× 10 мм) |
| 52 мм (1× 6 мм + 1× 15 мм) | 52 мм (1× 6 мм + 1× 15 мм) |
| 56 мм (1× 10 мм + 1× 15 мм) | 56 мм (1× 10 мм + 1× 15 мм) |
| 62 мм (1× 6 мм + 1× 10 мм + 1× 15 мм) | 62 мм (1× 6 мм + 1× 10 мм + 1× 15 мм) |
|
⚠️ Използвайте само комбинациите от модули, посочени в таблицата по-горе. Не настройвайте дължини на патрона над 62 мм от която и да е страна. Свържете се с [email protected], ако старият ви патрон надвишава тази дължина. |
2. Подгответе дистанционерите и съответните втулки за монтиране към патрона.
|
⚠️ Всеки дистанционер има съответстваща втулка със същия размер. |
3. Разкачете елементите на патрона, като премахнете четирите стягащи винта от двете страни с помощта на шестограма.
|
⚠️ Боравете внимателно с отделените втулки — възможно е да изпаднат. |
4. Добавете дистанционери, като вкарате съответните втулки в модула и свържете елементите.
|
⚠️ Уверете се, че въртенето и подравняването на кръглите елементи е правилно. |
5. Фиксирайте патрона със стягащите винтове, използвайки шестограма. Завъртайте по посока на часовниковата стрелка до стягане.
|
⚠️ Не забравяйте да затегнете четирите стягащи винта на всеки елемент. |
6. Извършете финална проверка:
А. Уверете се, че външната дължина съвпада със стария ви патрон.
Б. Уверете се, че вътрешната дължина осигурява подходящо стърчене от щита на бравата: 2–6 мм за Tedee PRO или 3–8 мм за Tedee GO(2).
![]() |
![]() |
![]() |
![]() |
СТЪПКА 3: МОНТИРАЙТЕ НОВИЯ ПАТРОН
1. При подмяна на камов патрон завъртете оста на патрона, за да приберете камата в профила на патрона.
2. Поставете патрона в бравата на вратата.
|
⚠️ Уверете се, че страните на патрона са правилно съотнесени към вътрешната и външната страна на жилището ви. |
3. Завийте монтажния винт, за да фиксирате патрона в бравата.
4. Извършете финална проверка:
А. Уверете се, че патронът стърчи от вътрешната страна между 2–6 мм или 3–8 мм в зависимост от това дали монтирате Tedee PRO или Tedee GO. При нужда регулирайте за правилно подравняване.
Б. Тествайте ключа отвън, като го завъртите наляво и надясно, за да проверите, че резетата се движат плавно.
Сега сте готови да монтирате смарт ключалката Tedee върху новия патрон.
![]() |
![]() |
|
При монтаж на Tedee PRO Следвайте ръководството в кутията на смарт ключалката. |
⚠️ При монтаж на Tedee GO(2)
Поставете адаптера Tedee GO Bar от кутията с патрона върху разцепената ос на патрона. След това следвайте ръководството за монтаж от кутията на смарт ключалката. |
ТЕХНИЧЕСКА ПОДДРЪЖКА
За съдействие се свържете с екипа за поддръжка на Tedee:
| Имейл | Уебсайт
[www.tedee.com/support](http://www.tedee.com/support) Ръководства за други продукти на Tedee [www.tedee.com/support/manuals](http://www.tedee.com/support/manuals) |
Телефон
(+48) 22 307 72 67 8:00 – 16:00 (CET) |
Пощенски адрес
Tedee Sp. z o.o. Karola Bohdanowicza 21/57 02-127 Варшава Полша |
ТЕХНИЧЕСКА ИНФОРМАЦИЯ
Модулен цилиндров патрон GERDA EXXO SMART
| Категория | Европрофилен цилиндров патрон |
| Варианти | Кама / Предавка |
| Сигурност | Клас 6 съгласно PN-EN 1303:2015 |
| Производител | GERDA Sp. z o.o. Sokołów, ul. Sokołowska 49 05-806 Komorów, Полша +48 (22) 329 10 30 www.gerda.com |
🇦🇩 Català
Cilindre modular GERDA EXXO SMART
Manual d’instal·lació i d’ús
TAULA DE CONTINGUTS
Preparació
- Contingut de la caixa
- Què necessiteu
- Targeta de codi
Instal·lació
- Pas 1: Prepareu la porta i mesureu el vostre cilindre antic
- Pas 2: Ajusteu el cilindre nou
- Pas 3: Instal·leu el cilindre nou
Contacte d’assistència
Informació tècnica
PREPARACIÓ
| ⚠️ Aquest producte no és una joguina i no l’han d’instal·lar, manipular ni utilitzar criatures. Les peces petites incloses poden representar un risc d’ennuegament i s’han de mantenir fora de l’abast de la canalla en tot moment.
AVÍS:
L’incompliment d’aquestes directrius pot provocar lesions greus. El fabricant no assumeix cap responsabilitat per un ús indegut o per instal·lacions fetes per persones no qualificades. |
CONTINGUT DE LA CAIXA
| 1A. Mòdul de lleva / 1B. Mòdul d’engranatge | 6. Mòdul d’eix | 11. Clau Allen (mida 1,5) |
| 2. Mòdul de clau | 7. Eix del cilindre | 12. Carrets d’espaiador (15 mm, 15 mm, 10 mm, 6 mm) |
| 3. Espaiador (6 mm) | 8. Carrets d’espaiador (10 mm, 6 mm) | 13. Claus (×5) |
| 4. Forat del cargol de fixació | 14. Targeta de clau | |
| 5. Espaiador (10 mm) | 10. Espaiadors (6, 10, 15, 15 mm) | 15. Adaptador Tedee GO |
QUÈ NECESSITEU
Tornavís Phillips (de creu) |
Regle |
TARGETA DE CODI
Utilitzeu el codi de la targeta inclosa a la caixa del cilindre per demanar claus addicionals a serrallers autoritzats de GERDA o enviant un correu a [[email protected]](mailto:[email protected]).
|
⚠️ Us recomanem fer una foto clara del vostre codi i desar-la de manera segura per a usos posteriors. |
Targeta de clau
INSTAL·LACIÓ
![]() |
![]() |
![]() |
|
PAS 1 Prepareu la porta i mesureu el cilindre antic. |
PAS 2 Ajusteu el cilindre nou. |
PAS 3 Instal·leu el cilindre nou. |
PAS 1: PREPAREU LA PORTA I MESUREU EL VOSTRE CILINDRE ANTIC
1. Comproveu quant sobresurt el cilindre existent de l’escut del pany (al costat interior del vostre habitatge).
| ⚠️ Instal·lació de Tedee PRO
El muntatge segur de l’smart lock requereix que el cilindre sobresurti 2–6 mm de l’escut del pany. Si el vostre cilindre actual sobresurt menys de 2 mm, ajusteu el cilindre modular nou a una longitud més gran al costat de l’smart lock. Si el vostre cilindre actual sobresurt més de 6 mm, ajusteu el cilindre modular nou a una longitud més curta al costat de l’smart lock. |
⚠️ Instal·lació de Tedee GO(2)
El muntatge segur de l’smart lock requereix que el cilindre sobresurti 3–8 mm de l’escut del pany. Si el vostre cilindre actual sobresurt menys de 3 mm, ajusteu el cilindre modular nou a una longitud més gran al costat de l’smart lock. Si el vostre cilindre actual sobresurt més de 8 mm, ajusteu el cilindre modular nou a una longitud més curta al costat de l’smart lock. |
![]() |
![]() |
2. Traieu el cargol de fixació del pany de la porta que subjecta el cilindre antic i guardeu-lo per a la instal·lació del nou.
|
⚠️ Si teniu una porta d’alta seguretat amb un escut reforçat, desmunteu l’escut abans de retirar el cilindre del pany. |
3. Introduïu una clau al cilindre, gireu-la lleugerament i estireu suaument per retirar el cilindre antic del pany de la porta.
|
⚠️ En substituir un cilindre de lleva, pot ser necessari girar la clau per amagar la lleva. Estireu el cilindre amb la clau inserida fins a trobar la posició en què la lleva quedi completament amagada. |
4. Mesureu el cilindre existent i anoteu-ne les dimensions:
![]() |
|
| A (interior)Des de l’extrem interior del cilindre fins al centre del forat del cargol de fixació. |
B (exterior)Des de l’extrem exterior del cilindre fins al centre del forat del cargol de fixació. |
PAS 2: AJUSTEU EL CILINDRE NOU
De manera predeterminada, el cilindre modular GERDA EXXO es lliura amb mòduls preinstal·lats.
És possible que hàgiu de treure o afegir mòduls per configurar la longitud a tots dos costats i fer-la coincidir amb el vostre cilindre existent.
| Configuració predeterminada del cilindre nou
|
|
| Interior costat de l’smart lock 41 mm (1× espaiador de 10 mm) |
Exterior costat de la clau 37 mm (1× espaiador de 6 mm) |
| ⚠️ Muntem el cilindre modular GERDA EXXO perquè s’ajusti al màxim al costat de la clau (exterior) del vostre cilindre antic.
En muntar la part interior del cilindre, tingueu en compte quant sobresortia el vostre cilindre antic de l’escut — la mesura presa al pas 1.1. Trieu la longitud interior desitjada, una mica més llarga o més curta, per aconseguir un sobresortiment de 2–6 mm (per a Tedee PRO) o de 3–8 mm (per a Tedee GO(2)). |
1. Trieu la combinació de mòduls desitjada per als dos costats del cilindre entre les configuracions disponibles:
| Costat de la clau | Costat de l’smart lock |
| 31 mm (sense espaiadors) | 31 mm (sense espaiadors) |
| 37 mm (1× 6 mm) | 37 mm (1× 6 mm) |
| 41 mm (1× 10 mm) | 41 mm (1× 10 mm) |
| 46 mm (1× 15 mm) | 46 mm (1× 15 mm) |
| 47 mm (1× 6 mm + 1× 10 mm) | 47 mm (1× 6 mm + 1× 10 mm) |
| 52 mm (1× 6 mm + 1× 15 mm) | 52 mm (1× 6 mm + 1× 15 mm) |
| 56 mm (1× 10 mm + 1× 15 mm) | 56 mm (1× 10 mm + 1× 15 mm) |
| 62 mm (1× 6 mm + 1× 10 mm + 1× 15 mm) | 62 mm (1× 6 mm + 1× 10 mm + 1× 15 mm) |
|
⚠️ Utilitzeu només combinacions de mòduls de la taula anterior. No configureu longituds del cilindre superiors a 62 mm a cap costat. Contacteu amb [email protected] si el vostre cilindre antic supera aquesta longitud. |
2. Prepareu els espaiadors i els carrets corresponents per fixar-los al cilindre.
|
⚠️ Cada espaiador té un carret de la mida corresponent. |
3. Separeu els elements del cilindre traient quatre cargols de subjecció de tots dos costats amb la clau Allen.
|
⚠️ Manegeu amb cura els carrets solts, ja que poden caure. |
4. Afegiu espaiadors inserint els carrets corresponents al mòdul i uniu els elements.
|
⚠️ Assegureu-vos que l’alineació de rotació dels elements circulars sigui correcta. |
5. Assegureu el cilindre amb els cargols de subjecció utilitzant la clau Allen. Gireu en sentit horari fins que quedin ben fixats.
|
⚠️ Recordeu assegurar quatre cargols de subjecció a cada element. |
6. Feu una verificació final:
A. Assegureu-vos que la longitud exterior coincideix amb el vostre cilindre antic.
B. Assegureu-vos que la longitud interior proporciona el sobresortiment adequat respecte a l’escut del pany: 2–6 mm per a Tedee PRO o 3–8 mm per a Tedee GO(2).
![]() |
![]() |
![]() |
![]() |
PAS 3: INSTAL·LEU EL CILINDRE NOU
1. En substituir un cilindre de lleva, gireu l’eix del cilindre per retraure la lleva dins del perfil del cilindre.
2. Inseriu el cilindre al pany de la porta.
|
⚠️ Assegureu-vos que els costats del cilindre s’alineen correctament amb l’interior i l’exterior del vostre habitatge. |
3. Fixeu el cargol de fixació per assegurar el cilindre al pany de la porta.
4. Feu una verificació final:
A. Assegureu-vos que el cilindre sobresurt entre 2–6 mm o 3–8 mm a l’interior, segons si instal·leu Tedee PRO o Tedee GO. Ajusteu si cal per a un alineament correcte.
B. Proveu la clau des de l’exterior girant-la a l’esquerra i a la dreta per comprovar que els forrellats es mouen amb suavitat.
Ara ja esteu a punt d’instal·lar el pany intel·ligent Tedee al cilindre nou.
![]() |
![]() |
|
Quan instal·leu Tedee PRO Seguiu el manual de la caixa del smart lock. |
⚠️ Quan instal·leu Tedee GO(2)
Col·loqueu l’adaptador Tedee GO Bar de la caixa del cilindre sobre un eix de cilindre ranurat. A continuació, seguiu el manual d’instal·lació de la caixa del smart lock. |
SUPORT TÈCNIC
Per obtenir assistència, contacteu amb l’equip de suport de Tedee:
| Correu electrònic | Lloc web
[www.tedee.com/support](http://www.tedee.com/support) Manuals d’altres productes Tedee [www.tedee.com/support/manuals](http://www.tedee.com/support/manuals) |
Telèfon
(+48) 22 307 72 67 8:00 – 16:00 (CET) |
Adreça postal
Tedee Sp. z o.o. Karola Bohdanowicza 21/57 02-127 Varsòvia Polònia |
INFORMACIÓ TÈCNICA
Cilindre modular GERDA EXXO SMART
| Categoria | Cilindre de perfil europeu |
| Variants | Lleva / Engranatge |
| Seguretat | Classe 6 segons PN-EN 1303:2015 |
| Fabricant | GERDA Sp. z o.o. Sokołów, ul. Sokołowska 49 05-806 Komorów, Polònia +48 (22) 329 10 30 www.gerda.com |
🇨🇿 Čeština
Modulární vložka GERDA EXXO SMART
Návod k instalaci a použití
OBSAH
Příprava
- Obsah balení
- Co budete potřebovat
- Kódová karta
Instalace
- Krok 1: Připravte dveře a změřte svou starou vložku
- Krok 2: Upravte novou vložku
- Krok 3: Nainstalujte novou vložku
Kontakt na podporu
Technické informace
PŘÍPRAVA
| ⚠️ Tento produkt není hračka a nesmí být instalován, obsluhován ani používán dětmi. Drobnými díly dodanými s výrobkem hrozí riziko zalknutí; vždy je uchovávejte mimo dosah dětí.
UPOZORNĚNÍ:
Nedodržení těchto pokynů může vést k vážnému zranění. Výrobce nenese odpovědnost za nesprávné použití nebo instalaci provedenou nekvalifikovanými osobami. |
OBSAH BALENÍ
| 1A. Modul vačky / 1B. Modul převodu | 6. Modul hřídele | 11. Imbusový klíč (velikost 1,5) |
| 2. Modul klíče | 7. Hřídel vložky | 12. Distanční cívky (15 mm, 15 mm, 10 mm, 6 mm) |
| 3. Distanční vložka (6 mm) | 8. Distanční cívky (10 mm, 6 mm) | 13. Klíče (×5) |
| 4. Otvor pro upevňovací šroub | 14. Karta klíče | |
| 5. Distanční vložka (10 mm) | 10. Distanční vložky (6, 10, 15, 15 mm) | 15. Adaptér Tedee GO |
CO BUDETE POTŘEBOVAT
Křížový šroubovák (Phillips) |
Pravítko |
KÓDOVÁ KARTA
Kód z karty přiložené v krabici s vložkou použijte k objednání dalších klíčů u autorizovaných zámečníků GERDA nebo e-mailem na [[email protected]](mailto:[email protected]).
|
⚠️ Doporučujeme kód jasně vyfotit a fotografii bezpečně uložit pro budoucí použití. |
Karta klíče
INSTALACE
![]() |
![]() |
![]() |
|
KROK 1 Připravte dveře a změřte starou vložku. |
KROK 2 Upravte novou vložku. |
KROK 3 Nainstalujte novou vložku. |
KROK 1: PŘIPRAVTE DVEŘE A ZMĚŘTE SVOU STAROU VLOŽKU
1. Zkontrolujte, o kolik vaše stávající vložka vyčnívá z dveřního štítu zámku (na vnitřní straně bytu).
| ⚠️ Instalace Tedee PRO
Bezpečné uchycení chytrého zámku vyžaduje, aby vložka vyčnívala ze štítu zámku o 2–6 mm. Pokud vaše stávající vložka vyčnívá méně než 2 mm, upravte novou modulární vložku na delší délku na straně chytrého zámku. Pokud vaše stávající vložka vyčnívá více než 6 mm, upravte novou modulární vložku na kratší délku na straně chytrého zámku. |
⚠️ Instalace Tedee GO(2)
Bezpečné uchycení chytrého zámku vyžaduje, aby vložka vyčnívala ze štítu zámku o 3–8 mm. Pokud vaše stávající vložka vyčnívá méně než 3 mm, upravte novou modulární vložku na delší délku na straně chytrého zámku. Pokud vaše stávající vložka vyčnívá více než 8 mm, upravte novou modulární vložku na kratší délku na straně chytrého zámku. |
![]() |
![]() |
2. Vyjměte upevňovací šroub z vašeho dveřního zámku, který drží starou vložku, a uschovejte jej pro instalaci nové.
|
⚠️ Pokud máte bezpečnostní dveře se zesíleným dveřním štítem zámku, před vyjmutím vložky štít demontujte. |
3. Vsuňte klíč do vložky, mírně jím otočte a jemně táhněte, abyste starou vložku z dveřního zámku vyjmuli.
|
⚠️ Při výměně vačkové vložky může být nutné otočit klíčem, aby se vačka skryla. Jemně táhněte vložku s vloženým klíčem, dokud nenajdete polohu, ve které je vačka zcela skrytá. |
4. Změřte stávající vložku a zapište si rozměry:
![]() |
|
| A (vnitřní)Od vnitřního konce vložky ke středu otvoru pro upevňovací šroub. |
B (vnější)Od vnějšího konce vložky ke středu otvoru pro upevňovací šroub. |
KROK 2: UPRAVTE NOVOU VLOŽKU
Modulární vložka GERDA EXXO je ve výchozím stavu dodávána s předem připevněnými moduly.
Pro dosažení shodné délky na obou stranách se stávající vložkou může být nutné moduly odebrat nebo přidat.
| Výchozí nové provedení vložky
|
|
| Vnitřní strana strana chytrého zámku 41 mm (1× distanční vložka 10 mm) |
Vnější strana strana klíče 37 mm (1× distanční vložka 6 mm) |
| ⚠️ Sestavte modulární vložku GERDA EXXO tak, aby co nejvíce odpovídala straně klíče (vnějšku) vaší staré vložky.
Při sestavování vnitřní části vložky mějte na paměti, o kolik stará vložka vyčnívala ze štítu — údaj naměřený v kroku 1.1. Zvolte požadovanou vnitřní délku, o něco delší nebo kratší, abyste dosáhli vyčnívání 2–6 mm (pro Tedee PRO) nebo 3–8 mm (pro Tedee GO(2)). |
1. Vyberte požadovanou kombinaci modulů pro obě strany vložky z dostupných konfigurací:
| Strana klíče | Strana chytrého zámku |
| 31 mm (bez distančních vložek) | 31 mm (bez distančních vložek) |
| 37 mm (1× 6 mm) | 37 mm (1× 6 mm) |
| 41 mm (1× 10 mm) | 41 mm (1× 10 mm) |
| 46 mm (1× 15 mm) | 46 mm (1× 15 mm) |
| 47 mm (1× 6 mm + 1× 10 mm) | 47 mm (1× 6 mm + 1× 10 mm) |
| 52 mm (1× 6 mm + 1× 15 mm) | 52 mm (1× 6 mm + 1× 15 mm) |
| 56 mm (1× 10 mm + 1× 15 mm) | 56 mm (1× 10 mm + 1× 15 mm) |
| 62 mm (1× 6 mm + 1× 10 mm + 1× 15 mm) | 62 mm (1× 6 mm + 1× 10 mm + 1× 15 mm) |
|
⚠️ Používejte pouze kombinace modulů z výše uvedené tabulky. Nenastavujte délky vložky delší než 62 mm na jakékoli straně. Kontaktujte [email protected], pokud vaše stará vložka tuto délku přesahuje. |
2. Připravte distanční vložky a odpovídající cívky pro připevnění k vložce.
|
⚠️ Každá distanční vložka má odpovídající cívku stejné velikosti. |
3. Rozpojte části vložky odstraněním čtyř svěrných šroubů z obou stran pomocí imbusového klíče.
|
⚠️ S volnými cívkami manipulujte opatrně, mohou vypadnout. |
4. Přidejte distanční vložky vložením odpovídajících cívek do modulu a spojte prvky dohromady.
|
⚠️ Ujistěte se, že je natočení kruhových prvků správně zarovnáno. |
5. Zajistěte vložku svěrnými šrouby pomocí imbusového klíče. Otáčejte po směru hodinových ručiček až do dotažení.
|
⚠️ Nezapomeňte zajistit čtyři svěrné šrouby na každém prvku. |
6. Proveďte závěrečnou kontrolu:
A. Ujistěte se, že vnější délka odpovídá vaší staré vložce.
B. Ujistěte se, že vnitřní délka zajišťuje vhodné vyčnívání ze štítu zámku: 2–6 mm pro Tedee PRO nebo 3–8 mm pro Tedee GO(2).
![]() |
![]() |
![]() |
![]() |
KROK 3: NAINSTALUJTE NOVOU VLOŽKU
1. Při výměně vačkové vložky otočte hřídelí vložky tak, aby se vačka zasunula do profilu vložky.
2. Vsuňte vložku do dveřního zámku.
|
⚠️ Ujistěte se, že jsou strany vložky správně přiřazeny k vnitřní a vnější straně vašich dveří. |
3. Upevněte upevňovací šroub, aby byla vložka v zámku zajištěna.
4. Proveďte závěrečnou kontrolu:
A. Ujistěte se, že vložka na vnitřní straně vyčnívá 2–6 mm nebo 3–8 mm podle toho, zda instalujete Tedee PRO nebo Tedee GO. V případě potřeby upravte pro správné zarovnání.
B. Otestujte klíč zvenčí jeho otočením doleva a doprava a ověřte, že se závory pohybují hladce.
Nyní jste připraveni nainstalovat chytrý zámek Tedee na novou vložku.
![]() |
![]() |
|
Při instalaci Tedee PRO Řiďte se návodem v krabici chytrého zámku. |
⚠️ Při instalaci Tedee GO(2)
Nacvakněte adaptér Tedee GO Bar z krabice s vložkou na drážkovanou hřídel vložky. Poté postupujte podle instalačního návodu v krabici chytrého zámku. |
TECHNICKÁ PODPORA
V případě potřeby kontaktujte tým podpory Tedee:
| Web
[www.tedee.com/support](http://www.tedee.com/support) Návody k dalším produktům Tedee [www.tedee.com/support/manuals](http://www.tedee.com/support/manuals) |
Telefon
(+48) 22 307 72 67 8:00 – 16:00 (CET) |
Poštovní adresa
Tedee Sp. z o.o. Karola Bohdanowicza 21/57 02-127 Varšava Polsko |
TECHNICKÉ INFORMACE
Modulární vložka GERDA EXXO SMART
| Kategorie | Vložka evropského profilu |
| Varianty | Vačka / Převod |
| Zabezpečení | Třída 6 podle PN-EN 1303:2015 |
| Výrobce | GERDA Sp. z o.o. Sokołów, ul. Sokołowska 49 05-806 Komorów, Polsko +48 (22) 329 10 30 www.gerda.com |
🇩🇰 Dansk
Modulær låsecylinder GERDA EXXO SMART
Installations- og brugsvejledning
INDHOLDSFORTEGNELSE
Forberedelse
- Kassens indhold
- Det skal du bruge
- Kodekort
Installation
- Trin 1: Forbered din dør og mål din gamle cylinder
- Trin 2: Justér din nye cylinder
- Trin 3: Installer din nye cylinder
Supportkontakt
Tekniske oplysninger
FORBEREDELSE
| ⚠️ Dette produkt er ikke legetøj og må ikke installeres, håndteres eller bruges af børn. Små dele, der følger med produktet, udgør en potentiel kvælningsfare og skal altid opbevares uden for børns rækkevidde.
ADVARSEL:
Manglende overholdelse af disse retningslinjer kan medføre alvorlig personskade. Producenten påtager sig intet ansvar for forkert brug eller installation foretaget af ikke-kvalificerede personer. |
KASSENS INDHOLD
| 1A. Kammodul / 1B. Gearmodul | 6. Akselmodul | 11. Unbrakonøgle (størrelse 1,5) |
| 2. Nøglemodul | 7. Cylinderaksel | 12. Afstandsbøsninger (15 mm, 15 mm, 10 mm, 6 mm) |
| 3. Afstandsstykke (6 mm) | 8. Afstandsbøsninger (10 mm, 6 mm) | 13. Nøgler (×5) |
| 4. Monteringsskruehul | 14. Nøglekort | |
| 5. Afstandsstykke (10 mm) | 10. Afstandsstykker (6, 10, 15, 15 mm) | 15. Tedee GO-adapter |
DET SKAL DU BRUGE
Phillips-skruetrækker (krydskærv) |
En lineal |
KODEKORT
Brug koden fra kortet, der er inkluderet i cylinderæsken, til at bestille ekstra nøgler hos autoriserede GERDA-låsesmede eller ved at sende en e-mail til [[email protected]](mailto:[email protected]).
|
⚠️ Vi anbefaler at tage et klart foto af din kode og opbevare det sikkert til fremtidig brug. |
Nøglekort
INSTALLATION
![]() |
![]() |
![]() |
|
TRIN 1 Forbered døren og mål den gamle cylinder. |
TRIN 2 Justér den nye cylinder. |
TRIN 3 Installer den nye cylinder. |
TRIN 1: FORBERED DIN DØR OG MÅL DIN GAMLE CYLINDER
1. Kontroller hvor meget din nuværende cylinder rager ud fra låseskiltet (på boligens indvendige side).
| ⚠️ Installation af Tedee PRO
Det sikre smartlåsfæste kræver, at cylinderen rager 2–6 mm ud fra låseskiltet. Hvis din nuværende cylinder rager mindre end 2 mm ud, skal du justere den nye modulære cylinder til en længere længde på smartlåssiden. Hvis din nuværende cylinder rager mere end 6 mm ud, skal du justere den nye modulære cylinder til en kortere længde på smartlåssiden. |
⚠️ Installation af Tedee GO(2)
Det sikre smartlåsfæste kræver, at cylinderen rager 3–8 mm ud fra låseskiltet. Hvis din nuværende cylinder rager mindre end 3 mm ud, skal du justere den nye modulære cylinder til en længere længde på smartlåssiden. Hvis din nuværende cylinder rager mere end 8 mm ud, skal du justere den nye modulære cylinder til en kortere længde på smartlåssiden. |
![]() |
![]() |
2. Fjern monteringsskruen fra dørlåsen, som fastholder den gamle cylinder, og gem den til installationen af den nye.
|
⚠️ Hvis du har en sikkerhedsdør med forstærket låseskilt, skal låseskiltet afmonteres, før cylinderen tages ud af låsen. |
3. Indsæt en nøgle i cylinderen, drej den let og træk forsigtigt for at fjerne den gamle cylinder fra dørlåsen.
|
⚠️ Ved udskiftning af en kamcylinder kan det være nødvendigt at dreje nøglen for at skjule kammen. Træk forsigtigt i cylinderen med nøglen isat for at finde den korrekte position, hvor kammen er helt skjult. |
4. Mål din nuværende cylinder og notér målene:
![]() |
|
| A (indvendig)Fra cylinderens indvendige ende til midten af monteringsskruehullet. |
B (udvendig)Fra cylinderens udvendige ende til midten af monteringsskruehullet. |
TRIN 2: JUSTÉR DIN NYE CYLINDER
Som standard leveres den modulære GERDA EXXO-cylinder med for-monterede moduler.
Du kan have behov for at fjerne eller tilføje moduler for at konfigurere længden på begge sider, så den matcher din nuværende cylinder.
| Standard ny cylinder
|
|
| Indvendig Smartlås-side 41 mm (1× 10 mm afstandsstykke) |
Udvendig Nøgleside 37 mm (1× 6 mm afstandsstykke) |
| ⚠️ Saml GERDA EXXO modulcylinderen, så den matcher nøglesiden (udvendigt) på din gamle cylinder så tæt som muligt.
Når du samler den indvendige del af cylinderen, skal du huske, hvor meget din gamle cylinder ragede ud fra låseskiltet — målet fra trin 1.1. Vælg den ønskede indvendige længde, enten lidt længere eller kortere, for at opnå en udstik på 2–6 mm (for Tedee PRO) eller 3–8 mm (for Tedee GO(2)). |
1. Vælg den ønskede modulkombination for begge cylindersider blandt de tilgængelige konfigurationer:
| Nøgleside | Smartlås-side |
| 31 mm (ingen afstandsstykker) | 31 mm (ingen afstandsstykker) |
| 37 mm (1× 6 mm) | 37 mm (1× 6 mm) |
| 41 mm (1× 10 mm) | 41 mm (1× 10 mm) |
| 46 mm (1× 15 mm) | 46 mm (1× 15 mm) |
| 47 mm (1× 6 mm + 1× 10 mm) | 47 mm (1× 6 mm + 1× 10 mm) |
| 52 mm (1× 6 mm + 1× 15 mm) | 52 mm (1× 6 mm + 1× 15 mm) |
| 56 mm (1× 10 mm + 1× 15 mm) | 56 mm (1× 10 mm + 1× 15 mm) |
| 62 mm (1× 6 mm + 1× 10 mm + 1× 15 mm) | 62 mm (1× 6 mm + 1× 10 mm + 1× 15 mm) |
|
⚠️ Brug kun modulkombinationer fra tabellen ovenfor. Konfigurér ikke cylinderlængder længere end 62 mm på nogen side. Kontakt [email protected], hvis din gamle cylinder overstiger denne længde. |
2. Forbered afstandsstykker og matchende bøsninger til montering på cylinderen.
|
⚠️ Hvert afstandsstykke har en tilsvarende bøsning i samme størrelse. |
3. Adskil cylinderelementerne ved at fjerne fire spændeskruer fra begge sider med unbrakonøglen.
|
⚠️ Håndtér løse bøsninger forsigtigt, da de kan falde ud. |
4. Tilføj afstandsstykker ved at indsætte de tilsvarende bøsninger i modulet og forbinde elementerne.
|
⚠️ Sørg for, at rotations-justeringen af de cirkulære elementer er korrekt. |
5. Sikr cylinderen med spændeskruerne ved hjælp af unbrakonøglen. Drej med uret, indtil der er spændt op.
|
⚠️ Husk at spænde fire spændeskruer på hvert element. |
6. Udfør en slutkontrol:
A. Sørg for, at den udvendige længde matcher din gamle cylinder.
B. Sørg for, at den indvendige længde giver et passende udstik fra låseskiltet: 2–6 mm for Tedee PRO eller 3–8 mm for Tedee GO(2).
![]() |
![]() |
![]() |
![]() |
TRIN 3: INSTALLER DIN NYE CYLINDER
1. Ved udskiftning af en kamcylinder drejes cylinderakslen for at trække kammen ind i cylinderprofilen.
2. Indsæt cylinderen i dørlåsen.
|
⚠️ Kontroller, at cylinderens sider er korrekt orienteret i forhold til hjemmets inderside og yderside. |
3. Fastgør monteringsskruen for at sikre cylinderen i dørlåsen.
4. Udfør en slutkontrol:
A. Sørg for, at cylinderen rager 2–6 mm eller 3–8 mm ud på indersiden, afhængigt af om du installerer Tedee PRO eller Tedee GO. Juster om nødvendigt for korrekt justering.
B. Test nøglen udefra ved at dreje den til venstre og højre for at sikre, at riglerne bevæger sig jævnt.
NU ER DU KLAR TIL AT MONTERE DIN TEDEE SMARTLÅS PÅ DEN NYE CYLINDER.
![]() |
![]() |
|
Ved installation af Tedee PRO Følg manualen fra smartlåseæsken. |
⚠️ Ved installation af Tedee GO(2)
Klik Tedee GO Bar-adapteren fra cylinderæsken på en riflet cylinderaksel. Følg derefter installationsmanualen fra smartlåseæsken. |
TEKNISK SUPPORT
For hjælp, kontakt Tedee Support-teamet:
| Websted
[www.tedee.com/support](http://www.tedee.com/support) Manualer til andre Tedee-produkter [www.tedee.com/support/manuals](http://www.tedee.com/support/manuals) |
Telefon
(+48) 22 307 72 67 8:00 – 16:00 (CET) |
Postadresse
Tedee Sp. z o.o. Karola Bohdanowicza 21/57 02-127 Warszawa Polen |
TEKNISKE OPLYSNINGER
Modulær låsecylinder GERDA EXXO SMART
| Kategori | Europrofil-cylinder |
| Varianter | Kam / Gear |
| Sikkerhed | Klasse 6 i henhold til PN-EN 1303:2015 |
| Producent | GERDA Sp. z o.o. Sokołów, ul. Sokołowska 49 05-806 Komorów, Polen +48 (22) 329 10 30 www.gerda.com |
🇩🇪 Deutsch
Modularer Zylinder GERDA EXXO SMART
Installations- und Bedienungsanleitung
INHALTSVERZEICHNIS
Vorbereitung
- Lieferumfang
- Was Sie benötigen
- Codekarte
Installation
- Schritt 1: Tür vorbereiten und alten Zylinder ausmessen
- Schritt 2: Neuen Zylinder anpassen
- Schritt 3: Neuen Zylinder montieren
Supportkontakt
Technische Informationen
VORBEREITUNG
| ⚠️ Dieses Produkt ist kein Spielzeug und darf nicht von Kindern installiert, gehandhabt oder benutzt werden. Kleine, mitgelieferte Teile stellen eine potenzielle Erstickungsgefahr dar und müssen stets außerhalb der Reichweite von Kindern aufbewahrt werden.
WARNHINWEIS:
Die Nichteinhaltung dieser Richtlinien kann zu schweren Verletzungen führen. Der Hersteller übernimmt keine Verantwortung für unsachgemäße Verwendung oder Installation durch nicht qualifizierte Personen. |
LIEFERUMFANG
| 1A. Nockenmodul / 1B. Getriebemodul | 6. Wellenmodul | 11. Inbusschlüssel (Größe 1,5) |
| 2. Schlüsselmodul | 7. Zylinderwelle | 12. Abstandshülsen (15 mm, 15 mm, 10 mm, 6 mm) |
| 3. Abstandshalter (6 mm) | 8. Abstandshülsen (10 mm, 6 mm) | 13. Schlüssel (×5) |
| 4. Bohrung für Befestigungsschraube | 14. Schlüsselkarte | |
| 5. Abstandshalter (10 mm) | 10. Abstandshalter (6, 10, 15, 15 mm) | 15. Tedee GO-Adapter |
WAS SIE BENÖTIGEN
Phillips-Schraubendreher (Kreuzschlitz) |
Lineal |
CODEKARTE
Verwenden Sie den Code auf der Karte in der Zylinderverpackung, um zusätzliche Schlüssel bei autorisierten GERDA-Schlüsseldiensten zu bestellen oder per E-Mail an [[email protected]](mailto:[email protected]).
|
⚠️ Wir empfehlen, ein klares Foto Ihres Codes zu machen und es für die spätere Verwendung sicher aufzubewahren. |
Schlüsselkarte
INSTALLATION
![]() |
![]() |
![]() |
|
SCHRITT 1 Bereiten Sie die Tür vor und messen Sie den alten Zylinder. |
SCHRITT 2 Passen Sie den neuen Zylinder an. |
SCHRITT 3 Montieren Sie den neuen Zylinder. |
SCHRITT 1: TÜR VORBEREITEN UND ALTEN ZYLINDER AUSMESSEN
1. Prüfen Sie, wie weit Ihr vorhandener Zylinder aus dem Schutzbeschlag herausragt (auf der Innenseite Ihrer Wohnung).
| ⚠️ Installation von Tedee PRO
Für die sichere Smartlock-Befestigung muss der Zylinder 2–6 mm aus dem Schutzbeschlag herausragen. Ragt Ihr vorhandener Zylinder weniger als 2 mm heraus, passen Sie den neuen modularen Zylinder auf der Smartlock-Seite länger an. Ragt Ihr vorhandener Zylinder mehr als 6 mm heraus, passen Sie den neuen modularen Zylinder auf der Smartlock-Seite kürzer an. |
⚠️ Installation von Tedee GO(2)
Für die sichere Smartlock-Befestigung muss der Zylinder 3–8 mm aus dem Schutzbeschlag herausragen. Ragt Ihr vorhandener Zylinder weniger als 3 mm heraus, passen Sie den neuen modularen Zylinder auf der Smartlock-Seite länger an. Ragt Ihr vorhandener Zylinder mehr als 8 mm heraus, passen Sie den neuen modularen Zylinder auf der Smartlock-Seite kürzer an. |
![]() |
![]() |
2. Entfernen Sie die Befestigungsschraube aus dem Türschloss, die den alten Zylinder fixiert, und bewahren Sie sie für die Montage des neuen Zylinders auf.
|
⚠️ Bei einer Hochsicherheitstür mit verstärktem Schutzbeschlag muss der Beschlag demontiert werden, bevor der Zylinder aus dem Schloss entfernt wird. |
3. Stecken Sie einen Schlüssel in den Zylinder, drehen Sie ihn leicht und ziehen Sie vorsichtig, um den alten Zylinder aus dem Türschloss zu entfernen.
|
⚠️ Beim Austausch eines Nockenzylinders kann es erforderlich sein, den Schlüssel zu drehen, um die Nocke einzuziehen. Ziehen Sie den Zylinder mit eingesetztem Schlüssel vorsichtig heraus, bis die Position erreicht ist, in der die Nocke vollständig verborgen ist. |
4. Messen Sie Ihren vorhandenen Zylinder und notieren Sie die Maße:
![]() |
|
| A (innen)Vom inneren Zylinderende bis zur Mitte der Bohrung für die Befestigungsschraube. |
B (außen)Vom äußeren Zylinderende bis zur Mitte der Bohrung für die Befestigungsschraube. |
SCHRITT 2: NEUEN ZYLINDER ANPASSEN
Standardmäßig wird der modulare GERDA EXXO-Zylinder mit vormontierten Modulen geliefert.
Gegebenenfalls müssen Module entfernt oder hinzugefügt werden, um die Länge auf beiden Seiten so zu konfigurieren, dass sie Ihrem vorhandenen Zylinder entspricht.
| Standardkonfiguration des neuen Zylinders
|
|
| Innenseite Smartlock-Seite 41 mm (1× Abstandshalter 10 mm) |
Außenseite Schlüsselseite 37 mm (1× Abstandshalter 6 mm) |
| ⚠️ Montieren Sie den modularen GERDA EXXO-Zylinder so, dass er möglichst genau der Schlüsselseite (außen) Ihres alten Zylinders entspricht.
Berücksichtigen Sie bei der Montage der Innenseite, wie weit Ihr alter Zylinder aus dem Beschlag herausragte — das in Schritt 1.1 ermittelte Maß. Wählen Sie die gewünschte Innenlänge, etwas länger oder kürzer, um einen Überstand von 2–6 mm (für Tedee PRO) bzw. 3–8 mm (für Tedee GO(2)) zu erreichen. |
1. Wählen Sie die gewünschte Modulkombination für beide Zylinderseiten aus den verfügbaren Konfigurationen:
| Schlüsselseite | Smartlock-Seite |
| 31 mm (keine Abstandshalter) | 31 mm (keine Abstandshalter) |
| 37 mm (1× 6 mm) | 37 mm (1× 6 mm) |
| 41 mm (1× 10 mm) | 41 mm (1× 10 mm) |
| 46 mm (1× 15 mm) | 46 mm (1× 15 mm) |
| 47 mm (1× 6 mm + 1× 10 mm) | 47 mm (1× 6 mm + 1× 10 mm) |
| 52 mm (1× 6 mm + 1× 15 mm) | 52 mm (1× 6 mm + 1× 15 mm) |
| 56 mm (1× 10 mm + 1× 15 mm) | 56 mm (1× 10 mm + 1× 15 mm) |
| 62 mm (1× 6 mm + 1× 10 mm + 1× 15 mm) | 62 mm (1× 6 mm + 1× 10 mm + 1× 15 mm) |
|
⚠️ Verwenden Sie nur Modulkombinationen aus der obigen Tabelle. Konfigurieren Sie keine Zylinderlängen von mehr als 62 mm auf einer Seite. Kontaktieren Sie [email protected], wenn Ihr alter Zylinder diese Länge überschreitet. |
2. Bereiten Sie Abstandshalter und passende Hülsen zur Montage am Zylinder vor.
|
⚠️ Jeder Abstandshalter hat eine passende Hülse in derselben Größe. |
3. Trennen Sie Zylinderkomponenten, indem Sie auf beiden Seiten die vier Klemmschrauben mit dem Inbusschlüssel entfernen.
|
⚠️ Gehen Sie mit losen Hülsen vorsichtig um – sie können herausfallen. |
4. Fügen Sie Abstandshalter hinzu, indem Sie die entsprechenden Hülsen in das Modul einsetzen und die Elemente verbinden.
|
⚠️ Achten Sie darauf, dass die Rotationsausrichtung der runden Elemente korrekt ist. |
5. Sichern Sie den Zylinder mit den Klemmschrauben mithilfe des Inbusschlüssels. Im Uhrzeigersinn drehen, bis fest angezogen.
|
⚠️ Denken Sie daran, vier Klemmschrauben an jedem Element zu sichern. |
6. Führen Sie eine Abschlussprüfung durch:
A. Stellen Sie sicher, dass die Außenlänge Ihrem alten Zylinder entspricht.
B. Stellen Sie sicher, dass die Innenlänge einen geeigneten Überstand vom Schutzbeschlag bietet: 2–6 mm für Tedee PRO oder 3–8 mm für Tedee GO(2).
![]() |
![]() |
![]() |
![]() |
SCHRITT 3: NEUEN ZYLINDER MONTIEREN
1. Beim Austausch eines Nockenzylinders drehen Sie die Zylinderwelle, um die Nocke in das Zylinderprofil einzuziehen.
2. Setzen Sie den Zylinder in das Türschloss ein.
|
⚠️ Achten Sie darauf, dass die Zylinderseiten korrekt der Innen- bzw. Außenseite Ihrer Wohnung zugeordnet sind. |
3. Ziehen Sie die Befestigungsschraube an, um den Zylinder im Türschloss zu fixieren.
4. Führen Sie eine Abschlussprüfung durch:
A. Stellen Sie sicher, dass der Zylinder innen zwischen 2–6 mm bzw. 3–8 mm herausragt, je nachdem, ob Sie Tedee PRO oder Tedee GO installieren. Bei Bedarf zur korrekten Ausrichtung anpassen.
B. Testen Sie den Schlüssel von außen, indem Sie ihn nach links und rechts drehen, um sicherzustellen, dass die Riegel sich leichtgängig bewegen.
JETZT KÖNNEN SIE IHR TEDEE SMARTLOCK AUF DEM NEUEN ZYLINDER INSTALLIEREN.
![]() |
![]() |
|
Bei der Installation von Tedee PRO Folgen Sie der Anleitung aus der Smartlock-Verpackung. |
⚠️ Bei der Installation von Tedee GO(2)
Clippen Sie den Tedee GO Bar-Adapter aus der Zylinderbox auf eine geschlitzte Zylinderwelle. Anschließend der Installationsanleitung aus der Smartlock-Verpackung folgen. |
TECHNISCHER SUPPORT
Für Unterstützung kontaktieren Sie das Tedee Support-Team:
| Webseite
[www.tedee.com/support](http://www.tedee.com/support) Anleitungen für weitere Tedee-Produkte [www.tedee.com/support/manuals](http://www.tedee.com/support/manuals) |
Telefon
(+48) 22 307 72 67 8:00 – 16:00 (CET) |
Postanschrift
Tedee Sp. z o.o. Karola Bohdanowicza 21/57 02-127 Warschau Polen |
TECHNISCHE INFORMATIONEN
Modularer Zylinder GERDA EXXO SMART
| Kategorie | Europrofilzylinder |
| Varianten | Nocke / Getriebe |
| Sicherheit | Klasse 6 gemäß PN-EN 1303:2015 |
| Hersteller | GERDA Sp. z o.o. Sokołów, ul. Sokołowska 49 05-806 Komorów, Polen +48 (22) 329 10 30 www.gerda.com |
🇬🇷 Ελληνικά
Αρθρωτός κύλινδρος GERDA EXXO SMART
Εγχειρίδιο εγκατάστασης και χρήσης
ΠΕΡΙΕΧΟΜΕΝΑ
Προετοιμασία
- Περιεχόμενα συσκευασίας
- Τι θα χρειαστείτε
- Κάρτα κωδικού
Εγκατάσταση
- Βήμα 1: Προετοιμάστε την πόρτα και μετρήστε τον παλιό σας κύλινδρο
- Βήμα 2: Ρυθμίστε τον νέο σας κύλινδρο
- Βήμα 3: Εγκαταστήστε τον νέο σας κύλινδρο
Επικοινωνία υποστήριξης
Τεχνικές πληροφορίες
ΠΡΟΕΤΟΙΜΑΣΙΑ
| ⚠️ Το προϊόν αυτό δεν είναι παιχνίδι και δεν πρέπει να εγκαθίσταται, να χειρίζεται ή να χρησιμοποιείται από παιδιά. Τα μικρά μέρη που περιλαμβάνονται αποτελούν πιθανό κίνδυνο πνιγμού και πρέπει να φυλάσσονται πάντοτε μακριά από παιδιά.
ΠΡΟΕΙΔΟΠΟΙΗΣΗ:
Η μη τήρηση των οδηγιών αυτών μπορεί να προκαλέσει σοβαρό τραυματισμό. Ο κατασκευαστής δεν φέρει ευθύνη για ακατάλληλη χρήση ή εγκατάσταση από μη εξειδικευμένα άτομα. |
ΠΕΡΙΕΧΟΜΕΝΑ ΣΥΣΚΕΥΑΣΙΑΣ
| 1A. Μονάδα έκκεντρου (cam) / 1B. Μονάδα γραναζιού | 6. Μονάδα άξονα | 11. Κλειδί Allen (μέγεθος 1,5) |
| 2. Μονάδα κλειδιού | 7. Άξονας κυλίνδρου | 12. Μανίκια αποστατών (15 mm, 15 mm, 10 mm, 6 mm) |
| 3. Αποστάτης (6 mm) | 8. Μανίκια αποστατών (10 mm, 6 mm) | 13. Κλειδιά (×5) |
| 4. Οπή βίδας στερέωσης | 14. Κάρτα κλειδιού | |
| 5. Αποστάτης (10 mm) | 10. Αποστάτες (6, 10, 15, 15 mm) | 15. Προσαρμογέας Tedee GO |
ΤΙ ΘΑ ΧΡΕΙΑΣΤΕΙΤΕ
Κατσαβίδι Phillips (σταυροκατσάβιδο) |
Χάρακας |
ΚΑΡΤΑ ΚΩΔΙΚΟΥ
Χρησιμοποιήστε τον κωδικό από την κάρτα που περιλαμβάνεται στη συσκευασία του κυλίνδρου για να παραγγείλετε επιπλέον κλειδιά από εξουσιοδοτημένους κλειθροποιούς της GERDA ή με email στο [[email protected]](mailto:[email protected]).
|
⚠️ Συνιστούμε να τραβήξετε μια καθαρή φωτογραφία του κωδικού σας και να τη φυλάξετε με ασφάλεια για μελλοντική χρήση. |
Κάρτα κλειδιού
ΕΓΚΑΤΑΣΤΑΣΗ
![]() |
![]() |
![]() |
|
ΒΗΜΑ 1 Προετοιμάστε την πόρτα και μετρήστε τον παλιό κύλινδρο. |
ΒΗΜΑ 2 Ρυθμίστε τον νέο κύλινδρο. |
ΒΗΜΑ 3 Εγκαταστήστε τον νέο κύλινδρο. |
ΒΗΜΑ 1: ΠΡΟΕΤΟΙΜΑΣΤΕ ΤΗΝ ΠΟΡΤΑ ΚΑΙ ΜΕΤΡΗΣΤΕ ΤΟΝ ΠΑΛΙΟ ΣΑΣ ΚΥΛΙΝΔΡΟ
1. Ελέγξτε πόσο προεξέχει ο υπάρχων κύλινδρος από τη ροζέτα της κλειδαριάς (στην εσωτερική πλευρά του διαμερίσματός σας).
| ⚠️ Εγκατάσταση Tedee PRO
Η ασφαλής βάση της έξυπνης κλειδαριάς απαιτεί ο κύλινδρος να προεξέχει 2–6 mm από τη ροζέτα. Αν ο υπάρχων κύλινδρος προεξέχει λιγότερο από 2 mm, ρυθμίστε τον νέο αρθρωτό κύλινδρο σε μεγαλύτερο μήκος στην πλευρά της έξυπνης κλειδαριάς. Αν ο υπάρχων κύλινδρος προεξέχει περισσότερο από 6 mm, ρυθμίστε τον νέο αρθρωτό κύλινδρο σε μικρότερο μήκος στην πλευρά της έξυπνης κλειδαριάς. |
⚠️ Εγκατάσταση Tedee GO(2)
Η ασφαλής βάση της έξυπνης κλειδαριάς απαιτεί ο κύλινδρος να προεξέχει 3–8 mm από τη ροζέτα. Αν ο υπάρχων κύλινδρος προεξέχει λιγότερο από 3 mm, ρυθμίστε τον νέο αρθρωτό κύλινδρο σε μεγαλύτερο μήκος στην πλευρά της έξυπνης κλειδαριάς. Αν ο υπάρχων κύλινδρος προεξέχει περισσότερο από 8 mm, ρυθμίστε τον νέο αρθρωτό κύλινδρο σε μικρότερο μήκος στην πλευρά της έξυπνης κλειδαριάς. |
![]() |
![]() |
2. Αφαιρέστε τη βίδα στερέωσης από την κλειδαριά της πόρτας που συγκρατεί τον παλιό κύλινδρο και κρατήστε τη για την εγκατάσταση του νέου.
|
⚠️ Αν διαθέτετε θύρα υψηλής ασφάλειας με ενισχυμένη ροζέτα κλειδαριάς, αποσυναρμολογήστε τη ροζέτα πριν αφαιρέσετε τον κύλινδρο από την κλειδαριά. |
3. Εισαγάγετε ένα κλειδί στον κύλινδρο, περιστρέψτε το ελαφρά και τραβήξτε απαλά ώστε να αφαιρέσετε τον παλιό κύλινδρο από την κλειδαριά της πόρτας.
|
⚠️ Κατά την αντικατάσταση κυλίνδρου με έκκεντρο (cam), ίσως χρειαστεί να γυρίσετε το κλειδί ώστε να «κρυφτεί» το έκκεντρο. Τραβήξτε απαλά τον κύλινδρο με το κλειδί τοποθετημένο μέχρι να βρείτε τη σωστή θέση όπου το έκκεντρο είναι πλήρως κρυμμένο. |
4. Μετρήστε τον υπάρχοντα κύλινδρο και σημειώστε τις διαστάσεις:
![]() |
|
| A (εσωτερικό)Από το εσωτερικό άκρο του κυλίνδρου έως το κέντρο της οπής της βίδας στερέωσης. |
B (εξωτερικό)Από το εξωτερικό άκρο του κυλίνδρου έως το κέντρο της οπής της βίδας στερέωσης. |
ΒΗΜΑ 2: ΡΥΘΜΙΣΤΕ ΤΟΝ ΝΕΟ ΣΑΣ ΚΥΛΙΝΔΡΟ
Από προεπιλογή, ο αρθρωτός κύλινδρος GERDA EXXO παρέχεται με προσαρτημένες μονάδες.
Ίσως χρειαστεί να αφαιρέσετε ή να προσθέσετε μονάδες ώστε να ρυθμίσετε το μήκος και στις δύο πλευρές ώστε να ταιριάζει με τον υπάρχοντα κύλινδρο.
| Προεπιλεγμένος νέος κύλινδρος
|
|
| Εσωτερικό Πλευρά έξυπνης κλειδαριάς 41 mm (1× αποστάτης 10 mm) |
Εξωτερικό Πλευρά κλειδιού 37 mm (1× αποστάτης 6 mm) |
| ⚠️ Συναρμολογήστε τον αρθρωτό κύλινδρο GERDA EXXO ώστε να ταιριάζει όσο το δυνατόν περισσότερο με την πλευρά του κλειδιού (εξωτερική) του παλιού σας κυλίνδρου.
Κατά τη συναρμολόγηση του εσωτερικού μέρους, λάβετε υπόψη πόσο προεξείχε ο παλιός κύλινδρος από τη ροζέτα — η μέτρηση του Βήματος 1.1. Επιλέξτε το επιθυμητό εσωτερικό μήκος, λίγο μεγαλύτερο ή μικρότερο, ώστε να επιτύχετε προεξοχή 2–6 mm (για Tedee PRO) ή 3–8 mm (για Tedee GO(2)). |
1. Επιλέξτε τον επιθυμητό συνδυασμό μονάδων για τις δύο πλευρές του κυλίνδρου από τις διαθέσιμες διαμορφώσεις:
| Πλευρά κλειδιού | Πλευρά έξυπνης κλειδαριάς |
| 31 mm (χωρίς αποστάτες) | 31 mm (χωρίς αποστάτες) |
| 37 mm (1× 6 mm) | 37 mm (1× 6 mm) |
| 41 mm (1× 10 mm) | 41 mm (1× 10 mm) |
| 46 mm (1× 15 mm) | 46 mm (1× 15 mm) |
| 47 mm (1× 6 mm + 1× 10 mm) | 47 mm (1× 6 mm + 1× 10 mm) |
| 52 mm (1× 6 mm + 1× 15 mm) | 52 mm (1× 6 mm + 1× 15 mm) |
| 56 mm (1× 10 mm + 1× 15 mm) | 56 mm (1× 10 mm + 1× 15 mm) |
| 62 mm (1× 6 mm + 1× 10 mm + 1× 15 mm) | 62 mm (1× 6 mm + 1× 10 mm + 1× 15 mm) |
|
⚠️ Χρησιμοποιείτε μόνο συνδυασμούς μονάδων από τον παραπάνω πίνακα. Μην ρυθμίζετε μήκη κυλίνδρου μεγαλύτερα από 62 mm σε οποιαδήποτε πλευρά. Επικοινωνήστε με το [email protected] αν ο παλιός σας κύλινδρος υπερβαίνει αυτό το μήκος. |
2. Προετοιμάστε τους αποστάτες και τα αντίστοιχα μανίκια για στερέωση στον κύλινδρο.
|
⚠️ Κάθε αποστάτης έχει μανίκι αντίστοιχου μεγέθους. |
3. Αποσυνδέστε τα στοιχεία του κυλίνδρου αφαιρώντας τέσσερις βίδες σύσφιξης και από τις δύο πλευρές με το κλειδί Allen.
|
⚠️ Χειριστείτε προσεκτικά τα χαλαρά μανίκια, καθώς μπορεί να πέσουν. |
4. Προσθέστε αποστάτες εισάγοντας τα αντίστοιχα μανίκια στη μονάδα και ενώνοντας τα στοιχεία.
|
⚠️ Βεβαιωθείτε ότι η ευθυγράμμιση περιστροφής των κυκλικών στοιχείων είναι σωστή. |
5. Ασφαλίστε τον κύλινδρο με τις βίδες σύσφιξης χρησιμοποιώντας το κλειδί Allen. Περιστρέψτε δεξιόστροφα μέχρι να σφίξουν.
|
⚠️ Θυμηθείτε να σφίξετε τέσσερις βίδες σύσφιξης σε κάθε στοιχείο. |
6. Πραγματοποιήστε τελικό έλεγχο:
A. Βεβαιωθείτε ότι το εξωτερικό μήκος ταιριάζει με τον παλιό σας κύλινδρο.
B. Βεβαιωθείτε ότι το εσωτερικό μήκος παρέχει κατάλληλη προεξοχή από τη ροζέτα: 2–6 mm για Tedee PRO ή 3–8 mm για Tedee GO(2).
![]() |
![]() |
![]() |
![]() |
ΒΗΜΑ 3: ΕΓΚΑΤΑΣΤΗΣΤΕ ΤΟΝ ΝΕΟ ΣΑΣ ΚΥΛΙΝΔΡΟ
1. Κατά την αντικατάσταση κυλίνδρου με έκκεντρο, περιστρέψτε τον άξονα του κυλίνδρου ώστε να εισέλθει το έκκεντρο στο προφίλ του κυλίνδρου.
2. Εισαγάγετε τον κύλινδρο στην κλειδαριά της πόρτας.
|
⚠️ Βεβαιωθείτε ότι οι πλευρές του κυλίνδρου είναι σωστά προσανατολισμένες προς το εσωτερικό και το εξωτερικό του διαμερίσματός σας. |
3. Βιδώστε τη βίδα στερέωσης για να ασφαλίσετε τον κύλινδρο στην κλειδαριά.
4. Πραγματοποιήστε τελικό έλεγχο:
A. Βεβαιωθείτε ότι ο κύλινδρος προεξέχει εσωτερικά 2–6 mm ή 3–8 mm, ανάλογα με το αν εγκαθιστάτε Tedee PRO ή Tedee GO. Ρυθμίστε εάν χρειάζεται για σωστή ευθυγράμμιση.
B. Δοκιμάστε το κλειδί από την εξωτερική πλευρά, περιστρέφοντάς το αριστερά και δεξιά, ώστε να βεβαιωθείτε ότι τα μπουλόνια κινούνται ομαλά.
ΤΩΡΑ ΕΙΣΤΕ ΕΤΟΙΜΟΙ ΝΑ ΕΓΚΑΤΑΣΤΗΣΕΤΕ ΤΗΝ ΕΞΥΠΝΗ ΚΛΕΙΔΑΡΙΑ TEDEE ΣΤΟΝ ΝΕΟ ΚΥΛΙΝΔΡΟ.
![]() |
![]() |
|
Κατά την εγκατάσταση του Tedee PRO Ακολουθήστε το εγχειρίδιο που περιλαμβάνεται στη συσκευασία της έξυπνης κλειδαριάς. |
⚠️ Κατά την εγκατάσταση του Tedee GO(2)
Τοποθετήστε τον προσαρμογέα Tedee GO Bar από τη συσκευασία του κυλίνδρου πάνω σε αυλακωτό άξονα κυλίνδρου. Στη συνέχεια, ακολουθήστε το εγχειρίδιο εγκατάστασης από τη συσκευασία της έξυπνης κλειδαριάς. |
ΤΕΧΝΙΚΗ ΥΠΟΣΤΗΡΙΞΗ
Για βοήθεια, επικοινωνήστε με την ομάδα υποστήριξης της Tedee:
| Ιστότοπος
[www.tedee.com/support](http://www.tedee.com/support) Εγχειρίδια άλλων προϊόντων Tedee [www.tedee.com/support/manuals](http://www.tedee.com/support/manuals) |
Τηλέφωνο
(+48) 22 307 72 67 8:00 – 16:00 (CET) |
Ταχυδρομική διεύθυνση
Tedee Sp. z o.o. Karola Bohdanowicza 21/57 02-127 Βαρσοβία Πολωνία |
ΤΕΧΝΙΚΕΣ ΠΛΗΡΟΦΟΡΙΕΣ
Αρθρωτός κύλινδρος GERDA EXXO SMART
| Κατηγορία | Κύλινδρος ευρωπαϊκού προφίλ |
| Παραλλαγές | Έκκεντρο / Γρανάζι |
| Ασφάλεια | Κλάση 6 σύμφωνα με το PN-EN 1303:2015 |
| Κατασκευαστής | GERDA Sp. z o.o. Sokołów, ul. Sokołowska 49 05-806 Komorów, Πολωνία +48 (22) 329 10 30 www.gerda.com |
🇬🇧 English
GERDA EXXO SMART Modular Cylinder
Installation and Use Manual
TABLE OF CONTENTS
Preparation
- Box Contents
- What You Need
- Code Card
Installation
- Step 1: Prepare Your Door and Measure Your Old Cylinder
- Step 2: Adjust Your New Cylinder
- Step 3: Install Your New Cylinder
Support Contact
Technical Information
PREPARATION
| ⚠️ This product is not a toy and must not be installed, handled, or used by children. Small parts included with the product pose a potential choking hazard and must be kept out of reach of children at all times.
WARNING:
Failure to adhere to these guidelines may result in serious injury. The manufacturer assumes no responsibility for improper use or installation by unqualified individuals. |
BOX CONTENTS
| 1A. Cam module / 1B. Gear module | 6. Shaft module | 11. Allen key (size 1.5) |
| 2. Key module | 7. Cylinder shaft | 12. Spacer spools (15mm, 15mm, 10mm, 6mm) |
| 3. Spacer (6mm) | 8. Spacer spools (10mm, 6mm) | 13. Keys (x5) |
| 4. Mounting screw socket | 14. Key card | |
| 5. Spacer (10mm) | 10. Spacers (6, 10, 15, 15mm) | 15. Tedee GO Adapter |
WHAT YOU NEED
Phillips screwdriver |
A ruler |
CODE CARD
Use the code from the card included in the cylinder box to order extra keys from authorized GERDA locksmiths or by emailing [email protected].
|
⚠️ We recommend taking a clear photo of your code and storing it securely for future use. |
Key Card
INSTALLATION
![]() |
![]() |
![]() |
|
STEP 1 Prepare your door and measure your old cylinder. |
STEP 2 Adjust your new cylinder. |
STEP 3 Install your new cylinder. |
STEP 1: PREPARE YOUR DOOR AND MEASURE YOUR OLD CYLINDER
1. Check how far your existing cylinder protrudes from the lock escutcheon (on the interior side of your apartment).
| ⚠️ Installing Tedee PRO
The secure smart lock mount requires the cylinder to protrude 2–6mm from the lock escutcheon. If your existing cylinder protrudes less than 2mm, adjust the new modular cylinder for a longer length on the smart lock side. If your existing cylinder protrudes more than 6mm, adjust the new modular cylinder for a shorter length on the smart lock side. |
⚠️ Installing Tedee GO(2)
The secure smart lock mount requires the cylinder to protrude 3–8mm from the lock escutcheon. If your existing cylinder protrudes less than 3mm, adjust the new modular cylinder for a longer length on the smart lock side. If your existing cylinder protrudes more than 8mm, adjust the new modular cylinder for a shorter length on the smart lock side. |
![]() |
![]() |
2. Remove the mounting screw from your door lock that secures the old cylinder, and keep it for the installation of the new one.
|
⚠️ If you have a high-security door with a reinforced lock escutcheon, disassemble the escutcheon before removing the cylinder from the lock. |
3. Insert a key into the cylinder, rotate it slightly, and gently pull to remove the old cylinder from the door lock.
|
⚠️ When replacing a cam cylinder, you may need to turn the key to hide the cam. Gently pull the cylinder with the key inserted to find the correct position where the cam is fully hidden. |
4. Measure your existing cylinder and write down the dimensions:
![]() |
|
| A (inside)From the inside end of the cylinder to the center of the mounting screw socket. |
B (outside)From the outside end of the cylinder to the center of the mounting screw socket. |
STEP 2: ADJUST YOUR NEW CYLINDER
By default, the GERDA EXXO Modular Cylinder comes with pre-attached modules.
You may need to remove or add modules to configure the length on both sides to match your existing cylinder.
| Default new cylinder
|
|
| Inside Smart lock side41mm (1x10mm spacer) |
Outside Key side37mm (1x6mm spacer) |
| ⚠️ Assemble the GERDA EXXO Modular Cylinder to match the key side (outside) of your old cylinder as closely as possible.
When assembling the inside part of the cylinder, keep in mind how much your old cylinder protruded from the escutcheon—the measurement taken in Step 1.1. Choose the desired inside length, either slightly longer or shorter, to achieve a cylinder protrusion of 2-6mm (for Tedee PRO) or 3-8mm (for Tedee GO(2)). |
1. Choose the desired module combination for both cylinder sides from the available configurations:
| Key side | Smart lock side |
| 31mm (no spacers) | 31mm (no spacers) |
| 37mm (1x6mm) | 37mm (1x6mm) |
| 41mm (1x10mm) | 41mm (1x10mm) |
| 46mm (1x15mm) | 46mm (1x15mm) |
| 47mm (1x6mm + 1x10mm) | 47mm (1x6mm + 1x10mm) |
| 52mm (1x6mm + 1x15mm) | 52mm (1x6mm + 1x15mm) |
| 56mm (1x10mm + 1x15mm) | 56mm (1x10mm + 1x15mm) |
| 62mm (1x6mm + 1x10mm + 1x15mm) | 62mm (1x6mm + 1x10mm + 1x15mm) |
|
⚠️ Only use module combinations from the table above. Do not configure cylinder lengths longer than 62mm on any side. Contact [email protected] if your old cylinder exceeds this length. |
2. Prepare spacers and matching spools to attach to the cylinder.
|
⚠️ Each spacer has a correspondingly sized spool. |
3. Detach cylinder elements by removing four clamping screws from both sides using the Allen key.
|
⚠️ Handle loose spools carefully, as they may fall out. |
4. Add spacers by inserting corresponding spools into the module and connecting the elements.
|
⚠️ Ensure that the rotation alignment of the circular elements is correct. |
5. Secure the cylinder with clamping screws using the Allen key. Rotate clockwise until tightened.
|
⚠️ Remember to secure four clamping screws on each element. |
6. Perform a final check:
A. Ensure the outside length matches your old cylinder.
B. Ensure the inside length provides a suitable protrusion from the lock escutcheon: 2-6mm for Tedee PRO or 3-8mm for Tedee GO(2).
![]() |
![]() |
![]() |
![]() |
STEP 3: INSTALL YOUR NEW CYLINDER
1. When replacing a cam cylinder, rotate the cylinder shaft to retract the cam into the cylinder profile.
2. Insert the cylinder into the door lock.
|
⚠️ Ensure the cylinder’s sides are correctly aligned with the inside and outside of your apartment. |
3. Fix the mounting screw to secure the cylinder in the door lock.
4. Perform a final check:
A. Ensure the cylinder protrudes between 2-6mm or 3-8mm on the inside, depending on whether you’re installing Tedee PRO or Tedee GO. Adjust as needed for proper alignment.
B. Test the key from the outside by rotating it left and right to ensure the bolts move smoothly.
NOW YOU’RE READY TO INSTALL YOUR TEDEE SMART LOCK ON THE NEW CYLINDER.
![]() |
![]() |
|
When installing Tedee PRO Follow the manual from the smart lock box. |
⚠️ When installing Tedee GO(2)
Clip on the Tedee GO Bar adapter from the cylinder box onto a slotted cylinder shaft. Then, follow the installation manual from the smart lock box. |
TECHNICAL SUPPORT
For assistance, contact the Tedee Support Team:
| Website
Manuals of other Tedee products |
Telephone
(+48) 22 307 72 67 8:00 – 16:00 (CET) |
Mail
Tedee Sp. z o.o. Karola Bohdanowicza 21/57 02-127 Warsaw Poland |
TECHNICAL INFORMATION
GERDA EXXO SMART Modular Cylinder
| Category | Euro profile cylinder |
| Variants | Cam / Gear |
| Security | Class 6 according to PN-EN 1303:2015 |
| Manufacturer | GERDA Sp. z o.o. Sokołów, ul. Sokołowska 49 05-806 Komorów, Poland +48 (22) 329 10 30 www.gerda.com |
🇪🇸 Español
Cilindro modular GERDA EXXO SMART
Manual de instalación y uso
ÍNDICE
Preparación
- Contenido de la caja
- Qué necesitas
- Tarjeta de código
Instalación
- Paso 1: Prepara tu puerta y mide tu cilindro antiguo
- Paso 2: Ajusta tu cilindro nuevo
- Paso 3: Instala tu cilindro nuevo
Contacto de soporte
Información técnica
PREPARACIÓN
| ⚠️ Este producto no es un juguete y no debe ser instalado, manipulado ni utilizado por niños. Las piezas pequeñas incluidas con el producto suponen un posible riesgo de asfixia y deben mantenerse siempre fuera del alcance de los niños.
ADVERTENCIA:
El incumplimiento de estas indicaciones puede provocar lesiones graves. El fabricante no asume responsabilidad por el uso indebido ni por la instalación realizada por personas no cualificadas. |
CONTENIDO DE LA CAJA
| 1A. Módulo de leva / 1B. Módulo de engranajes | 6. Módulo de eje | 11. Llave Allen (tamaño 1,5) |
| 2. Módulo de llave | 7. Eje del cilindro | 12. Casquillos separadores (15 mm, 15 mm, 10 mm, 6 mm) |
| 3. Separador (6 mm) | 8. Casquillos separadores (10 mm, 6 mm) | 13. Llaves (×5) |
| 4. Orificio del tornillo de fijación | 14. Tarjeta de llave | |
| 5. Separador (10 mm) | 10. Separadores (6, 10, 15, 15 mm) | 15. Adaptador Tedee GO |
QUÉ NECESITAS
Destornillador Phillips (cruciforme) |
Una regla |
TARJETA DE CÓDIGO
Usa el código de la tarjeta incluida en la caja del cilindro para pedir llaves adicionales a cerrajeros autorizados de GERDA o escribiendo a [[email protected]](mailto:[email protected]).
|
⚠️ Recomendamos tomar una foto nítida de tu código y guardarla de forma segura para uso futuro. |
Tarjeta de llave
INSTALACIÓN
![]() |
![]() |
![]() |
|
PASO 1 Prepara tu puerta y mide tu cilindro antiguo. |
PASO 2 Ajusta tu cilindro nuevo. |
PASO 3 Instala tu cilindro nuevo. |
PASO 1: PREPARA TU PUERTA Y MIDE TU CILINDRO ANTIGUO
1. Comprueba cuánto sobresale tu cilindro actual del escudo de la cerradura (en el lado interior de tu vivienda).
| ⚠️ Instalación de Tedee PRO
El anclaje seguro de la cerradura inteligente requiere que el cilindro sobresalga 2–6 mm del escudo de la cerradura. Si tu cilindro actual sobresale menos de 2 mm, ajusta el nuevo cilindro modular a una longitud mayor en el lado de la cerradura inteligente. Si tu cilindro actual sobresale más de 6 mm, ajusta el nuevo cilindro modular a una longitud menor en el lado de la cerradura inteligente. |
⚠️ Instalación de Tedee GO(2)
El anclaje seguro de la cerradura inteligente requiere que el cilindro sobresalga 3–8 mm del escudo de la cerradura. Si tu cilindro actual sobresale menos de 3 mm, ajusta el nuevo cilindro modular a una longitud mayor en el lado de la cerradura inteligente. Si tu cilindro actual sobresale más de 8 mm, ajusta el nuevo cilindro modular a una longitud menor en el lado de la cerradura inteligente. |
![]() |
![]() |
2. Retira el tornillo de fijación del cerrojo de la puerta que sujeta el cilindro antiguo y consérvalo para instalar el nuevo.
|
⚠️ Si tienes una puerta de alta seguridad con escudo reforzado, desmonta el escudo antes de extraer el cilindro de la cerradura. |
3. Introduce una llave en el cilindro, gírala ligeramente y tira suavemente para retirar el cilindro antiguo del cerrojo de la puerta.
|
⚠️ Al sustituir un cilindro de leva, puede que necesites girar la llave para «ocultar» la leva. Tira suavemente del cilindro con la llave insertada hasta encontrar la posición correcta en la que la leva quede completamente oculta. |
4. Mide tu cilindro actual y anota las dimensiones:
![]() |
|
| A (interior)Desde el extremo interior del cilindro hasta el centro del orificio del tornillo de fijación. |
B (exterior)Desde el extremo exterior del cilindro hasta el centro del orificio del tornillo de fijación. |
PASO 2: AJUSTA TU CILINDRO NUEVO
De forma predeterminada, el cilindro modular GERDA EXXO viene con módulos preinstalados.
Es posible que debas quitar o añadir módulos para configurar la longitud en ambos lados y que coincida con tu cilindro actual.
| Cilindro nuevo por defecto
|
|
| Interior Lado de cerradura inteligente 41 mm (1× separador de 10 mm) |
Exterior Lado de la llave 37 mm (1× separador de 6 mm) |
| ⚠️ Ensambla el cilindro modular GERDA EXXO para que coincida lo máximo posible con el lado de la llave (exterior) de tu cilindro antiguo.
Al ensamblar la parte interior del cilindro, recuerda cuánto sobresalía tu cilindro antiguo del escudo — la medida tomada en el Paso 1.1. Elige la longitud interior deseada, ligeramente mayor o menor, para conseguir una salida del cilindro de 2–6 mm (para Tedee PRO) o 3–8 mm (para Tedee GO(2)). |
1. Elige la combinación de módulos deseada para ambos lados del cilindro entre las configuraciones disponibles:
| Lado de la llave | Lado de la cerradura inteligente |
| 31 mm (sin separadores) | 31 mm (sin separadores) |
| 37 mm (1× 6 mm) | 37 mm (1× 6 mm) |
| 41 mm (1× 10 mm) | 41 mm (1× 10 mm) |
| 46 mm (1× 15 mm) | 46 mm (1× 15 mm) |
| 47 mm (1× 6 mm + 1× 10 mm) | 47 mm (1× 6 mm + 1× 10 mm) |
| 52 mm (1× 6 mm + 1× 15 mm) | 52 mm (1× 6 mm + 1× 15 mm) |
| 56 mm (1× 10 mm + 1× 15 mm) | 56 mm (1× 10 mm + 1× 15 mm) |
| 62 mm (1× 6 mm + 1× 10 mm + 1× 15 mm) | 62 mm (1× 6 mm + 1× 10 mm + 1× 15 mm) |
|
⚠️ Utiliza solo combinaciones de módulos de la tabla anterior. No configures longitudes de cilindro superiores a 62 mm en ningún lado. Contacta con [email protected] si tu cilindro antiguo excede esta longitud. |
2. Prepara los separadores y los casquillos correspondientes para fijarlos al cilindro.
|
⚠️ Cada separador tiene un casquillo del tamaño correspondiente. |
3. Separa los elementos del cilindro retirando cuatro tornillos de sujeción de ambos lados con la llave Allen.
|
⚠️ Manipula con cuidado los casquillos sueltos, ya que podrían caerse. |
4. Añade separadores insertando los casquillos correspondientes en el módulo y uniendo los elementos.
|
⚠️ Asegúrate de que la alineación de rotación de los elementos circulares sea correcta. |
5. Asegura el cilindro con los tornillos de sujeción usando la llave Allen. Gira en el sentido de las agujas del reloj hasta apretar.
|
⚠️ Recuerda fijar cuatro tornillos de sujeción en cada elemento. |
6. Realiza una comprobación final:
A. Asegúrate de que la longitud exterior coincida con tu cilindro antiguo.
B. Asegúrate de que la longitud interior proporcione una salida adecuada desde el escudo de la cerradura: 2–6 mm para Tedee PRO o 3–8 mm para Tedee GO(2).
![]() |
![]() |
![]() |
![]() |
PASO 3: INSTALA TU CILINDRO NUEVO
1. Al sustituir un cilindro de leva, gira el eje del cilindro para retraer la leva dentro del perfil del cilindro.
2. Inserta el cilindro en la cerradura de la puerta.
|
⚠️ Asegúrate de que los lados del cilindro estén correctamente orientados con el interior y el exterior de tu vivienda. |
3. Coloca el tornillo de fijación para asegurar el cilindro en la cerradura.
4. Realiza una comprobación final:
A. Asegúrate de que el cilindro sobresalga entre 2–6 mm o 3–8 mm en el interior, según instales Tedee PRO o Tedee GO. Ajusta si es necesario para una alineación correcta.
B. Prueba la llave desde el exterior girándola a izquierda y derecha para comprobar que los pestillos se mueven suavemente.
YA ESTÁS LISTO PARA INSTALAR TU CERRADURA INTELIGENTE TEDEE EN EL NUEVO CILINDRO.
![]() |
![]() |
|
Al instalar Tedee PRO Sigue el manual incluido en la caja de la cerradura inteligente. |
⚠️ Al instalar Tedee GO(2)
Acopla el adaptador Tedee GO Bar de la caja del cilindro a un eje de cilindro ranurado. Luego, sigue el manual de instalación de la caja de la cerradura inteligente. |
SOPORTE TÉCNICO
Para obtener ayuda, contacta con el equipo de soporte de Tedee:
| Sitio web
[www.tedee.com/support](http://www.tedee.com/support) Manuales de otros productos Tedee [www.tedee.com/support/manuals](http://www.tedee.com/support/manuals) |
Teléfono
(+48) 22 307 72 67 8:00 – 16:00 (CET) |
Dirección postal
Tedee Sp. z o.o. Karola Bohdanowicza 21/57 02-127 Varsovia Polonia |
INFORMACIÓN TÉCNICA
Cilindro modular GERDA EXXO SMART
| Categoría | Cilindro de perfil europeo |
| Variantes | Leva / Engranajes |
| Seguridad | Clase 6 según PN-EN 1303:2015 |
| Fabricante | GERDA Sp. z o.o. Sokołów, ul. Sokołowska 49 05-806 Komorów, Polonia +48 (22) 329 10 30 www.gerda.com |
🇪🇪 Eesti
GERDA EXXO SMART modulaarne silinder
Paigaldus- ja kasutusjuhend
SISUKORD
Ettevalmistus
- Komplekti sisu
- Mida vajate
- Koodikaart
Paigaldus
- 1. samm: Valmistage uks ette ja mõõtke oma vana silinder
- 2. samm: Seadistage oma uus silinder
- 3. samm: Paigaldage oma uus silinder
Tugikontakt
Tehniline teave
ETTEVALMISTUS
| ⚠️ See toode ei ole mänguasi ning seda ei tohi paigaldada, käsitseda ega kasutada lapsed. Tootega kaasas olevad väikesed osad kujutavad endast potentsiaalset lämbumisohtu ja tuleb alati hoida laste käeulatusest eemal.
HOIATUS:
Nende juhiste eiramine võib põhjustada tõsiseid vigastusi. Tootja ei vastuta ebaõige kasutamise ega kvalifitseerimata isikute poolt tehtud paigalduse eest. |
KOMPLEKTI SISU
| 1A. Nukkmoodul / 1B. Hammasrattamoodul | 6. Võllimoodul | 11. Kuuskantvõti (suurus 1,5) |
| 2. Võtmemoodul | 7. Silindrivõll | 12. Vahepuksid (15 mm, 15 mm, 10 mm, 6 mm) |
| 3. Vahetükk (6 mm) | 8. Vahepuksid (10 mm, 6 mm) | 13. Võtmed (×5) |
| 4. Kinnituskruvi ava | 14. Võtmekaart | |
| 5. Vahetükk (10 mm) | 10. Vahetükid (6, 10, 15, 15 mm) | 15. Tedee GO adapter |
MIDA VAJATE
Ristpeaga kruvikeeraja (Phillips) |
Joonlaud |
KOODIKAART
Kasutage silindrikarbis olevat kaardikoodi, et tellida lisavõtmeid volitatud GERDA lukkseppadelt või kirjutades aadressil [[email protected]](mailto:[email protected]).
|
⚠️ Soovitame teha oma koodist selge foto ja hoida seda tulevikuks turvaliselt. |
Võtmekaart
PAIGALDUS
![]() |
![]() |
![]() |
|
SAMM 1 Valmistage uks ette ja mõõtke oma vana silinder. |
SAMM 2 Seadistage oma uus silinder. |
SAMM 3 Paigaldage oma uus silinder. |
SAMM 1: VALMISTAGE UKS ETTE JA MÕÕTKE OMA VANA SILINDER
1. Kontrollige, kui palju ulatub olemasolev silinder lukukilbist välja (teie korteri siseküljel).
| ⚠️ Tedee PRO paigaldamine
Turvaline nutiluku kinnitus nõuab, et silinder ulatuks lukukilbist 2–6 mm välja. Kui teie olemasolev silinder ulatub vähem kui 2 mm, seadistage uus modulaarne silinder nutiluku poolel pikemaks. Kui teie olemasolev silinder ulatub üle 6 mm, seadistage uus modulaarne silinder nutiluku poolel lühemaks. |
⚠️ Tedee GO(2) paigaldamine
Turvaline nutiluku kinnitus nõuab, et silinder ulatuks lukukilbist 3–8 mm välja. Kui teie olemasolev silinder ulatub vähem kui 3 mm, seadistage uus modulaarne silinder nutiluku poolel pikemaks. Kui teie olemasolev silinder ulatub üle 8 mm, seadistage uus modulaarne silinder nutiluku poolel lühemaks. |
![]() |
![]() |
2. Eemaldage ukse lukust kinnituskruvi, mis hoiab vana silindrit, ja hoidke see alles uue paigaldamiseks.
|
⚠️ Kui teil on kõrgturvaline uks tugevdatud lukukilbiga, võtke enne silindri eemaldamist kilp lahti. |
3. Sisestage võti silindrisse, pöörake seda veidi ja tõmmake õrnalt, et eemaldada vana silinder ukse lukust.
|
⚠️ Nukk-silindri asendamisel võib olla vajalik võtit pöörata, et nukk „peitu“ viia. Tõmmake silindrit sisestatud võtmega ettevaatlikult, kuni leiate õige asendi, kus nukk on täielikult peidus. |
4. Mõõtke oma praegune silinder ja märkige mõõdud üles:
![]() |
|
| A (sees)Silindri sisemisest otsast kuni kinnituskruvi ava keskpunktini. |
B (väljas)Silindri välisest otsast kuni kinnituskruvi ava keskpunktini. |
SAMM 2: SEADISTAGE OMA UUS SILINDER
Vaikimisi on GERDA EXXO modulaarne silinder tarnitud eelkinnitusega moodulitega.
Võimalik, et peate mooduleid eemaldama või lisama, et seadistada mõlema poole pikkus vastavaks teie olemasolevale silindrile.
| Uue silindri vaikekonfiguratsioon
|
|
| Sisepool Nutiluku pool 41 mm (1× 10 mm vahetükk) |
Välispool Võtme pool 37 mm (1× 6 mm vahetükk) |
| ⚠️ Koostage GERDA EXXO modulaarne silinder nii, et see vastaks võimalikult täpselt teie vana silindri võtme poolele (välisküljele).
Sisepoole kokkupanekul pidage meeles, kui palju teie vana silinder kilbist välja ulatus — mõõt, mis saadi sammuga 1.1. Valige soovitud sisepikkus, veidi pikem või lühem, et saavutada 2–6 mm (Tedee PRO) või 3–8 mm (Tedee GO(2)) ulatus kilbist. |
1. Valige soovitud moodulikombinatsioon mõlemale silindri poolele allolevatest konfiguratsioonidest:
| Võtme pool | Nutiluku pool |
| 31 mm (ilma vahetükkideta) | 31 mm (ilma vahetükkideta) |
| 37 mm (1× 6 mm) | 37 mm (1× 6 mm) |
| 41 mm (1× 10 mm) | 41 mm (1× 10 mm) |
| 46 mm (1× 15 mm) | 46 mm (1× 15 mm) |
| 47 mm (1× 6 mm + 1× 10 mm) | 47 mm (1× 6 mm + 1× 10 mm) |
| 52 mm (1× 6 mm + 1× 15 mm) | 52 mm (1× 6 mm + 1× 15 mm) |
| 56 mm (1× 10 mm + 1× 15 mm) | 56 mm (1× 10 mm + 1× 15 mm) |
| 62 mm (1× 6 mm + 1× 10 mm + 1× 15 mm) | 62 mm (1× 6 mm + 1× 10 mm + 1× 15 mm) |
|
⚠️ Kasutage ainult ülaltoodud tabelis toodud moodulikombinatsioone. Ärge seadistage kummalgi poolel silindri pikkust üle 62 mm. Võtke ühendust aadressil [email protected], kui teie vana silinder ületab selle pikkuse. |
2. Valmistage ette vahetükid ja vastavad puksid silindrile kinnitamiseks.
|
⚠️ Igal vahetükil on samas mõõdus vastav puks. |
3. Lahutage silindri elemendid, eemaldades kuuskantvõtmega mõlemalt poolt neli kinnituskruvi.
|
⚠️ Käsitsege lahtisi pukse ettevaatlikult – need võivad välja kukkuda. |
4. Lisage vahetükid, sisestades vastavad puksid moodulisse ja ühendades elemendid.
|
⚠️ Veenduge, et ümarate elementide pöördasend/joondus oleks õige. |
5. Kinnitage silinder kinnituskruvidega, kasutades kuuskantvõtit. Pöörake päripäeva, kuni on kinni.
|
⚠️ Ärge unustage kinnitada igal elemendil neli kinnituskruvi. |
6. Tehke lõppkontroll:
A. Veenduge, et välispikkus vastab teie vanale silindrile.
B. Veenduge, et sisepikkus tagab sobiva ulatuse lukukilbist: 2–6 mm Tedee PRO või 3–8 mm Tedee GO(2) puhul.
![]() |
![]() |
![]() |
![]() |
SAMM 3: PAIGALDAGE OMA UUS SILINDER
1. Nukk-silindri asendamisel pöörake silindrivõlli, et nukk tõmbuks silindri profiili sisse.
2. Sisestage silinder ukse lukku.
|
⚠️ Veenduge, et silindri pooled oleksid õigesti orienteeritud teie kodu sise- ja väliskülje suhtes. |
3. Kinnitage silinder ukse lukus kinnituskruviga.
4. Tehke lõppkontroll:
A. Veenduge, et silinder ulatub seestpoolt 2–6 mm või 3–8 mm (sõltuvalt sellest, kas paigaldate Tedee PRO või Tedee GO). Kohandage vajadusel korrektse joondamise saavutamiseks.
B. Testige võtit väljastpoolt, keerates seda vasakule ja paremale, veendumaks, et riivid liiguvad sujuvalt.
NÜÜD OLETE VALMIS PAIGALDAMA OMA TEDEE NUTILUKU UUELE SILINDRILE.
![]() |
![]() |
|
Tedee PRO paigaldamisel Järgige nutiluku karbis olevat juhendit. |
⚠️ Tedee GO(2) paigaldamisel
Kinnitage silindrikarbis olev Tedee GO Bar adapter soonelise silindrivõlli külge. Seejärel järgige nutiluku karbis olevat paigaldusjuhendit. |
TEHNILINE TUGI
Abi saamiseks võtke ühendust Tedee tugimeeskonnaga:
| E-post | Veebisait
[www.tedee.com/support](http://www.tedee.com/support) Muude Tedee toodete käsiraamatud [www.tedee.com/support/manuals](http://www.tedee.com/support/manuals) |
Telefon
(+48) 22 307 72 67 8:00 – 16:00 (CET) |
Postiaadress
Tedee Sp. z o.o. Karola Bohdanowicza 21/57 02-127 Varssavi Poola |
TEHNILINE TEAVE
GERDA EXXO SMART modulaarne silinder
| Kategooria | Euroopa profiiliga silinder |
| Variandid | Nukk / Hammasratas |
| Turvalisus | Klass 6 vastavalt PN-EN 1303:2015 |
| Tootja | GERDA Sp. z o.o. Sokołów, ul. Sokołowska 49 05-806 Komorów, Poola +48 (22) 329 10 30 www.gerda.com |
🇫🇮 Suomi
GERDA EXXO SMART modulaarinen lukkosylinteri
Asennus- ja käyttöohje
SISÄLLYS
Valmistelu
- Pakkauksen sisältö
- Mitä tarvitset
- Koodikortti
Asennus
- Vaihe 1: Valmistele ovi ja mittaa vanha sylinteri
- Vaihe 2: Säädä uusi sylinterisi
- Vaihe 3: Asenna uusi sylinterisi
Tukiyhteystiedot
Tekniset tiedot
VALMISTELU
| ⚠️ Tämä tuote ei ole lelu, eikä lapsien tule asentaa, käsitellä tai käyttää sitä. Tuotteen mukana tulevat pienet osat voivat aiheuttaa tukehtumisvaaran ja ne on pidettävä aina poissa lasten ulottuvilta.
VAROITUS:
Näiden ohjeiden noudattamatta jättäminen voi aiheuttaa vakavan loukkaantumisen. Valmistaja ei vastaa virheellisestä käytöstä tai pätemättömien henkilöiden tekemästä asennuksesta. |
PAKKAUKSEN SISÄLTÖ
| 1A. Kammimoduuli (cam) / 1B. Hammaspyörämoduuli | 6. Akselimoduuli | 11. Kuusiokoloavain (koko 1,5) |
| 2. Avainmoduuli | 7. Sylinterin akseli | 12. Väliholkit (15 mm, 15 mm, 10 mm, 6 mm) |
| 3. Välikappale (6 mm) | 8. Väliholkit (10 mm, 6 mm) | 13. Avaimet (×5) |
| 4. Kiinnitysruuvin reikä | 14. Avainkortti | |
| 5. Välikappale (10 mm) | 10. Välikappaleet (6, 10, 15, 15 mm) | 15. Tedee GO -adapteri |
MITÄ TARVITSET
Ristipääruuvimeisseli (Phillips) |
Viivain |
KOODIKORTTI
Käytä sylinteripakkauksen kortissa olevaa koodia tilataksesi lisäavaimia valtuutetuilta GERDA-lukkosepiltä tai lähettämällä sähköpostia osoitteeseen [[email protected]](mailto:[email protected]).
|
⚠️ Suosittelemme ottamaan koodistasi selkeän kuvan ja säilyttämään sen turvallisesti tulevaa tarvetta varten. |
Avainkortti
ASENNUS
![]() |
![]() |
![]() |
|
VAIHE 1 Valmistele ovi ja mittaa vanha sylinteri. |
VAIHE 2 Säädä uusi sylinterisi. |
VAIHE 3 Asenna uusi sylinterisi. |
VAIHE 1: VALMISTELE OVI JA MITTAA VANHA SYLINTERI
1. Tarkista, kuinka paljon nykyinen sylinteri ulottuu peitekilvestä (kodin sisäpuolella).
| ⚠️ Tedee PRO -asennus
Turvallinen älylukon kiinnitys edellyttää, että sylinteri ulottuu 2–6 mm peitekilvestä. Jos nykyinen sylinteri ulottuu alle 2 mm, säädä uutta modulaarista sylinteriä pidemmäksi älylukon puolelta. Jos nykyinen sylinteri ulottuu yli 6 mm, säädä uutta modulaarista sylinteriä lyhyemmäksi älylukon puolelta. |
⚠️ Tedee GO(2) -asennus
Turvallinen älylukon kiinnitys edellyttää, että sylinteri ulottuu 3–8 mm peitekilvestä. Jos nykyinen sylinteri ulottuu alle 3 mm, säädä uutta modulaarista sylinteriä pidemmäksi älylukon puolelta. Jos nykyinen sylinteri ulottuu yli 8 mm, säädä uutta modulaarista sylinteriä lyhyemmäksi älylukon puolelta. |
![]() |
![]() |
2. Irrota oven lukosta kiinnitysruuvi, joka pitää vanhan sylinterin paikallaan, ja säästä ruuvi uuden asennusta varten.
|
⚠️ Jos sinulla on korkeaturvallinen ovi vahvistetulla peitekilvellä, pura kilpi ennen sylinterin poistamista lukosta. |
3. Työnnä avain sylinteriin, kierrä hieman ja vedä varovasti poistaaksesi vanhan sylinterin oven lukosta.
|
⚠️ Kammasylinteriä vaihdettaessa saatat joutua kääntämään avainta, jotta kammi menee ”piiloon”. Vedä sylinteriä varovasti avain paikallaan, kunnes löydät kohdan, jossa kammi on täysin piilossa. |
4. Mittaa nykyinen sylinterisi ja kirjaa mitat ylös:
![]() |
|
| A (sisäpuoli)Sisäpään etäisyys sylinterin päästä kiinnitysruuvin reiän keskikohtaan. |
B (ulkopuoli)Ulkopään etäisyys sylinterin päästä kiinnitysruuvin reiän keskikohtaan. |
VAIHE 2: SÄÄDÄ UUSI SYLINTERISI
Oletuksena GERDA EXXO -modulaarinen sylinteri toimitetaan esiasennetuilla moduuleilla.
Saatat joutua poistamaan tai lisäämään moduuleja säätääksesi pituuden molemmilta puolilta vastaamaan nykyistä sylinteriäsi.
| Uuden sylinterin oletuskokoonpano
|
|
| Sisäpuoli Älylukon puoli 41 mm (1× 10 mm välikappale) |
Ulkopuoli Avaimen puoli 37 mm (1× 6 mm välikappale) |
| ⚠️ Kokoa GERDA EXXO -modulaarinen sylinteri vastaamaan mahdollisimman tarkasti vanhan sylinterisi avaimen puolta (ulkopuolta).
Kun kokoat sisäpuolta, huomioi kuinka paljon vanha sylinteri ulottui peitekilvestä — mitta, joka otettiin kohdassa 1.1. Valitse haluttu sisäpituus, hieman pidempi tai lyhyempi, jotta sylinterin ulostyöntymä on 2–6 mm (Tedee PRO) tai 3–8 mm (Tedee GO(2)). |
1. Valitse haluamasi moduuliyhdistelmä molemmille sylinterin puolille alla olevista vaihtoehdoista:
| Avaimen puoli | Älylukon puoli |
| 31 mm (ei välikappaleita) | 31 mm (ei välikappaleita) |
| 37 mm (1× 6 mm) | 37 mm (1× 6 mm) |
| 41 mm (1× 10 mm) | 41 mm (1× 10 mm) |
| 46 mm (1× 15 mm) | 46 mm (1× 15 mm) |
| 47 mm (1× 6 mm + 1× 10 mm) | 47 mm (1× 6 mm + 1× 10 mm) |
| 52 mm (1× 6 mm + 1× 15 mm) | 52 mm (1× 6 mm + 1× 15 mm) |
| 56 mm (1× 10 mm + 1× 15 mm) | 56 mm (1× 10 mm + 1× 15 mm) |
| 62 mm (1× 6 mm + 1× 10 mm + 1× 15 mm) | 62 mm (1× 6 mm + 1× 10 mm + 1× 15 mm) |
|
⚠️ Käytä vain yllä olevan taulukon moduuliyhdistelmiä. Älä määritä sylinterin pituutta kummallakaan puolella yli 62 mm. Ota yhteyttä osoitteeseen [email protected], jos vanhan sylinterisi pituus ylittää tämän. |
2. Valmistele välikappaleet ja vastaavat holkit kiinnitettäväksi sylinteriin.
|
⚠️ Jokaisella välikappaleella on sitä vastaavan kokoinen holkki. |
3. Irrota sylinterin osat poistamalla neljä kiristysruuvia molemmilta puolilta kuusiokoloavaimella.
|
⚠️ Käsittele irtonaisia holkkeja varoen – ne voivat pudota. |
4. Lisää välikappaleet työntämällä vastaavat holkit moduuliin ja yhdistä osat.
|
⚠️ Varmista, että pyöreiden osien kiertosuuntaus on oikein. |
5. Kiinnitä sylinteri kiristysruuveilla kuusiokoloavainta käyttäen. Kierrä myötäpäivään, kunnes on tiukalla.
|
⚠️ Muista kiinnittää neljä kiristysruuvia jokaiseen osaan. |
6. Tee lopullinen tarkistus:
A. Varmista, että ulkopituus vastaa vanhaa sylinteriäsi.
B. Varmista, että sisäpituus antaa sopivan ulostyöntymän peitekilvestä: 2–6 mm Tedee PRO:lle tai 3–8 mm Tedee GO(2):lle.
![]() |
![]() |
![]() |
![]() |
VAIHE 3: ASENNA UUSI SYLINTERISI
1. Kammasylinteriä vaihdettaessa kierrä sylinterin akselia, jotta kammi vetäytyy sylinteriprofiiliin.
2. Työnnä sylinteri oven lukkoon.
|
⚠️ Varmista, että sylinterin puolet on suunnattu oikein asunnon sisä- ja ulkopuolelle. |
3. Kiinnitä sylinteri lukkoon kiinnitysruuvilla.
4. Tee lopullinen tarkistus:
A. Varmista, että sylinteri ulottuu sisäpuolella 2–6 mm tai 3–8 mm sen mukaan, asennatko Tedee PRO:n vai Tedee GO:n. Säädä tarvittaessa oikean linjauksen saavuttamiseksi.
B. Kokeile avainta ulkopuolelta kääntämällä sitä vasemmalle ja oikealle varmistaaksesi, että salvat liikkuvat sujuvasti.
NYT OLET VALMIS ASENTAMAAN TEDEE-ÄLYLUKON UUTEEN SYLINTERIIN.
![]() |
![]() |
|
Tedee PRO -asennuksessa Seuraa älylukon pakkauksessa olevaa ohjekirjaa. |
⚠️ Tedee GO(2) -asennuksessa
Kiinnitä sylinteripakkauksessa oleva Tedee GO Bar -adapteri uritettuun sylinterinakseliin. Seuraa sitten älylukon pakkauksessa olevaa asennusohjetta. |
TEKNINEN TUKI
Apua varten ota yhteyttä Tedee-tukitiimiin:
| Sähköposti | Verkkosivusto
[www.tedee.com/support](http://www.tedee.com/support) Muiden Tedee-tuotteiden ohjeet [www.tedee.com/support/manuals](http://www.tedee.com/support/manuals) |
Puhelin
(+48) 22 307 72 67 8:00 – 16:00 (CET) |
Postiosoite
Tedee Sp. z o.o. Karola Bohdanowicza 21/57 02-127 Varsova Puola |
TEKNISET TIEDOT
GERDA EXXO SMART modulaarinen lukkosylinteri
| Kategoria | Europrofiilin sylinteri |
| Vaihtoehdot | Kammi / Hammaspyörä |
| Turvallisuus | Luokka 6 standardin PN-EN 1303:2015 mukaan |
| Valmistaja | GERDA Sp. z o.o. Sokołów, ul. Sokołowska 49 05-806 Komorów, Puola +48 (22) 329 10 30 www.gerda.com |
🇫🇷 Français
Cylindre modulaire GERDA EXXO SMART
Manuel d’installation et d’utilisation
TABLE DES MATIÈRES
Préparation
- Contenu de la boîte
- Ce dont vous avez besoin
- Carte de propriété
Installation
- Étape 1 : Préparation de la porte et mesure de l’ancien cylindre
- Étape 2 : Assemblage du cylindre
- Étape 3 : Installation du nouveau cylindre
Assistance technique
Spécifications techniques
PRÉPARATION
| ⚠️ Ce produit n’est pas un jouet et ne doit pas être installé, manipulé ni utilisé par des enfants. Les petites pièces fournies avec le produit présentent un risque potentiel d’étouffement et doivent être tenues hors de portée des enfants en tout temps.
AVERTISSEMENT :
Le non-respect de ces consignes peut entraîner des blessures graves. Le fabricant décline toute responsabilité en cas de mauvaise utilisation ou d’installation effectuée par des personnes non qualifiées. |
CONTENU DE LA BOÎTE
| 1A. Panneton / 1B. Roue dentée | 6. Module rotor | 11. Clé Allen (taille 1,5) |
| 2. Module extérieur | 7. Pièce rotor | 12. Bobines d’espacement (15 mm, 15 mm, 10 mm, 6 mm) |
| 3. Module d’extension (6 mm) | 8. Bagues d’entretoise (10 mm, 6 mm) | 13. Clés (×5) |
| 4. Trou de vis de fixation | 14. Carte de propriété | |
| 5. Module d’extension (10 mm) | 10. Modules d’extension (6, 10, 15, 15 mm) | 15. Adaptateur Tedee GO |
CE DONT VOUS AVEZ BESOIN
Tournevis cruciforme |
Règle |
CARTE DE PROPRIÉTÉ
Utilisez le code figurant sur la carte incluse dans la boîte du cylindre pour commander des clés supplémentaires auprès de serruriers GERDA agréés ou en écrivant à [[email protected]](mailto:[email protected]).
|
⚠️ Nous recommandons de prendre une photo nette de votre code et de la stocker en lieu sûr pour une utilisation ultérieure. |
Carte de propriété
INSTALLATION
![]() |
![]() |
![]() |
|
ÉTAPE 1 Préparez votre porte et mesurez votre ancien cylindre. |
ÉTAPE 2 Réglez votre nouveau cylindre. |
ÉTAPE 3 Installez votre nouveau cylindre. |
ÉTAPE 1 : PRÉPARATION DE LA PORTE ET MESURE DE L’ANCIEN CYLINDRE
1. Vérifiez de combien votre cylindre actuel dépasse de la rosace de serrure (à l’intérieur de votre logement).
| ⚠️ Installation de Tedee PRO
La fixation sécurisée de la serrure connectée requiert que le cylindre dépasse de 2 à 6 mm de la rosace. Si votre cylindre actuel dépasse de moins de 2 mm, ajustez le nouveau cylindre modulaire sur une longueur plus grande du côté serrure connectée. Si votre cylindre actuel dépasse de plus de 6 mm, ajustez le nouveau cylindre modulaire sur une longueur plus courte du côté serrure connectée. |
⚠️ Installation de Tedee GO(2)
La fixation sécurisée de la serrure connectée requiert que le cylindre dépasse de 3 à 8 mm de la rosace. Si votre cylindre actuel dépasse de moins de 3 mm, ajustez le nouveau cylindre modulaire sur une longueur plus grande du côté serrure connectée. Si votre cylindre actuel dépasse de plus de 8 mm, réglez le nouveau cylindre modulaire sur une longueur plus courte du côté serrure connectée. |
![]() |
![]() |
2. Retirez la vis de fixation de la serrure de votre porte qui maintient l’ancien cylindre, et conservez-la pour l’installation du nouveau.
|
⚠️ Si vous disposez d’une porte haute sécurité avec rosace renforcée, démontez la rosace avant d’extraire le cylindre de la serrure. |
3. Insérez une clé dans le cylindre, tournez-la légèrement et tirez délicatement pour retirer l’ancien cylindre de la serrure de la porte.
|
⚠️ Lors du remplacement d’un cylindre à panneton, il peut être nécessaire de tourner la clé pour rentrer le panneton. Tirez doucement le cylindre avec la clé insérée pour trouver la position où la panneton est complètement rentré. |
4. Mesurez votre cylindre actuel et notez les dimensions :
![]() |
|
| A (intérieur)De l’extrémité intérieure du cylindre jusqu’au centre du trou de la vis de fixation. |
B (extérieur)De l’extrémité extérieure du cylindre jusqu’au centre du trou de la vis de fixation. |
ÉTAPE 2 : ASSEMBLAGE DU CYLINDRE
Par défaut, le cylindre modulaire GERDA EXXO est livré avec des modules pré-assemblés.
Vous devrez peut-être retirer ou ajouter des modules afin d’ajuster la longueur des deux côtés pour qu’elle corresponde à celle de votre cylindre existant.
| Nouveau cylindre par défaut
|
|
| Intérieur Côté serrure connectée : 41 mm (1× extension de 10 mm) |
Extérieur Côté clé : 37 mm (1× extension de 6 mm) |
| ⚠️ Assemblez le cylindre modulaire GERDA EXXO pour qu’il corresponde au plus près du côté clé (extérieur) de votre ancien cylindre.
Lors de l’assemblage de la partie intérieure du cylindre, tenez compte de combien votre ancien cylindre dépassait de la rosace — mesure prise à l’étape 1.1. Choisissez la longueur intérieure souhaitée, légèrement plus longue ou plus courte, de manière à obtenir un dépassement de 2–6 mm (pour Tedee PRO) ou 3–8 mm (pour Tedee GO(2)). |
1. Choisissez la combinaison de modules souhaitée pour les deux côtés du cylindre parmi les configurations disponibles :
| Côté clé | Côté serrure intelligente |
| 31 mm (sans extensions) | 31 mm (sans extensions) |
| 37 mm (1× 6 mm) | 37 mm (1× 6 mm) |
| 41 mm (1× 10 mm) | 41 mm (1× 10 mm) |
| 46 mm (1× 15 mm) | 46 mm (1× 15 mm) |
| 47 mm (1× 6 mm + 1× 10 mm) | 47 mm (1× 6 mm + 1× 10 mm) |
| 52 mm (1× 6 mm + 1× 15 mm) | 52 mm (1× 6 mm + 1× 15 mm) |
| 56 mm (1× 10 mm + 1× 15 mm) | 56 mm (1× 10 mm + 1× 15 mm) |
| 62 mm (1× 6 mm + 1× 10 mm + 1× 15 mm) | 62 mm (1× 6 mm + 1× 10 mm + 1× 15 mm) |
|
⚠️ Utilisez uniquement des combinaisons de modules issues du tableau ci-dessus. Ne configurez pas de longueurs de cylindre supérieures à 62 mm de chaque côté. Contactez [email protected] si la longueur de votre ancien cylindre dépasse cette valeur. |
2. Préparez les extensions et les bobines correspondantes à fixer sur le cylindre.
|
⚠️ Chaque extension possède une bobine de taille correspondante. |
3. Désassemblez les éléments du cylindre en retirant quatre vis de serrage de chaque côté à l’aide de la clé Allen.
|
⚠️ Manipulez les bobines avec précaution, elles peuvent tomber. |
4. Ajoutez des extensions en insérant les bobines correspondantes dans le module et en reliant les éléments.
|
⚠️ Assurez-vous que l’alignement de rotation des éléments circulaires est correct. |
5. Sécurisez le cylindre avec les vis de serrage à l’aide de la clé Allen. Tournez dans le sens horaire jusqu’au serrage.
|
⚠️ N’oubliez pas de serrer quatre vis sur chaque élément. |
6. Effectuez une vérification finale :
A. Assurez-vous que la longueur extérieure correspond à celle de votre ancien cylindre.
B. Assurez-vous que la longueur intérieure procure un dépassement adéquat par rapport à la rosace : 2–6 mm pour Tedee PRO ou 3–8 mm pour Tedee GO(2).
![]() |
![]() |
![]() |
![]() |
ÉTAPE 3 : INSTALLATIN DU NOUVEAU CYLINDRE
1. Lors du remplacement d’un cylindre à panneton, tournez l’arbre du cylindre pour rétracter la came dans le profil du cylindre.
2. Insérez le cylindre dans la serrure de la porte.
|
⚠️ Assurez-vous que les côtés du cylindre soient correctement orientés par rapport à l’intérieur et à l’extérieur de votre logement. |
3. Vissez la vis de fixation pour sécuriser le cylindre dans la serrure de la porte.
4. Effectuez une vérification finale :
A. Assurez-vous que le cylindre dépasse de 2–6 mm ou 3–8 mm côté intérieur, selon que vous installez Tedee PRO ou Tedee GO. Ajustez si nécessaire pour un bon alignement.
B. Testez la clé depuis l’extérieur en la tournant à gauche et à droite pour vérifier que les pênes bougent en douceur.
VOUS ÊTES MAINTENANT PRÊT À INSTALLER VOTRE SERRURE CONNECTÉE TEDEE SUR LE NOUVEAU CYLINDRE.
![]() |
![]() |
|
Lors de l’installation de Tedee PRO Suivez le manuel fourni dans la boîte de la serrure connectée. |
⚠️ Lors de l’installation de Tedee GO(2)
Clipsez l’adaptateur Tedee GO Bar de la boîte du cylindre sur la pièce rotor rainurée. Ensuite, suivez le manuel d’installation fourni dans la boîte de la serrure connectée. |
ASSISTANCE TECHNIQUE
Pour obtenir une assistance technique, veuillez contacter notre équipe :
| Site web
[www.tedee.com/support](http://www.tedee.com/support) Manuels des autres produits Tedee [www.tedee.com/support/manuals](http://www.tedee.com/support/manuals) |
Téléphone
(+48) 22 307 72 67 8h00 – 16h00 (CET) |
Adresse postale
Tedee Sp. z o.o. Karola Bohdanowicza 21/57 02-127 Varsovie Pologne |
SPÉCIFICATIONS TECHNIQUES
Cylindre modulaire GERDA EXXO SMART
| Catégorie | Cylindre profil européen |
| Variantes | Panneton / Roue dentée |
| Sécurité | Classe 6 selon PN-EN 1303:2015 |
| Fabricant | GERDA Sp. z o.o. Sokołów, ul. Sokołowska 49 05-806 Komorów, Pologne +48 (22) 329 10 30 www.gerda.com |
🇭🇷 Hrvatski
GERDA EXXO SMART modularni cilindar
Priručnik za instalaciju i uporabu
SADRŽAJ
Priprema
- Sadržaj pakiranja
- Što vam treba
- Kodna kartica
Instalacija
- Korak 1: Pripremite vrata i izmjerite stari cilindar
- Korak 2: Prilagodite novi cilindar
- Korak 3: Ugradite novi cilindar
Kontakt za podršku
Tehničke informacije
PRIPREMA
| ⚠️ Ovaj proizvod nije igračka i djeca ga ne smiju instalirati, rukovati njime niti ga koristiti. Male komponente koje dolaze s proizvodom mogu predstavljati opasnost od gušenja i moraju uvijek biti izvan dohvata djece.
UPOZORENJE:
Nepridržavanje ovih smjernica može dovesti do ozbiljnih ozljeda. Proizvođač ne preuzima odgovornost za nepravilnu uporabu ili instalaciju koju izvode nekompetentne osobe. |
SADRŽAJ PAKIRANJA
| 1A. Modul s ekscentrom (cam) / 1B. Zupčasti modul | 6. Modul osovine | 11. Imbus ključ (veličina 1,5) |
| 2. Modul ključa | 7. Osovina cilindra | 12. Razmakne čahure (15 mm, 15 mm, 10 mm, 6 mm) |
| 3. Odstojnik (6 mm) | 8. Razmakne čahure (10 mm, 6 mm) | 13. Ključevi (×5) |
| 4. Otvor za vijak za pričvršćivanje | 14. Kartica ključa | |
| 5. Odstojnik (10 mm) | 10. Odstojnici (6, 10, 15, 15 mm) | 15. Tedee GO adapter |
ŠTO VAM TREBA
Križni odvijač (Phillips) |
Ravnalo |
KODNA KARTICA
Upotrijebite kod s kartice koja se nalazi u kutiji s cilindrom kako biste naručili dodatne ključeve od ovlaštenih GERDA bravara ili slanjem e-pošte na [[email protected]](mailto:[email protected]).
|
⚠️ Preporučujemo da napravite jasnu fotografiju svog koda i sigurno je pohranite za buduću uporabu. |
Kartica ključa
INSTALACIJA
![]() |
![]() |
![]() |
|
KORAK 1 Pripremite vrata i izmjerite stari cilindar. |
KORAK 2 Prilagodite novi cilindar. |
KORAK 3 Ugradite novi cilindar. |
KORAK 1: PRIPREMITE VRATA I IZMJERITE STARI CILINDAR
1. Provjerite koliko vaš postojeći cilindar viri iz rozete brave (na unutarnjoj strani vašeg stana).
| ⚠️ Instalacija Tedee PRO
Sigurno postolje za pametnu bravu zahtijeva da cilindar viri 2–6 mm iz rozete. Ako vaš postojeći cilindar viri manje od 2 mm, prilagodite novi modularni cilindar na veću duljinu na strani pametne brave. Ako vaš postojeći cilindar viri više od 6 mm, prilagodite novi modularni cilindar na kraću duljinu na strani pametne brave. |
⚠️ Instalacija Tedee GO(2)
Sigurno postolje za pametnu bravu zahtijeva da cilindar viri 3–8 mm iz rozete. Ako vaš postojeći cilindar viri manje od 3 mm, prilagodite novi modularni cilindar na veću duljinu na strani pametne brave. Ako vaš postojeći cilindar viri više od 8 mm, prilagodite novi modularni cilindar na kraću duljinu na strani pametne brave. |
![]() |
![]() |
2. Uklonite vijak za pričvršćivanje iz brave na vratima koji drži stari cilindar i sačuvajte ga za ugradnju novoga.
|
⚠️ Ako imate visokosigurnosna vrata s ojačanom rozetom brave, demontirajte rozetu prije vađenja cilindra iz brave. |
3. Umetnite ključ u cilindar, lagano ga zakrenite i nježno povucite kako biste uklonili stari cilindar iz brave na vratima.
|
⚠️ Pri zamjeni cilindra s ekscentrom (cam) možda ćete trebati okrenuti ključ kako bi se ekscentar uvukao. Pažljivo povucite cilindar s umetnutim ključem kako biste pronašli položaj u kojem je ekscentar potpuno uvučen. |
4. Izmjerite svoj postojeći cilindar i zapišite dimenzije:
![]() |
|
| A (unutra)Od unutarnjeg kraja cilindra do središta otvora za vijak za pričvršćivanje. |
B (vani)Od vanjskog kraja cilindra do središta otvora za vijak za pričvršćivanje. |
KORAK 2: PRILAGODITE NOVI CILINDAR
Zadano, GERDA EXXO modularni cilindar dolazi s unaprijed pričvršćenim modulima.
Možda ćete trebati ukloniti ili dodati module kako biste podesili duljinu s obje strane da odgovara vašem postojećem cilindru.
| Zadani novi cilindar
|
|
| Unutarnja strana Strana pametne brave 41 mm (1× odstojnik 10 mm) |
Vanjska strana Strana ključa 37 mm (1× odstojnik 6 mm) |
| ⚠️ Sastavite GERDA EXXO modularni cilindar tako da što je moguće bolje odgovara strani ključa (vanjskoj) vašeg starog cilindra.
Pri sastavljanju unutarnjeg dijela cilindra imajte na umu koliko je vaš stari cilindar virio iz rozete — mjera uzeta u Koraku 1.1. Odaberite željenu unutarnju duljinu, malo dužu ili kraću, kako biste postigli izbočenje cilindra od 2–6 mm (za Tedee PRO) ili 3–8 mm (za Tedee GO(2)). |
1. Odaberite željenu kombinaciju modula za obje strane cilindra iz dostupnih konfiguracija:
| Strana ključa | Strana pametne brave |
| 31 mm (bez odstojnika) | 31 mm (bez odstojnika) |
| 37 mm (1× 6 mm) | 37 mm (1× 6 mm) |
| 41 mm (1× 10 mm) | 41 mm (1× 10 mm) |
| 46 mm (1× 15 mm) | 46 mm (1× 15 mm) |
| 47 mm (1× 6 mm + 1× 10 mm) | 47 mm (1× 6 mm + 1× 10 mm) |
| 52 mm (1× 6 mm + 1× 15 mm) | 52 mm (1× 6 mm + 1× 15 mm) |
| 56 mm (1× 10 mm + 1× 15 mm) | 56 mm (1× 10 mm + 1× 15 mm) |
| 62 mm (1× 6 mm + 1× 10 mm + 1× 15 mm) | 62 mm (1× 6 mm + 1× 10 mm + 1× 15 mm) |
|
⚠️ Koristite samo kombinacije modula iz gornje tablice. Nemojte konfigurirati duljine cilindra veće od 62 mm ni s jedne strane. Kontaktirajte [email protected] ako duljina vašeg starog cilindra premašuje ovu vrijednost. |
2. Pripremite odstojnike i odgovarajuće čahure za pričvršćivanje na cilindar.
|
⚠️ Svaki odstojnik ima čahuru odgovarajuće veličine. |
3. Odvojite elemente cilindra uklanjanjem četiri stezna vijka s obje strane pomoću imbus ključa.
|
⚠️ Pažljivo rukujte labavim čahurama jer mogu ispasti. |
4. Dodajte odstojnike umetajući odgovarajuće čahure u modul i povezujući elemente.
|
⚠️ Provjerite je li poravnanje rotacije kružnih elemenata ispravno. |
5. Osigurajte cilindar steznim vijcima pomoću imbus ključa. Zakrećite u smjeru kazaljke na satu do zatezanja.
|
⚠️ Ne zaboravite pričvrstiti četiri stezna vijka na svaki element. |
6. Izvedite završnu provjeru:
A. Provjerite odgovara li vanjska duljina vašem starom cilindru.
B. Provjerite osigurava li unutarnja duljina odgovarajuće izbočenje iz rozete: 2–6 mm za Tedee PRO ili 3–8 mm za Tedee GO(2).
![]() |
![]() |
![]() |
![]() |
KORAK 3: UGRADITE NOVI CILINDAR
1. Pri zamjeni cilindra s ekscentrom zakrenite osovinu cilindra kako bi se ekscentar uvukao u profil cilindra.
2. Umetnite cilindar u bravu na vratima.
|
⚠️ Provjerite jesu li strane cilindra ispravno orijentirane u odnosu na unutarnju i vanjsku stranu vašeg stana. |
3. Pričvrstite vijak za pričvršćivanje kako biste osigurali cilindar u bravi na vratima.
4. Izvedite završnu provjeru:
A. Provjerite da cilindar iznutra viri 2–6 mm ili 3–8 mm, ovisno o tome instalirate li Tedee PRO ili Tedee GO. Po potrebi prilagodite radi pravilnog poravnanja.
B. Isprobajte ključ izvana okrećući ga lijevo i desno kako biste provjerili da se zasuni kreću glatko.
SADA STE SPREMNI INSTALIRATI SVOJU TEDEE PAMETNU BRAVU NA NOVI CILINDAR.
![]() |
![]() |
|
Kod instalacije Tedee PRO Slijedite priručnik iz kutije pametne brave. |
⚠️ Kod instalacije Tedee GO(2)
Učvrstite Tedee GO Bar adapter iz kutije s cilindrom na žlijebljenu osovinu cilindra. Zatim slijedite upute za instalaciju iz kutije pametne brave. |
TEHNIČKA PODRŠKA
Za pomoć kontaktirajte Tedee tim za podršku:
| E-pošta | Web stranica
[www.tedee.com/support](http://www.tedee.com/support) Priručnici za druge Tedee proizvode [www.tedee.com/support/manuals](http://www.tedee.com/support/manuals) |
Telefon
(+48) 22 307 72 67 8:00 – 16:00 (CET) |
Adresa
Tedee Sp. z o.o. Karola Bohdanowicza 21/57 02-127 Varšava Poljska |
TEHNIČKE INFORMACIJE
GERDA EXXO SMART modularni cilindar
| Kategorija | Europrofilni cilindar |
| Varijante | Ekscentar / Zupčanik |
| Sigurnost | Klasa 6 prema PN-EN 1303:2015 |
| Proizvođač | GERDA Sp. z o.o. Sokołów, ul. Sokołowska 49 05-806 Komorów, Poljska +48 (22) 329 10 30 www.gerda.com |
🇭🇺 Magyar
GERDA EXXO SMART moduláris hengerbetét
Telepítési és használati útmutató
TARTALOMJEGYZÉK
Előkészületek
- A csomag tartalma
- Amire szüksége lesz
- Kódkártya
Telepítés
- 1. lépés: Készítse elő az ajtót és mérje meg a régi hengerbetétet
- 2. lépés: Állítsa be az új hengerbetétet
- 3. lépés: Szerelje be az új hengerbetétet
Támogatási elérhetőség
Műszaki információk
ELŐKÉSZÜLETEK
| ⚠️ Ez a termék nem játék, gyermekek nem telepíthetik, nem kezelhetik és nem használhatják. A termékhez mellékelt apró alkatrészek fulladásveszélyt jelenthetnek, ezért mindig tartsa azokat gyermekektől távol.
FIGYELMEZTETÉS:
Ezen irányelvek be nem tartása súlyos sérülést okozhat. A gyártó nem vállal felelősséget a nem rendeltetésszerű használatért vagy a hozzá nem értő személy által végzett telepítésért. |
A CSOMAG TARTALMA
| 1A. Bütykös modul (cam) / 1B. Fogaskerék-modul | 6. Tengelymodul | 11. Imbuszkulcs (1,5-ös) |
| 2. Kulcsmodul | 7. Hengerbetét tengelye | 12. Távtartó perselyek (15 mm, 15 mm, 10 mm, 6 mm) |
| 3. Távtartó (6 mm) | 8. Távtartó perselyek (10 mm, 6 mm) | 13. Kulcsok (×5) |
| 4. Rögzítőcsavar furata | 14. Kulcskártya | |
| 5. Távtartó (10 mm) | 10. Távtartók (6, 10, 15, 15 mm) | 15. Tedee GO adapter |
AMIRE SZÜKSÉGE LESZ
Csillagcsavarhúzó (Phillips) |
Vonalzó |
KÓDKÁRTYA
Használja a hengerbetét dobozában található kártyán lévő kódot további kulcsok megrendeléséhez a GERDA hivatalos lakatosaitól, vagy írjon e-mailt a következő címre: [[email protected]](mailto:[email protected]).
|
⚠️ Javasoljuk, hogy készítsen egy éles fotót a kódjáról, és azt biztonságos helyen őrizze meg későbbi felhasználásra. |
Kulcskártya
TELEPÍTÉS
![]() |
![]() |
![]() |
|
1. LÉPÉS Készítse elő az ajtót, és mérje meg a régi hengerbetétet. |
2. LÉPÉS Állítsa be az új hengerbetétet. |
3. LÉPÉS Szerelje be az új hengerbetétet. |
1. LÉPÉS: KÉSZÍTSE ELŐ AZ AJTÓT ÉS MÉRJE MEG A RÉGI HENGERBETÉTET
1. Ellenőrizze, mennyire áll ki a jelenlegi hengerbetét a zárrozettából (az otthona belső oldalán).
| ⚠️ Tedee PRO telepítése
A biztonságos okoszár-rögzítéshez a hengerbetétnek 2–6 mm-re kell kiállnia a zárrozettából. Ha a jelenlegi hengerbetét kevesebb mint 2 mm-t áll ki, állítsa az új moduláris hengerbetétet hosszabbra az okoszár felőli oldalon. Ha a jelenlegi hengerbetét több mint 6 mm-t áll ki, állítsa az új moduláris hengerbetétet rövidebbre az okoszár felőli oldalon. |
⚠️ Tedee GO(2) telepítése
A biztonságos okoszár-rögzítéshez a hengerbetétnek 3–8 mm-re kell kiállnia a zárrozettából. Ha a jelenlegi hengerbetét kevesebb mint 3 mm-t áll ki, állítsa az új moduláris hengerbetétet hosszabbra az okoszár felőli oldalon. Ha a jelenlegi hengerbetét több mint 8 mm-t áll ki, állítsa az új moduláris hengerbetétet rövidebbre az okoszár felőli oldalon. |
![]() |
![]() |
2. Csavarja ki az ajtózár rögzítőcsavarját, amely a régi hengerbetétet tartja, és őrizze meg az új beszereléséhez.
|
⚠️ Ha megerősített rozettával ellátott, magas biztonságú ajtója van, a hengercsere előtt szerelje le a rozettát. |
3. Helyezzen kulcsot a hengerbetétbe, kissé fordítsa el, majd óvatosan húzza ki, hogy eltávolítsa a régi hengerbetétet az ajtózárból.
|
⚠️ Bütykös (cam) hengerbetét cseréjekor előfordulhat, hogy a kulcs elfordításával be kell húzni a bütyköt. Óvatosan húzza a hengerbetétet a behelyezett kulccsal, amíg meg nem találja a helyzetet, ahol a bütyök teljesen visszahúzódik. |
4. Mérje meg a meglévő hengerbetétet, és jegyezze fel a méreteket:
![]() |
|
| A (belső)A hengerbetét belső végétől a rögzítőcsavar furatának közepéig. |
B (külső)A hengerbetét külső végétől a rögzítőcsavar furatának közepéig. |
2. LÉPÉS: ÁLLÍTSA BE AZ ÚJ HENGERBETÉTET
Alapértelmezés szerint a GERDA EXXO moduláris hengerbetét előre összeállított modulokkal érkezik.
Szükség lehet modulok eltávolítására vagy hozzáadására, hogy mindkét oldalon a hosszt a meglévő hengerbetéthez igazítsa.
| Alapértelmezett új hengerbetét
|
|
| Belső oldal Okoszár felőli oldal 41 mm (1× 10 mm-es távtartó) |
Külső oldal Kulcs felőli oldal 37 mm (1× 6 mm-es távtartó) |
| ⚠️ A GERDA EXXO moduláris hengerbetétet állítsa össze úgy, hogy a lehető legjobban megfeleljen a régi hengerbetét kulcsoldalának (külső oldal).
A belső rész összeállításakor vegye figyelembe, mennyire állt ki a régi hengerbetét a rozettából — az 1.1. lépésben mért érték. Válassza ki a kívánt belső hosszt — kicsit hosszabbat vagy rövidebbet —, hogy 2–6 mm-es (Tedee PRO) vagy 3–8 mm-es (Tedee GO(2)) kiállást érjen el. |
1. Válassza ki a kívánt modulkombinációt a hengerbetét mindkét oldalára az elérhető konfigurációkból:
| Kulcsoldal | Okoszár oldal |
| 31 mm (távtartó nélkül) | 31 mm (távtartó nélkül) |
| 37 mm (1× 6 mm) | 37 mm (1× 6 mm) |
| 41 mm (1× 10 mm) | 41 mm (1× 10 mm) |
| 46 mm (1× 15 mm) | 46 mm (1× 15 mm) |
| 47 mm (1× 6 mm + 1× 10 mm) | 47 mm (1× 6 mm + 1× 10 mm) |
| 52 mm (1× 6 mm + 1× 15 mm) | 52 mm (1× 6 mm + 1× 15 mm) |
| 56 mm (1× 10 mm + 1× 15 mm) | 56 mm (1× 10 mm + 1× 15 mm) |
| 62 mm (1× 6 mm + 1× 10 mm + 1× 15 mm) | 62 mm (1× 6 mm + 1× 10 mm + 1× 15 mm) |
|
⚠️ Csak a fenti táblázatban szereplő modulkombinációkat használja. Ne állítson be 62 mm-nél hosszabb hengerbetéthosszt egyik oldalon sem. Lépjen kapcsolatba a [email protected] címen, ha a régi hengerbetét hossza meghaladja ezt az értéket. |
2. Készítse elő a távtartókat és a hozzájuk illő perselyeket a hengerbetétre való rögzítéshez.
|
⚠️ Minden távtartóhoz a méretben megfelelő persely tartozik. |
3. Szerelje szét a hengerbetét elemeit: távolítson el négy szorítócsavart mindkét oldalról az imbuszkulccsal.
|
⚠️ A laza perselyeket óvatosan kezelje, mert kieshetnek. |
4. Adja hozzá a távtartókat: helyezze be a megfelelő perselyeket a modulba, és csatlakoztassa az elemeket.
|
⚠️ Ügyeljen a kör alakú elemek helyes forgási illesztésére. |
5. Rögzítse a hengerbetétet a szorítócsavarokkal az imbuszkulcs segítségével. Óramutató járásával megegyező irányban húzza meg.
|
⚠️ Ne feledje: minden elemen négy szorítócsavart kell meghúzni. |
6. Végső ellenőrzés:
A. Győződjön meg róla, hogy a külső hossz megegyezik a régi hengerbetétével.
B. Bizonyosodjon meg róla, hogy a belső hossz megfelelő kiállást biztosít a rozettából: 2–6 mm Tedee PRO, illetve 3–8 mm Tedee GO(2) esetén.
![]() |
![]() |
![]() |
![]() |
3. LÉPÉS: SZERELJE BE AZ ÚJ HENGERBETÉTET
1. Bütykös hengerbetét cseréjekor fordítsa el a hengerbetét tengelyét, hogy a bütyök visszahúzódjon a profilba.
2. Helyezze be a hengerbetétet az ajtózárba.
|
⚠️ Ellenőrizze, hogy a hengerbetét belső és külső oldala megfelelően van-e tájolva az otthona belső és külső oldala felé. |
3. Rögzítse a hengerbetétet a rögzítőcsavarral az ajtózárban.
4. Végezetül ellenőrizze:
A. A hengerbetét a belső oldalon 2–6 mm-t vagy 3–8 mm-t álljon ki (attól függően, hogy Tedee PRO-t vagy Tedee GO-t telepít), és szükség esetén igazítsa a megfelelő illeszkedés érdekében.
B. Próbálja ki a kulcsot kívülről, forgassa balra és jobbra, hogy meggyőződjön a reteszek sima mozgásáról.
MOST MÁR KÉSZ A TEDEE OKOSZÁR ÚJ HENGERBETÉTRE TÖRTÉNŐ FELSZERELÉSÉRE.
![]() |
![]() |
|
Tedee PRO telepítésekor Kövesse az okoszár dobozában található kézikönyvet. |
⚠️ Tedee GO(2) telepítésekor
Pattintsa a hengerbetét dobozában található Tedee GO Bar adaptert a nútos hengerbetét-tengelyre. Ezután kövesse az okoszár dobozában található telepítési útmutatót. |
MŰSZAKI TÁMOGATÁS
Segítségért lépjen kapcsolatba a Tedee ügyféltámogató csapatával:
| Weboldal
[www.tedee.com/support](http://www.tedee.com/support) Egyéb Tedee termékek kézikönyvei [www.tedee.com/support/manuals](http://www.tedee.com/support/manuals) |
Telefon
(+48) 22 307 72 67 8:00 – 16:00 (CET) |
Postacím
Tedee Sp. z o.o. Karola Bohdanowicza 21/57 02-127 Varsó Lengyelország |
MŰSZAKI INFORMÁCIÓK
GERDA EXXO SMART moduláris hengerbetét
| Kategória | Európrofilú hengerbetét |
| Változatok | Bütykös / Fogaskerekes |
| Biztonság | 6. osztály a PN-EN 1303:2015 szerint |
| Gyártó | GERDA Sp. z o.o. Sokołów, ul. Sokołowska 49 05-806 Komorów, Lengyelország +48 (22) 329 10 30 www.gerda.com |
🇮🇹 Italiano
Cilindro modulare GERDA EXXO SMART
Manuale di installazione e uso
INDICE
Preparazione
- Contenuto della confezione
- Occorrente
- Carta codice
Installazione
- Fase 1: Prepara la porta e misura il vecchio cilindro
- Fase 2: Regola il nuovo cilindro
- Fase 3: Installa il nuovo cilindro
Contatto assistenza
Informazioni tecniche
PREPARAZIONE
| ⚠️ Questo prodotto non è un giocattolo e non deve essere installato, maneggiato o utilizzato dai bambini. Le piccole parti incluse con il prodotto costituiscono un potenziale rischio di soffocamento e devono essere tenute sempre fuori dalla loro portata.
AVVERTENZA:
Il mancato rispetto di queste indicazioni può causare gravi lesioni. Il produttore non si assume alcuna responsabilità per un uso improprio o per installazioni effettuate da personale non qualificato. |
CONTENUTO DELLA CONFEZIONE
| 1A. Modulo a camma / 1B. Modulo a ingranaggi | 6. Modulo albero | 11. Chiave Allen (misura 1,5) |
| 2. Modulo chiave | 7. Albero del cilindro | 12. Boccole distanziatrici (15 mm, 15 mm, 10 mm, 6 mm) |
| 3. Distanziatore (6 mm) | 8. Boccole distanziatrici (10 mm, 6 mm) | 13. Chiavi (×5) |
| 4. Foro per vite di fissaggio | 14. Tessera chiave | |
| 5. Distanziatore (10 mm) | 10. Distanziatori (6, 10, 15, 15 mm) | 15. Adattatore Tedee GO |
OCCORRENTE
Cacciavite Phillips |
Righello |
CARTA CODICE
Usa il codice presente sulla carta inclusa nella confezione del cilindro per ordinare chiavi aggiuntive presso i fabbri GERDA autorizzati oppure scrivendo a [[email protected]](mailto:[email protected]).
|
⚠️ Consigliamo di scattare una foto chiara del tuo codice e conservarla in modo sicuro per usi futuri. |
Tessera chiave
INSTALLAZIONE
![]() |
![]() |
![]() |
|
FASE 1 Prepara la porta e misura il vecchio cilindro. |
FASE 2 Regola il nuovo cilindro. |
FASE 3 Installa il nuovo cilindro. |
FASE 1: PREPARA LA PORTA E MISURA IL VECCHIO CILINDRO
1. Verifica di quanto il cilindro esistente sporge dalla rosetta della serratura (sul lato interno dell’appartamento).
| ⚠️ Installazione di Tedee PRO
Il supporto di fissaggio sicuro della serratura smart richiede che il cilindro sporga di 2–6 mm dalla rosetta. Se il cilindro esistente sporge meno di 2 mm, regola il nuovo cilindro modulare su una lunghezza maggiore dal lato della serratura smart. Se il cilindro esistente sporge più di 6 mm, regola il nuovo cilindro modulare su una lunghezza minore dal lato della serratura smart. |
⚠️ Installazione di Tedee GO(2)
Il supporto di fissaggio sicuro della serratura smart richiede che il cilindro sporga di 3–8 mm dalla rosetta. Se il cilindro esistente sporge meno di 3 mm, regola il nuovo cilindro modulare su una lunghezza maggiore dal lato della serratura smart. Se il cilindro esistente sporge più di 8 mm, regola il nuovo cilindro modulare su una lunghezza minore dal lato della serratura smart. |
![]() |
![]() |
2. Rimuovi la vite di fissaggio della serratura della porta che blocca il vecchio cilindro e conservala per l’installazione del nuovo.
|
⚠️ Se hai una porta di alta sicurezza con rosetta rinforzata, smonta la rosetta prima di estrarre il cilindro dalla serratura. |
3. Inserisci una chiave nel cilindro, ruotala leggermente e tira delicatamente per rimuovere il vecchio cilindro dalla serratura della porta.
|
⚠️ Quando si sostituisce un cilindro a camma, potrebbe essere necessario girare la chiave per rientrare la camma. Tira delicatamente il cilindro con la chiave inserita per trovare la posizione in cui la camma è completamente rientrata. |
4. Misura il cilindro esistente e annota le dimensioni:
![]() |
|
| A (interno)Dall’estremità interna del cilindro al centro del foro della vite di fissaggio. |
B (esterno)Dall’estremità esterna del cilindro al centro del foro della vite di fissaggio. |
FASE 2: REGOLA IL NUOVO CILINDRO
Di default, il cilindro modulare GERDA EXXO è fornito con moduli preassemblati.
Potrebbe essere necessario rimuovere o aggiungere moduli per configurare la lunghezza su entrambi i lati in modo che corrisponda al cilindro esistente.
| Nuovo cilindro predefinito
|
|
| Interno Lato serratura smart 41 mm (1× distanziatore da 10 mm) |
Esterno Lato chiave 37 mm (1× distanziatore da 6 mm) |
| ⚠️ Assembla il cilindro modulare GERDA EXXO in modo che corrisponda il più possibile al lato chiave (esterno) del tuo vecchio cilindro.
Quando assembli la parte interna del cilindro, ricorda quanto sporgeva il vecchio cilindro dalla rosetta — la misura rilevata al punto 1.1. Scegli la lunghezza interna desiderata, leggermente più lunga o più corta, per ottenere una sporgenza del cilindro di 2–6 mm (per Tedee PRO) o 3–8 mm (per Tedee GO(2)). |
1. Scegli la combinazione di moduli desiderata per entrambi i lati del cilindro tra le configurazioni disponibili:
| Lato chiave | Lato serratura smart |
| 31 mm (senza distanziatori) | 31 mm (senza distanziatori) |
| 37 mm (1× 6 mm) | 37 mm (1× 6 mm) |
| 41 mm (1× 10 mm) | 41 mm (1× 10 mm) |
| 46 mm (1× 15 mm) | 46 mm (1× 15 mm) |
| 47 mm (1× 6 mm + 1× 10 mm) | 47 mm (1× 6 mm + 1× 10 mm) |
| 52 mm (1× 6 mm + 1× 15 mm) | 52 mm (1× 6 mm + 1× 15 mm) |
| 56 mm (1× 10 mm + 1× 15 mm) | 56 mm (1× 10 mm + 1× 15 mm) |
| 62 mm (1× 6 mm + 1× 10 mm + 1× 15 mm) | 62 mm (1× 6 mm + 1× 10 mm + 1× 15 mm) |
|
⚠️ Utilizza solo combinazioni di moduli presenti nella tabella sopra. Non configurare lunghezze del cilindro superiori a 62 mm su nessun lato. Contatta [email protected] se il tuo vecchio cilindro supera questa lunghezza. |
2. Prepara i distanziatori e le relative boccole da fissare al cilindro.
|
⚠️ Ogni distanziatore ha una boccola di dimensioni corrispondenti. |
3. Separa gli elementi del cilindro rimuovendo quattro viti di serraggio da entrambi i lati usando la chiave Allen.
|
⚠️ Maneggia con cura le boccole sciolte, poiché potrebbero cadere. |
4. Aggiungi i distanziatori inserendo le boccole corrispondenti nel modulo e collegando gli elementi.
|
⚠️ Assicurati che l’allineamento di rotazione degli elementi circolari sia corretto. |
5. Fissa il cilindro con le viti di serraggio usando la chiave Allen. Ruota in senso orario fino al serraggio.
|
⚠️ Ricorda di serrare quattro viti su ciascun elemento. |
6. Esegui un controllo finale:
A. Assicurati che la lunghezza esterna corrisponda al tuo vecchio cilindro.
B. Assicurati che la lunghezza interna fornisca una sporgenza adeguata dalla rosetta della serratura: 2–6 mm per Tedee PRO o 3–8 mm per Tedee GO(2).
![]() |
![]() |
![]() |
![]() |
FASE 3: INSTALLA IL NUOVO CILINDRO
1. Quando sostituisci un cilindro a camma, ruota l’albero del cilindro per retrarre la camma nel profilo del cilindro.
2. Inserisci il cilindro nella serratura della porta.
|
⚠️ Assicurati che i lati del cilindro siano correttamente orientati rispetto all’interno e all’esterno del tuo appartamento. |
3. Avvita la vite di fissaggio per bloccare il cilindro nella serratura della porta.
4. Esegui un controllo finale:
A. Assicurati che il cilindro sporga all’interno di 2–6 mm o 3–8 mm, a seconda che tu stia installando Tedee PRO o Tedee GO. Regola se necessario per un corretto allineamento.
B. Prova la chiave dall’esterno ruotandola a sinistra e a destra per verificare che i catenacci si muovano senza attriti.
ORA SEI PRONTO PER INSTALLARE LA TUA SERRATURA SMART TEDEE SUL NUOVO CILINDRO.
![]() |
![]() |
|
Durante l’installazione di Tedee PRO Segui il manuale presente nella confezione della serratura smart. |
⚠️ Durante l’installazione di Tedee GO(2)
Aggancia l’adattatore Tedee GO Bar dalla confezione del cilindro all’albero scanalato del cilindro. Quindi, segui il manuale di installazione presente nella confezione della serratura smart. |
ASSISTENZA TECNICA
Per assistenza, contatta il Team di Supporto Tedee:
| Sito web
[www.tedee.com/support](http://www.tedee.com/support) Manuali degli altri prodotti Tedee [www.tedee.com/support/manuals](http://www.tedee.com/support/manuals) |
Telefono
(+48) 22 307 72 67 8:00 – 16:00 (CET) |
Indirizzo
Tedee Sp. z o.o. Karola Bohdanowicza 21/57 02-127 Varsavia Polonia |
INFORMAZIONI TECNICHE
Cilindro modulare GERDA EXXO SMART
| Categoria | Cilindro a profilo europeo |
| Varianti | Camma / Ingranaggi |
| Sicurezza | Classe 6 secondo PN-EN 1303:2015 |
| Produttore | GERDA Sp. z o.o. Sokołów, ul. Sokołowska 49 05-806 Komorów, Polonia +48 (22) 329 10 30 www.gerda.com |
🇯🇵 日本語
GERDA EXXO SMART モジュラーシリンダー
取付・使用マニュアル
目次
準備
- 同梱物
- 必要な工具
- コードカード
取付
- ステップ1:ドアの準備と旧シリンダーの採寸
- ステップ2:新しいシリンダーの調整
- ステップ3:新しいシリンダーの取付
サポート連絡先
技術情報
準備
| ⚠️ 本製品は玩具ではありません。子どもが設置・取り扱い・使用することはできません。同梱されている小さな部品は誤飲・窒息の危険があるため、常に子どもの手の届かない場所に保管してください。
警告:
これらの指示に従わないと重大な傷害につながるおそれがあります。不適切な使用や有資格者以外による設置について、製造者は一切の責任を負いません。 |
同梱物
| 1A. カムモジュール / 1B. ギアモジュール | 6. シャフトモジュール | 11. 六角レンチ(サイズ 1.5) |
| 2. キーモジュール | 7. シリンダーシャフト | 12. スペーサースプール(15mm、15mm、10mm、6mm) |
| 3. スペーサー(6mm) | 8. スペーサースプール(10mm、6mm) | 13. キー(×5) |
| 4. 取付ねじ穴 | 14. キーカード | |
| 5. スペーサー(10mm) | 10. スペーサー(6、10、15、15mm) | 15. Tedee GO アダプター |
必要な工具
プラスドライバー(Phillips) |
定規 |
コードカード
シリンダー箱に同梱のカードに記載のコードを使用して、GERDA 認定の鍵業者へ追加キーを注文するか、[[email protected]](mailto:[email protected]) にメールでご依頼ください。
|
⚠️ コードの鮮明な写真を撮影し、将来のために安全な場所へ保管することを推奨します。 |
キーカード
取付
![]() |
![]() |
![]() |
|
STEP 1 ドアを準備し、旧シリンダーを採寸します。 |
STEP 2 新しいシリンダーを調整します。 |
STEP 3 新しいシリンダーを取り付けます。 |
STEP 1:ドアの準備と旧シリンダーの採寸
1. 現在のシリンダーが錠前のエスカッション(座)の外へどれだけ突出しているか(室内側)を確認します。
| ⚠️ Tedee PRO を取り付ける場合
スマートロックの安全なマウントには、シリンダーがエスカッションから 2–6mm 突出している必要があります。 既存のシリンダーの突出が 2mm 未満の場合は、スマートロック側の長さが長くなるよう新しいモジュラーシリンダーを調整してください。 既存のシリンダーの突出が 6mm を超える場合は、スマートロック側の長さが短くなるよう新しいモジュラーシリンダーを調整してください。 |
⚠️ Tedee GO(2) を取り付ける場合
スマートロックの安全なマウントには、シリンダーがエスカッションから 3–8mm 突出している必要があります。 既存のシリンダーの突出が 3mm 未満の場合は、スマートロック側の長さが長くなるよう新しいモジュラーシリンダーを調整してください。 既存のシリンダーの突出が 8mm を超える場合は、スマートロック側の長さが短くなるよう新しいモジュラーシリンダーを調整してください。 |
![]() |
![]() |
2. ドア錠の取付ねじ(旧シリンダーを固定しているねじ)を外し、新しいシリンダーの取付に備えて保管します。
|
⚠️ 強化エスカッション付きの高セキュリティドアの場合、シリンダーを抜く前にエスカッションを分解してください。 |
3. シリンダーに鍵を差し込み、少し回してから、ドア錠から旧シリンダーをゆっくり引き抜きます。
|
⚠️ カムシリンダーを交換する場合、カムを収納するために鍵を回す必要があることがあります。鍵を差し込んだままシリンダーを軽く引き、カムが完全に収納される位置を見つけてください。 |
4. 既存のシリンダーを採寸し、寸法を記録します。
![]() |
|
| A (内側)シリンダー内側端から取付ねじ穴中心まで。 |
B (外側)シリンダー外側端から取付ねじ穴中心まで。 |
STEP 2:新しいシリンダーの調整
GERDA EXXO モジュラーシリンダーは、標準で一部モジュールが装着された状態で出荷されます。
既存シリンダーに合わせて、両側の長さを調整するためにモジュールを取り外す/追加する必要がある場合があります。
| 新規(出荷時)シリンダー
|
|
| 内側 スマートロック側 41mm (10mm スペーサー ×1) |
外側 キー側 37mm (6mm スペーサー ×1) |
| ⚠️ 旧シリンダーのキー側(外側)にできるだけ近くなるよう、GERDA EXXO モジュラーシリンダーを組み立ててください。
内側の組み立て時は、ステップ1.1で測定した旧シリンダーのエスカッションからの突出量を考慮してください。 内側の長さは、やや長め/短めを選択し、Tedee PRO は 2–6mm、Tedee GO(2) は 3–8mm の突出が得られるように調整してください。 |
1. 利用可能な構成から、両側の望ましいモジュール組み合わせを選択します。
| キー側 | スマートロック側 |
| 31mm(スペーサーなし) | 31mm(スペーサーなし) |
| 37mm(6mm ×1) | 37mm(6mm ×1) |
| 41mm(10mm ×1) | 41mm(10mm ×1) |
| 46mm(15mm ×1) | 46mm(15mm ×1) |
| 47mm(6mm ×1 + 10mm ×1) | 47mm(6mm ×1 + 10mm ×1) |
| 52mm(6mm ×1 + 15mm ×1) | 52mm(6mm ×1 + 15mm ×1) |
| 56mm(10mm ×1 + 15mm ×1) | 56mm(10mm ×1 + 15mm ×1) |
| 62mm(6mm ×1 + 10mm ×1 + 15mm ×1) | 62mm(6mm ×1 + 10mm ×1 + 15mm ×1) |
|
⚠️ 上表のモジュール組み合わせのみを使用してください。 いずれの側でも 62mm を超える長さには設定しないでください。 旧シリンダーの長さがこれを超える場合は、[email protected] へお問い合わせください。 |
2. シリンダーに取り付けるため、スペーサーと対応するスプールを準備します。
|
⚠️ 各スペーサーには、対応サイズのスプールが付属します。 |
3. 六角レンチで両側のクランプねじを4本ずつ外し、シリンダーの各要素を分解します。
|
⚠️ スプールが抜け落ちることがあるため、取り扱いに注意してください。 |
4. 対応するスプールをモジュールに挿入し、各要素を接続してスペーサーを追加します。
|
⚠️ 円形部品の回転位置の合わせが正しいことを確認してください。 |
5. 六角レンチでクランプねじを締め、シリンダーを固定します。時計回りに回して確実に締め付けてください。
|
⚠️ 各要素につき 4 本のクランプねじを忘れずに固定してください。 |
6. 最終確認を行います。
A. 外側の長さが旧シリンダーと一致しているか確認します。
B. 内側の長さが適切な突出量(Tedee PRO は 2–6mm、Tedee GO(2) は 3–8mm)を確保しているか確認します。
![]() |
![]() |
![]() |
![]() |
STEP 3:新しいシリンダーの取付
1. カムシリンダーを交換する場合は、シリンダーシャフトを回してカムをシリンダープロファイル内に収納します。
2. シリンダーをドア錠に挿入します。
|
⚠️ シリンダーの内側/外側の向きが住居の内側/外側と正しく一致していることを確認してください。 |
3. 取付ねじを締め、シリンダーをドア錠内に固定します。
4. 最終確認:
A. 取り付ける製品が Tedee PRO か Tedee GO かに応じ、内側の突出が 2–6mm または 3–8mm になっていること。必要に応じて調整してください。
B. 外側から鍵を左右に回し、ボルトがスムーズに動くかを確認してください。
これで新しいシリンダーに TEDEE スマートロックを取り付ける準備が整いました。
![]() |
![]() |
|
Tedee PRO を取り付ける場合 スマートロック同梱のマニュアルに従ってください。 |
⚠️ Tedee GO(2) を取り付ける場合
シリンダー箱に同梱の Tedee GO Bar アダプターを、溝付きシリンダーシャフトにクリップで固定します。 その後、スマートロック同梱の取付マニュアルに従ってください。 |
テクニカルサポート
サポートが必要な場合は Tedee サポートチームまでご連絡ください:
| Web サイト
[www.tedee.com/support](http://www.tedee.com/support) その他 Tedee 製品のマニュアル [www.tedee.com/support/manuals](http://www.tedee.com/support/manuals) |
電話
(+48) 22 307 72 67 8:00 – 16:00(CET) |
郵送先
Tedee Sp. z o.o. Karola Bohdanowicza 21/57 02-127 ワルシャワ ポーランド |
技術情報
GERDA EXXO SMART モジュラーシリンダー
| カテゴリ | ユーロプロファイルシリンダー |
| バリエーション | カム / ギア |
| セキュリティ | PN-EN 1303:2015 に準拠したクラス 6 |
| 製造者 | GERDA Sp. z o.o. Sokołów, ul. Sokołowska 49 05-806 Komorów, Poland +48 (22) 329 10 30 www.gerda.com |
🇱🇹 Lietuvių
GERDA EXXO SMART modulinis cilindras
Montavimo ir naudojimo vadovas
TURINYS
Paruošimas
- Dėžutės turinys
- Ko jums reikia
- Kodo kortelė
Montavimas
- 1 žingsnis: Paruoškite duris ir išmatuokite seną cilindrą
- 2 žingsnis: Sureguliuokite naują cilindrą
- 3 žingsnis: Sumontuokite naują cilindrą
Pagalbos kontaktai
Techninė informacija
PARUOŠIMAS
| ⚠️ Šis produktas nėra žaislas. Vaikai neturi jo montuoti, valdyti ar naudoti. Į komplektą įtrauktos smulkios dalys kelia galimo užspringimo pavojų ir visada turi būti laikomos vaikams nepasiekiamoje vietoje.
ĮSPĖJIMAS:
Nesilaikant šių nurodymų gali būti padaryta rimta žala sveikatai. Gamintojas neprisiima atsakomybės už netinkamą naudojimą ar montavimą nekvalifikuotų asmenų. |
DĖŽUTĖS TURINYS
| 1A. Kumštelio modulis / 1B. Pavaros modulis | 6. Velenų modulis | 11. Šešiakampis raktas (dydis 1,5) |
| 2. Rakto modulis | 7. Cilindro velenas | 12. Tarpiklių įvorės (15 mm, 15 mm, 10 mm, 6 mm) |
| 3. Tarpiklis (6 mm) | 8. Tarpiklių įvorės (10 mm, 6 mm) | 13. Raktai (×5) |
| 4. Tvirtinimo varžto anga | 14. Rakto kortelė | |
| 5. Tarpiklis (10 mm) | 10. Tarpikliai (6, 10, 15, 15 mm) | 15. Tedee GO adapteris |
KO JUMS REIKIA
Kryžminis atsuktuvas (Phillips) |
Liniuotė |
KODO KORTELĖ
Naudokite kortelėje, esančioje cilindro dėžutėje, nurodytą kodą papildomiems raktams užsakyti iš įgaliotų GERDA meistrų arba el. paštu [[email protected]](mailto:[email protected]).
|
⚠️ Rekomenduojame aiškiai nufotografuoti savo kodą ir saugiai jį laikyti ateičiai. |
Rakto kortelė
MONTAVIMAS
![]() |
![]() |
![]() |
|
1 ŽINGSNIS Paruoškite duris ir išmatuokite seną cilindrą. |
2 ŽINGSNIS Sureguliuokite naują cilindrą. |
3 ŽINGSNIS Sumontuokite naują cilindrą. |
1 ŽINGSNIS: PARUOŠKITE DURIS IR IŠMATUOKITE SENĄ CILINDRĄ
1. Patikrinkite, kiek jūsų esamas cilindras išsikiša iš spynos rozetės (butų vidaus pusėje).
| ⚠️ Montuojant Tedee PRO
Saugiam išmaniosios spynos laikikliui reikalinga 2–6 mm cilindro iškyša iš rozetės. Jei esamas cilindras išsikiša mažiau nei 2 mm, sureguliuokite naują modulinį cilindrą ilgesnį iš išmaniosios spynos pusės. Jei esamas cilindras išsikiša daugiau nei 6 mm, sureguliuokite naują modulinį cilindrą trumpesnį iš išmaniosios spynos pusės. |
⚠️ Montuojant Tedee GO(2)
Saugiam išmaniosios spynos laikikliui reikalinga 3–8 mm cilindro iškyša iš rozetės. Jei esamas cilindras išsikiša mažiau nei 3 mm, sureguliuokite naują modulinį cilindrą ilgesnį iš išmaniosios spynos pusės. Jei esamas cilindras išsikiša daugiau nei 8 mm, sureguliuokite naują modulinį cilindrą trumpesnį iš išmaniosios spynos pusės. |
![]() |
![]() |
2. Išsukite durų spynos tvirtinimo varžtą, kuris laiko seną cilindrą, ir pasilikite jį naujo cilindro montavimui.
|
⚠️ Jei turite aukšto saugumo duris su sustiprinta rozetė, prieš išimdami cilindrą pirmiausia išrinkite rozetę. |
3. Įkiškite raktą į cilindrą, šiek tiek jį pasukite ir atsargiai traukite, kad išimtumėte seną cilindrą iš durų spynos.
|
⚠️ Keičiant kumštelinį cilindrą gali reikėti pasukti raktą, kad kumštelis pasislėptų. Švelniai traukite cilindrą su įkištu raktu, kol rasite padėtį, kurioje kumštelis visiškai pasislepia. |
4. Išmatuokite esamą cilindrą ir užsirašykite matmenis:
![]() |
|
| A (vidus)Nuo cilindro vidinio galo iki tvirtinimo varžto angos centro. |
B (išorė)Nuo cilindro išorinio galo iki tvirtinimo varžto angos centro. |
2 ŽINGSNIS: SUREGULIUOKITE NAUJĄ CILINDRĄ
Pagal nutylėjimą GERDA EXXO modulinis cilindras pateikiamas su iš anksto pritvirtintais moduliais.
Gali tekti nuimti arba pridėti modulius, kad suformuotumėte reikiamą abiejų pusių ilgį, atitinkantį jūsų esamą cilindrą.
| Numatytasis naujas cilindras
|
|
| Vidinė pusė Išmaniosios spynos pusė 41 mm (1× 10 mm tarpiklis) |
Išorinė pusė Rakto pusė 37 mm (1× 6 mm tarpiklis) |
| ⚠️ Surinkite GERDA EXXO modulinį cilindrą taip, kad kiek įmanoma tiksliau atitiktų seno cilindro rakto pusę (išorę).
Rinkdami vidinę cilindro dalį, prisiminkite, kiek jūsų senas cilindras išsikišo iš rozetės — 1.1 žingsnyje atliktą matavimą. Pasirinkite pageidaujamą vidinį ilgį, šiek tiek ilgesnį arba trumpesnį, kad cilindras išsikištų 2–6 mm (Tedee PRO) arba 3–8 mm (Tedee GO(2)). |
1. Pasirinkite pageidaujamą modulių kombinaciją abiem cilindro pusėms iš galimų konfiguracijų:
| Rakto pusė | Išmaniosios spynos pusė |
| 31 mm (be tarpiklių) | 31 mm (be tarpiklių) |
| 37 mm (1× 6 mm) | 37 mm (1× 6 mm) |
| 41 mm (1× 10 mm) | 41 mm (1× 10 mm) |
| 46 mm (1× 15 mm) | 46 mm (1× 15 mm) |
| 47 mm (1× 6 mm + 1× 10 mm) | 47 mm (1× 6 mm + 1× 10 mm) |
| 52 mm (1× 6 mm + 1× 15 mm) | 52 mm (1× 6 mm + 1× 15 mm) |
| 56 mm (1× 10 mm + 1× 15 mm) | 56 mm (1× 10 mm + 1× 15 mm) |
| 62 mm (1× 6 mm + 1× 10 mm + 1× 15 mm) | 62 mm (1× 6 mm + 1× 10 mm + 1× 15 mm) |
|
⚠️ Naudokite tik aukščiau pateiktoje lentelėje nurodytas modulių kombinacijas. Nenustatykite cilindro ilgio ilgesnio nei 62 mm nė vienoje pusėje. Susisiekite el. paštu [email protected], jei jūsų senas cilindras viršija šį ilgį. |
2. Paruoškite tarpiklius ir atitinkamas įvores jų tvirtinimui prie cilindro.
|
⚠️ Kiekvienam tarpikliui priskirta atitinkamo dydžio įvorė. |
3. Išardykite cilindro elementus, iš abiejų pusių išsukdami po keturis spaudimo varžtus su šešiakampiu raktu.
|
⚠️ Atsargiai elkitės su laisvomis įvorėmis – jos gali iškristi. |
4. Pridėkite tarpiklius įstatydami atitinkamas įvores į modulį ir sujungdami elementus.
|
⚠️ Įsitikinkite, kad apskritų elementų pasukimo padėtis sureguliuota teisingai. |
5. Priveržkite cilindrą spaudimo varžtais, naudodami šešiakampį raktą. Sukite pagal laikrodžio rodyklę, kol tvirtai prisispaus.
|
⚠️ Nepamirškite: kiekviename elemente turi būti priveržti keturi spaudimo varžtai. |
6. Atlikite galutinį patikrinimą:
A. Įsitikinkite, kad išorinės pusės ilgis sutampa su senu cilindru.
B. Įsitikinkite, kad vidinės pusės ilgis užtikrina tinkamą išsikišimą iš rozetės: 2–6 mm Tedee PRO arba 3–8 mm Tedee GO(2) atveju.
![]() |
![]() |
![]() |
![]() |
3 ŽINGSNIS: SUMONTUOKITE NAUJĄ CILINDRĄ
1. Keičiant kumštelinį cilindrą, pasukite cilindro veleną, kad kumštelis įsitrauktų į cilindro profilį.
2. Įstatykite cilindrą į durų spyną.
|
⚠️ Įsitikinkite, kad cilindro pusės teisingai atitinka jūsų būsto vidų ir išorę. |
3. Prisukite tvirtinimo varžtą, kad užfiksuotumėte cilindrą durų spynoje.
4. Galutinis patikrinimas:
A. Įsitikinkite, kad cilindras vidaus pusėje išsikiša 2–6 mm arba 3–8 mm, priklausomai nuo to, ar montuojate Tedee PRO, ar Tedee GO. Jei reikia, pakoreguokite, kad būtų tinkama padėtis.
B. Iš išorės pasukite raktą į kairę ir į dešinę, kad įsitikintumėte, jog skląsčiai juda sklandžiai.
DABAR ESATE PASIRUOŠĘ SUMONTUOTI SAVO TEDEE IŠMANIĄJĄ SPYNĄ ANT NAUJO CILINDRO.
![]() |
![]() |
|
Montuojant Tedee PRO Vadovaukitės išmaniosios spynos dėžutėje esančiu vadovu. |
⚠️ Montuojant Tedee GO(2)
Užspauskite iš cilindro dėžutės paimtą Tedee GO Bar adapterį ant įrantyto cilindro veleno. Tuomet vadovaukitės išmaniosios spynos dėžutėje esančiu montavimo vadovu. |
TECHNINĖ PAGALBA
Jei reikia pagalbos, susisiekite su Tedee palaikymo komanda:
| El. paštas | Svetainė
[www.tedee.com/support](http://www.tedee.com/support) Kitų Tedee produktų vadovai [www.tedee.com/support/manuals](http://www.tedee.com/support/manuals) |
Telefonas
(+48) 22 307 72 67 8:00 – 16:00 (CET) |
Paštas
Tedee Sp. z o.o. Karola Bohdanowicza 21/57 02-127 Varšuva Lenkija |
TECHNINĖ INFORMACIJA
GERDA EXXO SMART modulinis cilindras
| Kategorija | Euro profilio cilindras |
| Variantai | Kumštelis / Pavara |
| Saugumas | 6 klasė pagal PN-EN 1303:2015 |
| Gamintojas | GERDA Sp. z o.o. Sokołów, ul. Sokołowska 49 05-806 Komorów, Lenkija +48 (22) 329 10 30 www.gerda.com |
🇱🇻 Latviešu
GERDA EXXO SMART modulārais cilindrs
Uzstādīšanas un lietošanas rokasgrāmata
SATURA RĀDĪTĀJS
Sagatavošanās
- Kastes saturs
- Nepieciešamie rīki
- Koda karte
Uzstādīšana
- 1. solis: Sagatavojiet durvis un izmēriet veco cilindru
- 2. solis: Pieregulējiet jauno cilindru
- 3. solis: Uzstādiet jauno cilindru
Atbalsta kontakti
Tehniskā informācija
SAGATAVOŠANĀS
| ⚠️ Šis izstrādājums nav rotaļlieta, un bērniem to nedrīkst uzstādīt, apstrādāt vai lietot. Komplektā iekļautās sīkās detaļas rada aizrīšanās risku un vienmēr jātur bērniem nepieejamā vietā.
BRĪDINĀJUMS:
Norādījumu neievērošana var radīt nopietnus savainojumus. Ražotājs neuzņemas atbildību par neatbilstošu lietošanu vai uzstādīšanu, ko veikušas nekvalificētas personas. |
KASTES SATURS
| 1A. Kamas modulis / 1B. Zobratu modulis | 6. Vārpstas modulis | 11. Imbusatslēga (izmērs 1,5) |
| 2. Atslēgas modulis | 7. Cilindra vārpsta | 12. Distanču uzmavas (15 mm, 15 mm, 10 mm, 6 mm) |
| 3. Distancers (6 mm) | 8. Distanču uzmavas (10 mm, 6 mm) | 13. Atslēgas (×5) |
| 4. Stiprinājuma skrūves ligzda | 14. Atslēgas karte | |
| 5. Distancers (10 mm) | 10. Distančeri (6, 10, 15, 15 mm) | 15. Tedee GO adapteris |
NEPIECIEŠAMIE RĪKI
Krusteniskais skrūvgriezis (Phillips) |
Lineāls |
KODA KARTE
Izmantojiet kartē, kas iekļauta cilindra kastē, norādīto kodu, lai pasūtītu papildu atslēgas no pilnvarotiem GERDA atslēdzniekiem vai rakstot uz [[email protected]](mailto:[email protected]).
|
⚠️ Iesakām skaidri nofotografēt savu kodu un glabāt to drošā vietā turpmākai izmantošanai. |
Atslēgas karte
UZSTĀDĪŠANA
![]() |
![]() |
![]() |
|
1. SOLIS Sagatavojiet durvis un izmēriet veco cilindru. |
2. SOLIS Pieregulējiet jauno cilindru. |
3. SOLIS Uzstādiet jauno cilindru. |
1. SOLIS: SAGATAVOJiet DURVIS UN IZMĒRIET VECO CILINDRU
1. Pārbaudiet, cik tālu esošais cilindrs izvirzās no slēdzenes rozetes (dzīvokļa iekšpusē).
| ⚠️ Uzstādot Tedee PRO
Drošam viedslēdzenes stiprinājumam nepieciešams, lai cilindrs izvirzītos 2–6 mm no rozetes. Ja esošā cilindra izvirzījums ir mazāks par 2 mm, noregulējiet jauno modulāro cilindru garāku viedslēdzenes pusē. Ja esošā cilindra izvirzījums pārsniedz 6 mm, noregulējiet jauno modulāro cilindru īsāku viedslēdzenes pusē. |
⚠️ Uzstādot Tedee GO(2)
Drošam viedslēdzenes stiprinājumam nepieciešams, lai cilindrs izvirzītos 3–8 mm no rozetes. Ja esošā cilindra izvirzījums ir mazāks par 3 mm, noregulējiet jauno modulāro cilindru garāku viedslēdzenes pusē. Ja esošā cilindra izvirzījums pārsniedz 8 mm, noregulējiet jauno modulāro cilindru īsāku viedslēdzenes pusē. |
![]() |
![]() |
2. Izskrūvējiet durvju slēdzenes stiprinājuma skrūvi, kas fiksē veco cilindru, un saglabājiet to jaunā uzstādīšanai.
|
⚠️ Ja jums ir augstas drošības durvis ar pastiprinātu rozeti, pirms cilindra izņemšanas izjauciet rozetes uzliku. |
3. Ievietojiet atslēgu cilindrā, nedaudz to pagrieziet un uzmanīgi pavelciet, lai izņemtu veco cilindru no durvju slēdzenes.
|
⚠️ Nomainot kamas cilindru, iespējams, būs jāpagroza atslēga, lai kama ieietu korpusā. Viegli velciet cilindru ar iestiprinātu atslēgu, līdz atrodat pozīciju, kurā kama ir pilnībā paslēpta. |
4. Izmēriet esošo cilindru un pierakstiet izmērus:
![]() |
|
| A (iekšpuse)No cilindra iekšējā gala līdz stiprinājuma skrūves ligzdas centram. |
B (ārpuse)No cilindra ārējā gala līdz stiprinājuma skrūves ligzdas centram. |
2. SOLIS: PIEREGULĒJIET JAUNO CILINDRU
GERDA EXXO modulārais cilindrs pēc noklusējuma ir ar iepriekš pievienotiem moduļiem.
Var būt nepieciešams noņemt vai pievienot moduļus, lai abās pusēs iegūtu garumu, kas atbilst jūsu esošajam cilindram.
| Noklusējuma jaunais cilindrs
|
|
| Iekšpuse Viedslēdzenes puse 41 mm (1× 10 mm distancers) |
Ārpuse Atslēgas puse 37 mm (1× 6 mm distancers) |
| ⚠️ Salieciet GERDA EXXO modulāro cilindru tā, lai tas pēc iespējas precīzāk atbilstu vecā cilindra atslēgas pusei (ārpusei).
Saliekot cilindra iekšpuses daļu, ņemiet vērā, cik ļoti vecais cilindrs izvirzījās no rozetes — mērījums no 1.1. soļa. Izvēlieties vēlamo iekšpuses garumu — nedaudz garāku vai īsāku — lai panāktu cilindra izvirzījumu 2–6 mm (Tedee PRO) vai 3–8 mm (Tedee GO(2)). |
1. Izvēlieties vēlamo moduļu kombināciju abām cilindra pusēm no pieejamajām konfigurācijām:
| Atslēgas puse | Viedslēdzenes puse |
| 31 mm (bez distanceriem) | 31 mm (bez distanceriem) |
| 37 mm (1× 6 mm) | 37 mm (1× 6 mm) |
| 41 mm (1× 10 mm) | 41 mm (1× 10 mm) |
| 46 mm (1× 15 mm) | 46 mm (1× 15 mm) |
| 47 mm (1× 6 mm + 1× 10 mm) | 47 mm (1× 6 mm + 1× 10 mm) |
| 52 mm (1× 6 mm + 1× 15 mm) | 52 mm (1× 6 mm + 1× 15 mm) |
| 56 mm (1× 10 mm + 1× 15 mm) | 56 mm (1× 10 mm + 1× 15 mm) |
| 62 mm (1× 6 mm + 1× 10 mm + 1× 15 mm) | 62 mm (1× 6 mm + 1× 10 mm + 1× 15 mm) |
|
⚠️ Izmantojiet tikai moduļu kombinācijas no iepriekš redzamās tabulas. Nenoregulējiet cilindra garumu garāku par 62 mm nevienā pusē. Sazinieties ar [email protected], ja jūsu vecais cilindrs pārsniedz šo garumu. |
2. Sagatavojiet distancerus un atbilstošās uzmavas piestiprināšanai pie cilindra.
|
⚠️ Katram distanceram ir atbilstoša izmēra uzmava. |
3. Atvienojiet cilindra elementus, no abām pusēm izskrūvējot četras stiprināšanas skrūves ar imbusatslēgu.
|
⚠️ Rīkojieties uzmanīgi ar brīvajām uzmavām — tās var izkrist. |
4. Pievienojiet distancerus, ievietojot atbilstošās uzmavas modulī un savienojot elementus.
|
⚠️ Pārliecinieties, ka apaļo elementu rotācijas saskaņojums ir pareizs. |
5. Nostipriniet cilindru ar stiprināšanas skrūvēm, izmantojot imbusatslēgu. Griežot pulksteņrādītāja virzienā, pievelciet līdz fiksācijai.
|
⚠️ Atcerieties pievilkt četras stiprināšanas skrūves uz katra elementa. |
6. Veiciet gala pārbaudi:
A. Pārliecinieties, ka ārpuses garums atbilst jūsu vecajam cilindram.
B. Pārliecinieties, ka iekšpuses garums nodrošina atbilstošu izvirzījumu no rozetes: 2–6 mm Tedee PRO vai 3–8 mm Tedee GO(2) gadījumā.
![]() |
![]() |
![]() |
![]() |
3. SOLIS: UZSTĀDIET JAUNO CILINDRU
1. Nomainot kamas cilindru, pagrieziet cilindra vārpstu, lai kama ievilktos cilindra profilā.
2. Ievietojiet cilindru durvju slēdzenē.
|
⚠️ Pārliecinieties, ka cilindra puses pareizi atbilst jūsu mājokļa iekšpusei un ārpusei. |
3. Pieskrūvējiet stiprinājuma skrūvi, lai nostiprinātu cilindru durvju slēdzenē.
4. Gala pārbaude:
A. Pārliecinieties, ka cilindrs iekšpusē izvirzās 2–6 mm vai 3–8 mm atkarībā no tā, vai uzstādāt Tedee PRO vai Tedee GO. Ja nepieciešams, pielāgojiet, lai panāktu pareizu līdzinājumu.
B. Pārbaudiet atslēgu no ārpuses, pagriežot pa kreisi un pa labi, lai pārliecinātos, ka rigeli kustas vienmērīgi.
TAGAD ESAT GATAVI UZSTĀDĪT SAVU TEDEE VIEDSLĒDZENI UZ JAUNĀ CILINDRA.
![]() |
![]() |
|
Uzstādot Tedee PRO Ievērojiet rokasgrāmatu, kas iekļauta viedslēdzenes kastē. |
⚠️ Uzstādot Tedee GO(2)
Uzspraudiet no cilindra kastes paņemto Tedee GO Bar adapteri uz ar gropi aprīkotas cilindra vārpstas. Pēc tam ievērojiet uzstādīšanas rokasgrāmatu, kas iekļauta viedslēdzenes kastē. |
TEHNISKAIS ATBALSTS
Ja nepieciešama palīdzība, sazinieties ar Tedee atbalsta komandu:
| E-pasts | Tīmekļa vietne
[www.tedee.com/support](http://www.tedee.com/support) Citu Tedee produktu rokasgrāmatas [www.tedee.com/support/manuals](http://www.tedee.com/support/manuals) |
Tālrunis
(+48) 22 307 72 67 8:00 – 16:00 (CET) |
Pasta adrese
Tedee Sp. z o.o. Karola Bohdanowicza 21/57 02-127 Varšava Polija |
TEHNISKĀ INFORMĀCIJA
GERDA EXXO SMART modulārais cilindrs
| Kategorija | Eiropas profila cilindrs |
| Varianti | Kama / Zobrati |
| Drošība | 6. klase saskaņā ar PN-EN 1303:2015 |
| Ražotājs | GERDA Sp. z o.o. Sokołów, ul. Sokołowska 49 05-806 Komorów, Polija +48 (22) 329 10 30 www.gerda.com |
🇳🇱 Nederlands
GERDA EXXO SMART modulaire cilinder
Installatie- en gebruikshandleiding
INHOUDSOPGAVE
Voorbereiding
- Inhoud van de doos
- Benodigdheden
- Codekaart
Installatie
- Stap 1: Bereid uw deur voor en meet uw oude cilinder
- Stap 2: Stel uw nieuwe cilinder af
- Stap 3: Installeer uw nieuwe cilinder
Supportcontact
Technische informatie
VOORBEREIDING
| ⚠️ Dit product is geen speelgoed en mag niet door kinderen worden geïnstalleerd, gehanteerd of gebruikt. De kleine onderdelen die bij het product zijn inbegrepen, kunnen verstikkingsgevaar opleveren en moeten te allen tijde buiten het bereik van kinderen worden gehouden.
WAARSCHUWING:
Het niet naleven van deze richtlijnen kan ernstig letsel tot gevolg hebben. De fabrikant aanvaardt geen verantwoordelijkheid voor onjuist gebruik of installatie door niet-gekwalificeerde personen. |
INHOUD VAN DE DOOS
| 1A. Cam-module / 1B. Tandwielmodule | 6. Asmodule | 11. Inbussleutel (maat 1,5) |
| 2. Sleutelmodule | 7. Cilinderas | 12. Afstandsbussen (15 mm, 15 mm, 10 mm, 6 mm) |
| 3. Afstandsbuss (6 mm) | 8. Afstandsbussen (10 mm, 6 mm) | 13. Sleutels (×5) |
| 4. Bevestigingsschroefgat | 14. Sleutelkaart | |
| 5. Afstandsbuss (10 mm) | 10. Afstandsstukken (6, 10, 15, 15 mm) | 15. Tedee GO-adapter |
BENODIGDHEDEN
Kruiskopschroevendraaier (Phillips) |
Liniaal |
CODEKAART
Gebruik de code van de kaart in de cilinderdoos om extra sleutels te bestellen bij geautoriseerde GERDA-slotenspecialisten of door te e-mailen naar [[email protected]](mailto:[email protected]).
|
⚠️ We raden aan een duidelijke foto van uw code te maken en deze veilig op te slaan voor toekomstig gebruik. |
Sleutelkaart
INSTALLATIE
![]() |
![]() |
![]() |
|
STAP 1 Bereid uw deur voor en meet uw oude cilinder. |
STAP 2 Stel uw nieuwe cilinder af. |
STAP 3 Installeer uw nieuwe cilinder. |
STAP 1: BEREID UW DEUR VOOR EN MEET UW OUDE CILINDER
1. Controleer hoever uw huidige cilinder uitsteekt voorbij de slotrozet (aan de binnenzijde van uw woning).
| ⚠️ Installatie van Tedee PRO
Voor een veilige montage van de smartlock is een cilinderuitsteek van 2–6 mm voorbij de rozet vereist. Steekt uw huidige cilinder minder dan 2 mm uit, stel de nieuwe modulaire cilinder dan langer af aan de smartlock-zijde. Steekt uw huidige cilinder meer dan 6 mm uit, stel de nieuwe modulaire cilinder dan korter af aan de smartlock-zijde. |
⚠️ Installatie van Tedee GO(2)
Voor een veilige montage van de smartlock is een cilinderuitsteek van 3–8 mm voorbij de rozet vereist. Steekt uw huidige cilinder minder dan 3 mm uit, stel de nieuwe modulaire cilinder dan langer af aan de smartlock-zijde. Steekt uw huidige cilinder meer dan 8 mm uit, stel de nieuwe modulaire cilinder dan korter af aan de smartlock-zijde. |
![]() |
![]() |
2. Verwijder de bevestigingsschroef van uw deurslot die de oude cilinder vastzet en bewaar deze voor de installatie van de nieuwe.
|
⚠️ Bij een hoogbeveiligde deur met een versterkte rozet: demonteer de rozet vóór u de cilinder uit het slot verwijdert. |
3. Steek een sleutel in de cilinder, draai deze licht en trek voorzichtig om de oude cilinder uit het deurslot te verwijderen.
|
⚠️ Bij vervanging van een cam-cilinder kan het nodig zijn de sleutel te draaien om de cam te verbergen. Trek de cilinder zachtjes met de sleutel erin om de juiste positie te vinden waarbij de cam volledig is ingetrokken. |
4. Meet uw huidige cilinder op en noteer de afmetingen:
![]() |
|
| A (binnen)Van het binneneinde van de cilinder tot het midden van het bevestigingsschroefgat. |
B (buiten)Van het buiteneinde van de cilinder tot het midden van het bevestigingsschroefgat. |
STAP 2: STEL UW NIEUWE CILINDER AF
Standaard wordt de GERDA EXXO modulaire cilinder geleverd met vooraf gemonteerde modules.
U moet mogelijk modules verwijderen of toevoegen om de lengte aan beide zijden zo te configureren dat deze overeenkomt met uw bestaande cilinder.
| Standaard nieuwe cilinder
|
|
| Binnenkant Smartlock-zijde 41 mm (1× 10 mm afstandsbuss) |
Buitenkant Sleutelzijde 37 mm (1× 6 mm afstandsbuss) |
| ⚠️ Monteer de GERDA EXXO modulaire cilinder zo dat deze zo goed mogelijk overeenkomt met de sleutelzijde (buitenkant) van uw oude cilinder.
Houd bij het monteren van de binnenzijde rekening met hoeveel uw oude cilinder uitstak voorbij de rozet — de meting uit stap 1.1. Kies de gewenste binnenlengte, iets langer of korter, om een uitsteek van 2–6 mm (voor Tedee PRO) of 3–8 mm (voor Tedee GO(2)) te bereiken. |
1. Kies de gewenste modulecombinatie voor beide zijden van de cilinder uit de beschikbare configuraties:
| Sleutelzijde | Smartlock-zijde |
| 31 mm (geen afstandsbussen) | 31 mm (geen afstandsbussen) |
| 37 mm (1× 6 mm) | 37 mm (1× 6 mm) |
| 41 mm (1× 10 mm) | 41 mm (1× 10 mm) |
| 46 mm (1× 15 mm) | 46 mm (1× 15 mm) |
| 47 mm (1× 6 mm + 1× 10 mm) | 47 mm (1× 6 mm + 1× 10 mm) |
| 52 mm (1× 6 mm + 1× 15 mm) | 52 mm (1× 6 mm + 1× 15 mm) |
| 56 mm (1× 10 mm + 1× 15 mm) | 56 mm (1× 10 mm + 1× 15 mm) |
| 62 mm (1× 6 mm + 1× 10 mm + 1× 15 mm) | 62 mm (1× 6 mm + 1× 10 mm + 1× 15 mm) |
|
⚠️ Gebruik alleen modulecombinaties uit de tabel hierboven. Stel aan geen van beide zijden een cilinderlengte langer dan 62 mm in. Neem contact op met [email protected] als uw oude cilinder deze lengte overschrijdt. |
2. Bereid afstandsbussen en bijpassende hulzen voor om aan de cilinder te bevestigen.
|
⚠️ Elke afstandsbuss heeft een overeenkomstige huls met dezelfde maat. |
3. Demonteer cilinderelementen door met de inbussleutel vier klemschroeven aan beide zijden te verwijderen.
|
⚠️ Ga voorzichtig om met losse hulzen; deze kunnen eruit vallen. |
4. Voeg afstandsbussen toe door de overeenkomstige hulzen in de module te plaatsen en de elementen te verbinden.
|
⚠️ Zorg dat de rotatie-uitlijning van de ronde elementen correct is. |
5. Zet de cilinder vast met klemschroeven met behulp van de inbussleutel. Draai met de klok mee tot deze vastzit.
|
⚠️ Vergeet niet vier klemschroeven per element vast te zetten. |
6. Voer een eindcontrole uit:
A. Controleer of de buitenlengte overeenkomt met uw oude cilinder.
B. Controleer of de binnenlengte zorgt voor een geschikte uitsteek voorbij de rozet: 2–6 mm voor Tedee PRO of 3–8 mm voor Tedee GO(2).
![]() |
![]() |
![]() |
![]() |
STAP 3: INSTALLEER UW NIEUWE CILINDER
1. Bij vervanging van een cam-cilinder: draai de cilinderas om de cam in het cilinderprofiel terug te trekken.
2. Plaats de cilinder in het deurslot.
|
⚠️ Zorg dat de cilinderzijden correct zijn uitgelijnd met de binnen- en buitenkant van uw woning. |
3. Draai de bevestigingsschroef vast om de cilinder in het deurslot te fixeren.
4. Eindcontrole:
A. Controleer of de cilinder aan de binnenzijde 2–6 mm of 3–8 mm uitsteekt, afhankelijk van of u Tedee PRO of Tedee GO installeert. Pas indien nodig aan voor een juiste uitlijning.
B. Test de sleutel van buitenaf door links en rechts te draaien om te controleren of de grendels soepel bewegen.
U BENT NU KLAAR OM UW TEDEE SMART LOCK OP DE NIEUWE CILINDER TE INSTALLEREN.
![]() |
![]() |
|
Bij installatie van Tedee PRO Volg de handleiding uit de smartlock-doos. |
⚠️ Bij installatie van Tedee GO(2)
Klik de Tedee GO Bar-adapter uit de cilinderdoos op een gesleufde cilinderas. Volg daarna de installatiemanual uit de smartlock-doos. |
TECHNISCHE SUPPORT
Voor hulp kunt u contact opnemen met het Tedee-supportteam:
| Website
[www.tedee.com/support](http://www.tedee.com/support) Handleidingen van andere Tedee-producten [www.tedee.com/support/manuals](http://www.tedee.com/support/manuals) |
Telefoon
(+48) 22 307 72 67 8:00 – 16:00 (CET) |
Postadres
Tedee Sp. z o.o. Karola Bohdanowicza 21/57 02-127 Warschau Polen |
TECHNISCHE INFORMATIE
GERDA EXXO SMART modulaire cilinder
| Categorie | Europrofielcilinder |
| Varianten | Cam / Tandwiel |
| Beveiliging | Klasse 6 volgens PN-EN 1303:2015 |
| Fabrikant | GERDA Sp. z o.o. Sokołów, ul. Sokołowska 49 05-806 Komorów, Polen +48 (22) 329 10 30 www.gerda.com |
🇵🇱 Polski
Modułowa wkładka GERDA EXXO SMART
Instrukcja instalacji i użytkowania
SPIS TREŚCI
Przygotowanie
- Zawartość opakowania
- Co będzie potrzebne
- Karta kodowa
Montaż
- Krok 1: Przygotuj drzwi i zmierz starą wkładkę
- Krok 2: Wyreguluj nową wkładkę
- Krok 3: Zamontuj nową wkładkę
Kontakt z pomocą techniczną
Informacje techniczne
PRZYGOTOWANIE
| ⚠️ Ten produkt nie jest zabawką i nie może być instalowany, obsługiwany ani używany przez dzieci. Małe elementy dołączone do produktu stanowią potencjalne ryzyko zadławienia i muszą być zawsze przechowywane poza zasięgiem dzieci.
OSTRZEŻENIE:
Niezastosowanie się do tych zaleceń może skutkować poważnymi obrażeniami. Producent nie ponosi odpowiedzialności za niewłaściwe użytkowanie lub montaż wykonany przez osoby niewykwalifikowane. |
ZAWARTOŚĆ OPAKOWANIA
| 1A. Moduł krzywki / 1B. Moduł zębatki | 6. Moduł wałka | 11. Klucz imbusowy (rozmiar 1,5) |
| 2. Moduł klucza | 7. Wałek wkładki | 12. Tuleje dystansowe (15 mm, 15 mm, 10 mm, 6 mm) |
| 3. Dystans (6 mm) | 8. Tuleje dystansowe (10 mm, 6 mm) | 13. Klucze (×5) |
| 4. Otwór śruby mocującej | 14. Karta klucza | |
| 5. Dystans (10 mm) | 10. Dystanse (6, 10, 15, 15 mm) | 15. Adapter Tedee GO |
CO BĘDZIE POTRZEBNE
Śrubokręt krzyżakowy (Phillips) |
Linijka |
KARTA KODOWA
Użyj kodu z karty dołączonej do pudełka z wkładką, aby zamówić dodatkowe klucze u autoryzowanych ślusarzy GERDA lub wysyłając e-mail na adres [[email protected]](mailto:[email protected]).
|
⚠️ Zalecamy wykonanie wyraźnego zdjęcia swojego kodu i bezpieczne przechowanie go do przyszłego użytku. |
Karta klucza
MONTAŻ
![]() |
![]() |
![]() |
|
KROK 1 Przygotuj drzwi i zmierz starą wkładkę. |
KROK 2 Wyreguluj nową wkładkę. |
KROK 3 Zamontuj nową wkładkę. |
KROK 1: PRZYGOTUJ DRZWI I ZMIERZ STARĄ WKŁADKĘ
1. Sprawdź, jak daleko Twoja obecna wkładka wystaje poza szyld zamka (od wewnętrznej strony mieszkania).
| ⚠️ Montaż Tedee PRO
Bezpieczny uchwyt inteligentnego zamka wymaga, aby wkładka wystawała poza szyld o 2–6 mm. Jeśli Twoja obecna wkładka wystaje mniej niż 2 mm, wyreguluj nową modułową wkładkę na dłuższą po stronie smart locka. Jeśli Twoja obecna wkładka wystaje więcej niż 6 mm, wyreguluj nową modułową wkładkę na krótszą po stronie smart locka. |
⚠️ Montaż Tedee GO(2)
Bezpieczny uchwyt inteligentnego zamka wymaga, aby wkładka wystawała poza szyld o 3–8 mm. Jeśli Twoja obecna wkładka wystaje mniej niż 3 mm, wyreguluj nową modułową wkładkę na dłuższą po stronie smart locka. Jeśli Twoja obecna wkładka wystaje więcej niż 8 mm, wyreguluj nową modułową wkładkę na krótszą po stronie smart locka. |
![]() |
![]() |
2. Wykręć ze swojego zamka drzwi śrubę mocującą, która utrzymuje starą wkładkę, i zachowaj ją do montażu nowej.
|
⚠️ Jeśli masz drzwi o podwyższonej odporności ze wzmocnionym szyldem, przed wyjęciem wkładki najpierw zdemontuj szyld. |
3. Włóż klucz do wkładki, lekko go przekręć i delikatnie pociągnij, aby wyjąć starą wkładkę z zamka drzwi.
|
⚠️ Podczas wymiany wkładki z krzywką może być konieczne przekręcenie klucza, aby schować krzywkę. Delikatnie ciągnij wkładkę z włożonym kluczem, aby znaleźć właściwą pozycję, w której krzywka jest całkowicie schowana. |
4. Zmierz swoją obecną wkładkę i zanotuj wymiary:
![]() |
|
| A (wewnątrz)Od wewnętrznego końca wkładki do środka otworu śruby mocującej. |
B (na zewnątrz)Od zewnętrznego końca wkładki do środka otworu śruby mocującej. |
KROK 2: WYREGULUJ NOWĄ WKŁADKĘ
Domyślnie modułowa wkładka GERDA EXXO jest dostarczana z wstępnie zamontowanymi modułami.
Może być konieczne usunięcie lub dodanie modułów, aby skonfigurować długość po obu stronach tak, by odpowiadała Twojej dotychczasowej wkładce.
| Domyślna nowa wkładka
|
|
| Strona wewnętrzna Strona inteligentnego zamka 41 mm (1× 10 mm dystans) |
Strona zewnętrzna Strona klucza 37 mm (1× 6 mm dystans) |
| ⚠️ Zmontuj modułową wkładkę GERDA EXXO tak, aby jak najwierniej odpowiadała stronie klucza (na zewnątrz) Twojej starej wkładki.
Składając wewnętrzną część wkładki, weź pod uwagę, o ile stara wkładka wystawała poza szyld — pomiar z kroku 1.1. Wybierz pożądany wewnętrzny wymiar — nieco dłuższy lub krótszy — aby uzyskać wystawanie wkładki 2–6 mm (dla Tedee PRO) lub 3–8 mm (dla Tedee GO(2)). |
1. Wybierz odpowiednią kombinację modułów dla obu stron wkładki z dostępnych konfiguracji:
| Strona klucza | Strona inteligentnego zamka |
| 31 mm (bez dystansów) | 31 mm (bez dystansów) |
| 37 mm (1× 6 mm) | 37 mm (1× 6 mm) |
| 41 mm (1× 10 mm) | 41 mm (1× 10 mm) |
| 46 mm (1× 15 mm) | 46 mm (1× 15 mm) |
| 47 mm (1× 6 mm + 1× 10 mm) | 47 mm (1× 6 mm + 1× 10 mm) |
| 52 mm (1× 6 mm + 1× 15 mm) | 52 mm (1× 6 mm + 1× 15 mm) |
| 56 mm (1× 10 mm + 1× 15 mm) | 56 mm (1× 10 mm + 1× 15 mm) |
| 62 mm (1× 6 mm + 1× 10 mm + 1× 15 mm) | 62 mm (1× 6 mm + 1× 10 mm + 1× 15 mm) |
|
⚠️ Używaj wyłącznie kombinacji modułów z powyższej tabeli. Nie ustawiaj długości wkładki większej niż 62 mm po którejkolwiek ze stron. Skontaktuj się z [email protected], jeśli Twoja stara wkładka przekracza tę długość. |
2. Przygotuj dystanse i odpowiadające im tuleje do zamocowania na wkładce.
|
⚠️ Każdemu dystansowi odpowiada tuleja o tym samym rozmiarze. |
3. Rozłącz elementy wkładki, odkręcając po cztery śruby zaciskowe z obu stron przy użyciu klucza imbusowego.
|
⚠️ Ostrożnie obchodź się z luźnymi tulejami, ponieważ mogą wypaść. |
4. Dodaj dystanse, wkładając odpowiadające im tuleje do modułu i łącząc elementy.
|
⚠️ Upewnij się, że ustawienie kątowe (pozycja obrotowa) elementów okrągłych jest prawidłowe. |
5. Zabezpiecz wkładkę śrubami zaciskowymi przy użyciu klucza imbusowego. Obracaj zgodnie z ruchem wskazówek zegara, aż do całkowitego dokręcenia.
|
⚠️ Pamiętaj o dokręceniu czterech śrub zaciskowych na każdym elemencie. |
6. Wykonaj końcową kontrolę:
A. Upewnij się, że długość po stronie zewnętrznej odpowiada Twojej starej wkładce.
B. Upewnij się, że długość po stronie wewnętrznej zapewnia odpowiednie wystawanie poza szyld: 2–6 mm dla Tedee PRO lub 3–8 mm dla Tedee GO(2).
![]() |
![]() |
![]() |
![]() |
KROK 3: ZAMONTUJ NOWĄ WKŁADKĘ
1. Przy wymianie wkładki z krzywką obróć wałek wkładki, aby wsunąć krzywkę w profil wkładki.
2. Wsuń wkładkę do zamka drzwi.
|
⚠️ Upewnij się, że strony wkładki są prawidłowo dopasowane do wewnętrznej i zewnętrznej strony mieszkania. |
3. Dokręć śrubę mocującą, aby unieruchomić wkładkę w zamku drzwi.
4. Końcowa kontrola:
A. Upewnij się, że wkładka wystaje od wewnątrz na 2–6 mm lub 3–8 mm w zależności od tego, czy montujesz Tedee PRO, czy Tedee GO. W razie potrzeby skoryguj ustawienie.
B. Sprawdź działanie klucza od zewnątrz, obracając go w lewo i w prawo, aby upewnić się, że rygle poruszają się płynnie.
TERAZ MOŻESZ ZAINSTALOWAĆ SWÓJ INTELIGENTNY ZAMEK TEDEE NA NOWEJ WKŁADCE.
![]() |
![]() |
|
Podczas montażu Tedee PRO Postępuj zgodnie z instrukcją z pudełka inteligentnego zamka. |
⚠️ Podczas montażu Tedee GO(2)
Załóż adapter Tedee GO Bar z pudełka z wkładką na nacięty wałek wkładki. Następnie postępuj zgodnie z instrukcją montażu z pudełka inteligentnego zamka. |
POMOC TECHNICZNA
W razie potrzeby skontaktuj się z zespołem wsparcia Tedee:
| Strona internetowa
[www.tedee.com/support](http://www.tedee.com/support) Instrukcje innych produktów Tedee [www.tedee.com/support/manuals](http://www.tedee.com/support/manuals) |
Telefon
(+48) 22 307 72 67 8:00 – 16:00 (CET) |
Adres
Tedee Sp. z o.o. ul. Karola Bohdanowicza 21/57 02-127 Warszawa Polska |
INFORMACJE TECHNICZNE
Modułowa wkładka GERDA EXXO SMART
| Kategoria | Wkładka profilowa Euro |
| Warianty | Krzywka / Zębatka |
| Bezpieczeństwo | Klasa 6 zgodnie z PN-EN 1303:2015 |
| Producent | GERDA Sp. z o.o. Sokołów, ul. Sokołowska 49 05-806 Komorów, Polska +48 (22) 329 10 30 www.gerda.com |
🇵🇹 Português
Cilindro Modular GERDA EXXO SMART
Manual de Instalação e Utilização
ÍNDICE
Preparação
- Conteúdo da caixa
- O que precisa
- Cartão de código
Instalação
- Passo 1: Prepare a sua porta e meça o cilindro antigo
- Passo 2: Ajuste o seu novo cilindro
- Passo 3: Instale o seu novo cilindro
Contacto de Suporte
Informações Técnicas
PREPARAÇÃO
| ⚠️ Este produto não é um brinquedo e não deve ser instalado, manuseado ou utilizado por crianças. As pequenas peças incluídas no produto representam risco de asfixia e devem ser mantidas fora do alcance das crianças em todos os momentos.
AVISO:
O não cumprimento destas orientações pode resultar em ferimentos graves. O fabricante não se responsabiliza por utilização inadequada ou instalação realizada por pessoas não qualificadas. |
CONTEÚDO DA CAIXA
| 1A. Módulo de came / 1B. Módulo de engrenagem | 6. Módulo do veio | 11. Chave Allen (tamanho 1,5) |
| 2. Módulo da chave | 7. Veio do cilindro | 12. Mangas espaçadoras (15 mm, 15 mm, 10 mm, 6 mm) |
| 3. Espaçador (6 mm) | 8. Mangas espaçadoras (10 mm, 6 mm) | 13. Chaves (×5) |
| 4. Orifício do parafuso de fixação | 14. Cartão de chaves | |
| 5. Espaçador (10 mm) | 10. Espaçadores (6, 10, 15, 15 mm) | 15. Adaptador Tedee GO |
O QUE PRECISA
Chave de parafusos Phillips |
Uma régua |
CARTÃO DE CÓDIGO
Utilize o código do cartão incluído na caixa do cilindro para encomendar chaves extra em serralharias GERDA autorizadas ou enviando um e-mail para [[email protected]](mailto:[email protected]).
|
⚠️ Recomendamos tirar uma fotografia nítida do seu código e guardá-la em local seguro para uso futuro. |
Cartão de chaves
INSTALAÇÃO
![]() |
![]() |
![]() |
|
PASSO 1 Prepare a sua porta e meça o cilindro antigo. |
PASSO 2 Ajuste o seu novo cilindro. |
PASSO 3 Instale o seu novo cilindro. |
PASSO 1: PREPARE A SUA PORTA E MEÇA O CILINDRO ANTIGO
1. Verifique quanto o seu cilindro atual sobressai da roseta da fechadura (no lado interior da sua habitação).
| ⚠️ A instalar o Tedee PRO
Para uma fixação segura da fechadura inteligente, o cilindro deve sobressair 2–6 mm para além da roseta. Se o seu cilindro atual sobressair menos de 2 mm, ajuste o novo cilindro modular para maior comprimento no lado da fechadura inteligente. Se o seu cilindro atual sobressair mais de 6 mm, ajuste o novo cilindro modular para menor comprimento no lado da fechadura inteligente. |
⚠️ A instalar o Tedee GO(2)
Para uma fixação segura da fechadura inteligente, o cilindro deve sobressair 3–8 mm para além da roseta. Se o seu cilindro atual sobressair menos de 3 mm, ajuste o novo cilindro modular para maior comprimento no lado da fechadura inteligente. Se o seu cilindro atual sobressair mais de 8 mm, ajuste o novo cilindro modular para menor comprimento no lado da fechadura inteligente. |
![]() |
![]() |
2. Retire do seu canhão da porta o parafuso de fixação que segura o cilindro antigo e guarde-o para instalar o novo.
|
⚠️ Se tiver uma porta de alta segurança com roseta reforçada, desmonte a roseta antes de retirar o cilindro do canhão. |
3. Introduza uma chave no cilindro, rode-a ligeiramente e puxe com cuidado para retirar o cilindro antigo do canhão da porta.
|
⚠️ Ao substituir um cilindro com came, poderá ser necessário rodar a chave para recolher o came. Puxe suavemente o cilindro com a chave introduzida até encontrar a posição correta em que o came fique totalmente recolhido. |
4. Meça o seu cilindro atual e aponte as dimensões:
![]() |
|
| A (interior)Do extremo interior do cilindro até ao centro do orifício do parafuso de fixação. |
B (exterior)Do extremo exterior do cilindro até ao centro do orifício do parafuso de fixação. |
PASSO 2: AJUSTE O SEU NOVO CILINDRO
Por defeito, o Cilindro Modular GERDA EXXO é fornecido com módulos pré-instalados.
Poderá ter de remover ou adicionar módulos para configurar o comprimento em ambos os lados, de forma a corresponder ao seu cilindro existente.
| Cilindro novo por defeito
|
|
| Interior Lado da fechadura inteligente 41 mm (1× espaçador de 10 mm) |
Exterior Lado da chave 37 mm (1× espaçador de 6 mm) |
| ⚠️ Monte o Cilindro Modular GERDA EXXO de modo a corresponder o mais possível ao lado da chave (exterior) do seu cilindro antigo.
Ao montar a parte interior do cilindro, tenha em conta quanto o seu cilindro antigo sobressaía da roseta — a medição efetuada no Passo 1.1. Escolha o comprimento interior pretendido, ligeiramente mais longo ou mais curto, para obter um ressalto do cilindro de 2–6 mm (para o Tedee PRO) ou 3–8 mm (para o Tedee GO(2)). |
1. Escolha a combinação de módulos pretendida para ambos os lados do cilindro a partir das configurações disponíveis:
| Lado da chave | Lado da fechadura inteligente |
| 31 mm (sem espaçadores) | 31 mm (sem espaçadores) |
| 37 mm (1× 6 mm) | 37 mm (1× 6 mm) |
| 41 mm (1× 10 mm) | 41 mm (1× 10 mm) |
| 46 mm (1× 15 mm) | 46 mm (1× 15 mm) |
| 47 mm (1× 6 mm + 1× 10 mm) | 47 mm (1× 6 mm + 1× 10 mm) |
| 52 mm (1× 6 mm + 1× 15 mm) | 52 mm (1× 6 mm + 1× 15 mm) |
| 56 mm (1× 10 mm + 1× 15 mm) | 56 mm (1× 10 mm + 1× 15 mm) |
| 62 mm (1× 6 mm + 1× 10 mm + 1× 15 mm) | 62 mm (1× 6 mm + 1× 10 mm + 1× 15 mm) |
|
⚠️ Utilize apenas combinações de módulos da tabela acima. Não configure comprimentos de cilindro superiores a 62 mm em qualquer dos lados. Contacte [email protected] se o seu cilindro antigo exceder este comprimento. |
2. Prepare os espaçadores e as respetivas mangas para fixar ao cilindro.
|
⚠️ Cada espaçador tem uma manga de tamanho correspondente. |
3. Desmonte os elementos do cilindro, retirando quatro parafusos de aperto de ambos os lados com a chave Allen.
|
⚠️ Manuseie com cuidado as mangas soltas, pois podem cair. |
4. Adicione os espaçadores, inserindo as mangas correspondentes no módulo e unindo os elementos.
|
⚠️ Certifique-se de que o alinhamento de rotação dos elementos circulares está correto. |
5. Fixe o cilindro com os parafusos de aperto utilizando a chave Allen. Rode no sentido dos ponteiros do relógio até ficar apertado.
|
⚠️ Não se esqueça de apertar quatro parafusos de aperto em cada elemento. |
6. Efetue uma verificação final:
A. Garanta que o comprimento do lado exterior corresponde ao do seu cilindro antigo.
B. Garanta que o comprimento do lado interior proporciona um ressalto adequado em relação à roseta: 2–6 mm para o Tedee PRO ou 3–8 mm para o Tedee GO(2).
![]() |
![]() |
![]() |
![]() |
PASSO 3: INSTALE O SEU NOVO CILINDRO
1. Ao substituir um cilindro com came, rode o veio do cilindro para recolher o came no perfil do cilindro.
2. Introduza o cilindro no canhão da porta.
|
⚠️ Certifique-se de que os lados do cilindro estão corretamente alinhados com o interior e o exterior da sua habitação. |
3. Aperte o parafuso de fixação para segurar o cilindro no canhão da porta.
4. Verificação final:
A. Garanta que o cilindro sobressai entre 2–6 mm ou 3–8 mm no interior, consoante esteja a instalar o Tedee PRO ou o Tedee GO. Ajuste conforme necessário para um alinhamento correto.
B. Teste a chave pelo exterior, rodando para a esquerda e para a direita, para confirmar que os ferrolhos se movem suavemente.
AGORA ESTÁ PRONTO PARA INSTALAR A SUA FECHADURA INTELIGENTE TEDEE NO NOVO CILINDRO.
![]() |
![]() |
|
Ao instalar o Tedee PRO Siga o manual que acompanha a caixa da fechadura inteligente. |
⚠️ Ao instalar o Tedee GO(2)
Encaixe o adaptador Tedee GO Bar, incluído na caixa do cilindro, num veio de cilindro com ranhura. De seguida, siga o manual de instalação da caixa da fechadura inteligente. |
ASSISTÊNCIA TÉCNICA
Para assistência, contacte a Equipa de Suporte da Tedee:
| Website
[www.tedee.com/support](http://www.tedee.com/support) Manuais de outros produtos Tedee [www.tedee.com/support/manuals](http://www.tedee.com/support/manuals) |
Telefone
(+48) 22 307 72 67 8:00 – 16:00 (CET) |
Endereço postal
Tedee Sp. z o.o. Karola Bohdanowicza 21/57 02-127 Varsóvia Polónia |
INFORMAÇÕES TÉCNICAS
Cilindro Modular GERDA EXXO SMART
| Categoria | Cilindro de perfil Euro |
| Variantes | Came / Engrenagem |
| Segurança | Classe 6 de acordo com a PN-EN 1303:2015 |
| Fabricante | GERDA Sp. z o.o. Sokołów, ul. Sokołowska 49 05-806 Komorów, Polónia +48 (22) 329 10 30 www.gerda.com |
🇧🇷 Português (Brasil)
Cilindro Modular GERDA EXXO SMART
Manual de Instalação e Uso
SUMÁRIO
Preparação
- Conteúdo da caixa
- O que você vai precisar
- Cartão de código
Instalação
- Etapa 1: Prepare a porta e meça o cilindro antigo
- Etapa 2: Ajuste o novo cilindro
- Etapa 3: Instale o novo cilindro
Contato de Suporte
Informações Técnicas
PREPARAÇÃO
| ⚠️ Este produto não é um brinquedo e não deve ser instalado, manuseado ou utilizado por crianças. As pequenas peças incluídas com o produto representam risco potencial de asfixia e devem ser mantidas fora do alcance de crianças em todos os momentos.
AVISO:
O não cumprimento destas orientações pode resultar em ferimentos graves. O fabricante não assume responsabilidade por uso inadequado ou instalação realizada por pessoas não qualificadas. |
CONTEÚDO DA CAIXA
| 1A. Módulo de came / 1B. Módulo de engrenagem | 6. Módulo do eixo | 11. Chave Allen (tamanho 1,5) |
| 2. Módulo da chave | 7. Eixo do cilindro | 12. Buchas espaçadoras (15 mm, 15 mm, 10 mm, 6 mm) |
| 3. Espaçador (6 mm) | 8. Buchas espaçadoras (10 mm, 6 mm) | 13. Chaves (×5) |
| 4. Orifício do parafuso de fixação | 14. Cartão de chaves | |
| 5. Espaçador (10 mm) | 10. Espaçadores (6, 10, 15, 15 mm) | 15. Adaptador Tedee GO |
O QUE VOCÊ VAI PRECISAR
Chave de fenda Phillips |
Régua |
CARTÃO DE CÓDIGO
Use o código do cartão incluído na caixa do cilindro para pedir chaves extras em serralherias GERDA autorizadas ou enviando e-mail para [[email protected]](mailto:[email protected]).
|
⚠️ Recomendamos tirar uma foto nítida do seu código e guardá-la em local seguro para uso futuro. |
Cartão de chaves
INSTALAÇÃO
![]() |
![]() |
![]() |
|
ETAPA 1 Prepare a porta e meça o cilindro antigo. |
ETAPA 2 Ajuste o novo cilindro. |
ETAPA 3 Instale o novo cilindro. |
ETAPA 1: PREPARE A PORTA E MEÇA O CILINDRO ANTIGO
1. Verifique quanto o cilindro existente sobressai da roseta da fechadura (no lado interno da sua residência).
| ⚠️ Instalando o Tedee PRO
Para uma fixação segura da fechadura inteligente, o cilindro deve sobressair 2–6 mm além da roseta. Se o cilindro existente sobressair menos de 2 mm, ajuste o novo cilindro modular para um comprimento maior no lado da fechadura inteligente. Se o cilindro existente sobressair mais de 6 mm, ajuste o novo cilindro modular para um comprimento menor no lado da fechadura inteligente. |
⚠️ Instalando o Tedee GO(2)
Para uma fixação segura da fechadura inteligente, o cilindro deve sobressair 3–8 mm além da roseta. Se o cilindro existente sobressair menos de 3 mm, ajuste o novo cilindro modular para um comprimento maior no lado da fechadura inteligente. Se o cilindro existente sobressair mais de 8 mm, ajuste o novo cilindro modular para um comprimento menor no lado da fechadura inteligente. |
![]() |
![]() |
2. Remova o parafuso de fixação da fechadura da porta que prende o cilindro antigo e guarde-o para instalar o novo.
|
⚠️ Se a porta for de alta segurança e tiver roseta reforçada, desmonte a roseta antes de retirar o cilindro da fechadura. |
3. Insira uma chave no cilindro, gire levemente e puxe com cuidado para retirar o cilindro antigo da fechadura da porta.
|
⚠️ Ao substituir um cilindro com came, pode ser necessário girar a chave para recolher o came. Puxe suavemente o cilindro com a chave inserida até encontrar a posição correta em que o came fique totalmente recolhido. |
4. Meça o cilindro existente e anote as dimensões:
![]() |
|
| A (interno)Do extremo interno do cilindro até o centro do orifício do parafuso de fixação. |
B (externo)Do extremo externo do cilindro até o centro do orifício do parafuso de fixação. |
ETAPA 2: AJUSTE O NOVO CILINDRO
Por padrão, o Cilindro Modular GERDA EXXO vem com módulos pré-instalados.
Pode ser necessário remover ou adicionar módulos para ajustar o comprimento de ambos os lados de forma a corresponder ao seu cilindro atual.
| Cilindro novo padrão
|
|
| Lado interno Lado da fechadura inteligente 41 mm (1× espaçador de 10 mm) |
Lado externo Lado da chave 37 mm (1× espaçador de 6 mm) |
| ⚠️ Monte o Cilindro Modular GERDA EXXO para corresponder o mais fielmente possível ao lado da chave (externo) do seu cilindro antigo.
Ao montar a parte interna do cilindro, considere quanto o cilindro antigo sobressaía da roseta — a medida realizada na Etapa 1.1. Escolha o comprimento interno desejado, ligeiramente maior ou menor, para obter uma saliência de 2–6 mm (para o Tedee PRO) ou de 3–8 mm (para o Tedee GO(2)). |
1. Escolha a combinação de módulos desejada para ambos os lados do cilindro dentre as configurações disponíveis:
| Lado da chave | Lado da fechadura inteligente |
| 31 mm (sem espaçadores) | 31 mm (sem espaçadores) |
| 37 mm (1× 6 mm) | 37 mm (1× 6 mm) |
| 41 mm (1× 10 mm) | 41 mm (1× 10 mm) |
| 46 mm (1× 15 mm) | 46 mm (1× 15 mm) |
| 47 mm (1× 6 mm + 1× 10 mm) | 47 mm (1× 6 mm + 1× 10 mm) |
| 52 mm (1× 6 mm + 1× 15 mm) | 52 mm (1× 6 mm + 1× 15 mm) |
| 56 mm (1× 10 mm + 1× 15 mm) | 56 mm (1× 10 mm + 1× 15 mm) |
| 62 mm (1× 6 mm + 1× 10 mm + 1× 15 mm) | 62 mm (1× 6 mm + 1× 10 mm + 1× 15 mm) |
|
⚠️ Utilize apenas combinações de módulos da tabela acima. Não configure comprimentos de cilindro superiores a 62 mm em nenhum dos lados. Entre em contato com [email protected] se o seu cilindro antigo exceder esse comprimento. |
2. Prepare os espaçadores e as buchas correspondentes para fixar ao cilindro.
|
⚠️ Cada espaçador possui uma bucha de tamanho correspondente. |
3. Desmonte os elementos do cilindro removendo quatro parafusos de aperto de ambos os lados com a chave Allen.
|
⚠️ Manuseie com cuidado as buchas soltas, pois elas podem cair. |
4. Adicione os espaçadores inserindo as buchas correspondentes no módulo e conectando os elementos.
|
⚠️ Certifique-se de que o alinhamento de rotação dos elementos circulares está correto. |
5. Prenda o cilindro com os parafusos de aperto usando a chave Allen. Gire no sentido horário até ficar firme.
|
⚠️ Lembre-se de apertar quatro parafusos de aperto em cada elemento. |
6. Faça uma verificação final:
A. Garanta que o comprimento do lado externo corresponde ao do seu cilindro antigo.
B. Garanta que o comprimento do lado interno proporciona a saliência adequada em relação à roseta: 2–6 mm para o Tedee PRO ou 3–8 mm para o Tedee GO(2).
![]() |
![]() |
![]() |
![]() |
ETAPA 3: INSTALE O NOVO CILINDRO
1. Ao substituir um cilindro com came, gire o eixo do cilindro para recolher o came dentro do perfil do cilindro.
2. Insira o cilindro na fechadura da porta.
|
⚠️ Certifique-se de que os lados do cilindro estejam corretamente alinhados com o interior e o exterior da sua residência. |
3. Aperte o parafuso de fixação para prender o cilindro na fechadura da porta.
4. Verificação final:
A. Garanta que o cilindro sobressai entre 2–6 mm ou 3–8 mm no lado interno, dependendo se estiver instalando o Tedee PRO ou o Tedee GO. Ajuste conforme necessário para o alinhamento correto.
B. Teste a chave pelo lado externo girando para a esquerda e para a direita para garantir que os pinos/ferrolhos se movem suavemente.
AGORA VOCÊ ESTÁ PRONTO PARA INSTALAR SUA FECHADURA INTELIGENTE TEDEE NO NOVO CILINDRO.
![]() |
![]() |
|
Ao instalar o Tedee PRO Siga o manual que acompanha a caixa da fechadura inteligente. |
⚠️ Ao instalar o Tedee GO(2)
Encaixe o adaptador Tedee GO Bar, incluído na caixa do cilindro, em um eixo de cilindro com ranhura. Depois, siga o manual de instalação da caixa da fechadura inteligente. |
SUPORTE TÉCNICO
Para obter assistência, contate a Equipe de Suporte da Tedee:
| Site
[www.tedee.com/support](http://www.tedee.com/support) Manuais de outros produtos Tedee [www.tedee.com/support/manuals](http://www.tedee.com/support/manuals) |
Telefone
(+48) 22 307 72 67 8:00 – 16:00 (CET) |
Endereço
Tedee Sp. z o.o. Karola Bohdanowicza 21/57 02-127 Varsóvia Polônia |
INFORMAÇÕES TÉCNICAS
Cilindro Modular GERDA EXXO SMART
| Categoria | Cilindro de perfil Euro |
| Variantes | Came / Engrenagem |
| Segurança | Classe 6 de acordo com PN-EN 1303:2015 |
| Fabricante | GERDA Sp. z o.o. Sokołów, ul. Sokołowska 49 05-806 Komorów, Polônia +48 (22) 329 10 30 www.gerda.com |
🇷🇴 Română
Cilindru modular GERDA EXXO SMART
Manual de instalare și utilizare
CUPRINS
Pregătire
- Conținutul cutiei
- De ce aveți nevoie
- Card cu cod
Instalare
- Pasul 1: Pregătiți ușa și măsurați cilindrul vechi
- Pasul 2: Ajustați noul cilindru
- Pasul 3: Instalați noul cilindru
Contact suport
Informații tehnice
PREGĂTIRE
| ⚠️ Acest produs nu este o jucărie și nu trebuie instalat, manevrat sau folosit de copii. Piesele mici incluse împreună cu produsul prezintă un potențial risc de sufocare și trebuie păstrate în permanență în afara razei de acțiune a copiilor.
AVERTISMENT:
Nerespectarea acestor recomandări poate duce la vătămări grave. Producătorul nu își asumă responsabilitatea pentru utilizarea necorespunzătoare sau instalarea efectuată de persoane necalificate. |
CONȚINUTUL CUTIEI
| 1A. Modul cu camă / 1B. Modul cu pinion | 6. Modulul axului | 11. Cheie imbus (mărimea 1,5) |
| 2. Modulul cheii | 7. Axul cilindrului | 12. Bucșe distanțiere (15 mm, 15 mm, 10 mm, 6 mm) |
| 3. Distanțier (6 mm) | 8. Bucșe distanțiere (10 mm, 6 mm) | 13. Chei (×5) |
| 4. Locașul șurubului de prindere | 14. Cardul cheii | |
| 5. Distanțier (10 mm) | 10. Distanțiere (6, 10, 15, 15 mm) | 15. Adaptor Tedee GO |
DE CE AVEȚI NEVOIE
Șurubelniță Phillips |
O riglă |
CARD CU COD
Folosiți codul de pe cardul inclus în cutia cilindrului pentru a comanda chei suplimentare de la lăcătuși GERDA autorizați sau prin e-mail la [[email protected]](mailto:[email protected]).
|
⚠️ Vă recomandăm să faceți o fotografie clară a codului și să o păstrați în siguranță pentru utilizări viitoare. |
Cardul cheii
INSTALARE
![]() |
![]() |
![]() |
|
PASUL 1 Pregătiți ușa și măsurați cilindrul vechi. |
PASUL 2 Ajustați noul cilindru. |
PASUL 3 Instalați noul cilindru. |
PASUL 1: PREGĂTIȚI UȘA ȘI MĂSURAȚI CILINDRUL VECHI
1. Verificați cât iese cilindrul existent în afara rozetei încuietorii (pe partea interioară a apartamentului).
| ⚠️ Instalarea Tedee PRO
Prinderea sigură a încuietorii inteligente necesită ca cilindrul să iasă 2–6 mm dincolo de rozeta încuietorii. Dacă cilindrul existent iese mai puțin de 2 mm, ajustați noul cilindru modular pentru o lungime mai mare pe partea încuietorii inteligente. Dacă cilindrul existent iese mai mult de 6 mm, ajustați noul cilindru modular pentru o lungime mai mică pe partea încuietorii inteligente. |
⚠️ Instalarea Tedee GO(2)
Prinderea sigură a încuietorii inteligente necesită ca cilindrul să iasă 3–8 mm dincolo de rozeta încuietorii. Dacă cilindrul existent iese mai puțin de 3 mm, ajustați noul cilindru modular pentru o lungime mai mare pe partea încuietorii inteligente. Dacă cilindrul existent iese mai mult de 8 mm, ajustați noul cilindru modular pentru o lungime mai mică pe partea încuietorii inteligente. |
![]() |
![]() |
2. Scoateți din broasca ușii șurubul de prindere care fixează cilindrul vechi și păstrați-l pentru instalarea celui nou.
|
⚠️ Dacă aveți o ușă de înaltă securitate cu rozeta întărită, demontați rozeta înainte de a scoate cilindrul din broască. |
3. Introduceți o cheie în cilindru, rotiți-o ușor și trageți cu grijă pentru a scoate cilindrul vechi din broasca ușii.
|
⚠️ La înlocuirea unui cilindru cu camă, poate fi necesar să rotiți cheia pentru a retracta cama. Trageți delicat cilindrul cu cheia introdusă pentru a găsi poziția corectă în care cama este complet retrasă. |
4. Măsurați cilindrul existent și notați dimensiunile:
![]() |
|
| A (interior)De la capătul interior al cilindrului până la centrul locașului șurubului de prindere. |
B (exterior)De la capătul exterior al cilindrului până la centrul locașului șurubului de prindere. |
PASUL 2: AJUSTAȚI NOUL CILINDRU
Implicit, cilindrul modular GERDA EXXO vine cu module preasamblate.
Este posibil să fie nevoie să îndepărtați sau să adăugați module pentru a configura lungimea pe ambele părți astfel încât să corespundă cilindrului existent.
| Cilindru nou implicit
|
|
| Interior Partea încuietorii inteligente 41 mm (1× distanțier de 10 mm) |
Exterior Partea cu cheie 37 mm (1× distanțier de 6 mm) |
| ⚠️ Asamblați cilindrul modular GERDA EXXO astfel încât să corespundă cât mai fidel părții cu cheie (exterior) a cilindrului vechi.
La asamblarea părții interioare a cilindrului, țineți cont cât ieșea vechiul cilindru din rozetă — măsurătoarea efectuată la Pasul 1.1. Alegeți lungimea interioară dorită, puțin mai mare sau mai mică, pentru a obține o proeminență a cilindrului de 2–6 mm (pentru Tedee PRO) sau 3–8 mm (pentru Tedee GO(2)). |
1. Alegeți combinația dorită de module pentru ambele părți ale cilindrului din configurațiile disponibile:
| Partea cu cheie | Partea încuietorii inteligente |
| 31 mm (fără distanțiere) | 31 mm (fără distanțiere) |
| 37 mm (1× 6 mm) | 37 mm (1× 6 mm) |
| 41 mm (1× 10 mm) | 41 mm (1× 10 mm) |
| 46 mm (1× 15 mm) | 46 mm (1× 15 mm) |
| 47 mm (1× 6 mm + 1× 10 mm) | 47 mm (1× 6 mm + 1× 10 mm) |
| 52 mm (1× 6 mm + 1× 15 mm) | 52 mm (1× 6 mm + 1× 15 mm) |
| 56 mm (1× 10 mm + 1× 15 mm) | 56 mm (1× 10 mm + 1× 15 mm) |
| 62 mm (1× 6 mm + 1× 10 mm + 1× 15 mm) | 62 mm (1× 6 mm + 1× 10 mm + 1× 15 mm) |
|
⚠️ Folosiți doar combinațiile de module din tabelul de mai sus. Nu configurați lungimi ale cilindrului mai mari de 62 mm pe niciuna dintre părți. Contactați [email protected] dacă cilindrul vechi depășește această lungime. |
2. Pregătiți distanțierele și bucșele corespunzătoare pentru a le atașa la cilindru.
|
⚠️ Fiecărui distanțier îi corespunde o bucșă de aceeași dimensiune. |
3. Desfaceți elementele cilindrului, îndepărtând câte patru șuruburi de strângere de pe ambele părți, folosind cheia imbus.
|
⚠️ Manevrați cu grijă bucșele libere, deoarece pot cădea. |
4. Adăugați distanțiere, introducând bucșele corespunzătoare în modul și îmbinând elementele.
|
⚠️ Asigurați-vă că alinierea de rotație a elementelor circulare este corectă. |
5. Asigurați cilindrul cu șuruburile de strângere folosind cheia imbus. Rotiți în sensul acelor de ceasornic până la strângere.
|
⚠️ Nu uitați să fixați patru șuruburi de strângere pe fiecare element. |
6. Efectuați o verificare finală:
A. Asigurați-vă că lungimea pe exterior corespunde cilindrului vechi.
B. Asigurați-vă că lungimea pe interior oferă o proeminență potrivită față de rozetă: 2–6 mm pentru Tedee PRO sau 3–8 mm pentru Tedee GO(2).
![]() |
![]() |
![]() |
![]() |
PASUL 3: INSTALAȚI NOUL CILINDRU
1. La înlocuirea unui cilindru cu camă, rotiți axul cilindrului pentru a retrage cama în profilul cilindrului.
2. Introduceți cilindrul în broasca ușii.
|
⚠️ Asigurați-vă că părțile cilindrului sunt corect aliniate cu interiorul și exteriorul apartamentului. |
3. Strângeți șurubul de prindere pentru a fixa cilindrul în broasca ușii.
4. Verificare finală:
A. Asigurați-vă că cilindrul iese la interior între 2–6 mm sau 3–8 mm, în funcție de faptul că instalați Tedee PRO sau Tedee GO. Ajustați după nevoie pentru un aliniament corect.
B. Testați cheia din exterior, rotind-o la stânga și la dreapta, pentru a vă asigura că zăvoarele se mișcă lin.
ACUM SUNTEȚI GATA SĂ INSTALAȚI ÎNCUIETOAREA INTELIGENTĂ TEDEE PE NOUL CILINDRU.
![]() |
![]() |
|
La instalarea Tedee PRO Urmați manualul din cutia încuietorii inteligente. |
⚠️ La instalarea Tedee GO(2)
Atașați adaptorul Tedee GO Bar din cutia cilindrului pe un ax de cilindru cu fantă. Apoi urmați manualul de instalare din cutia încuietorii inteligente. |
SUPORT TEHNIC
Pentru asistență, contactați Echipa de Suport Tedee:
| Site web
[www.tedee.com/support](http://www.tedee.com/support) Manualele altor produse Tedee [www.tedee.com/support/manuals](http://www.tedee.com/support/manuals) |
Telefon
(+48) 22 307 72 67 8:00 – 16:00 (CET) |
Adresă poștală
Tedee Sp. z o.o. Karola Bohdanowicza 21/57 02-127 Varșovia Polonia |
INFORMAȚII TEHNICE
Cilindru modular GERDA EXXO SMART
| Categorie | Cilindru profil Euro |
| Variante | Camă / Pinion |
| Securitate | Clasa 6 conform PN-EN 1303:2015 |
| Producător | GERDA Sp. z o.o. Sokołów, ul. Sokołowska 49 05-806 Komorów, Polonia +48 (22) 329 10 30 www.gerda.com |
🇸🇰 Slovenčina
Modulová vložka GERDA EXXO SMART
Návod na inštaláciu a používanie
OBSAH
Príprava
- Obsah balenia
- Čo budete potrebovať
- Kódová karta
Inštalácia
- Krok 1: Pripravte dvere a zmerajte starú vložku
- Krok 2: Upravte novú vložku
- Krok 3: Nainštalujte novú vložku
Kontakt na podporu
Technické informácie
PRÍPRAVA
| ⚠️ Tento produkt nie je hračka a nesmie byť inštalovaný, obsluhovaný ani používaný deťmi. Malé diely dodané s produktom predstavujú potenciálne riziko zadusenia a musia byť vždy mimo dosahu detí.
UPOZORNENIE:
Nedodržanie týchto pokynov môže viesť k vážnemu zraneniu. Výrobca nepreberá zodpovednosť za nesprávne používanie alebo inštaláciu neodbornými osobami. |
OBSAH BALENIA
| 1A. Modul s vačkou / 1B. Modul s ozubeným kolesom | 6. Modul hriadeľa | 11. Imbusový kľúč (veľkosť 1,5) |
| 2. Modul kľúča | 7. Hriadeľ vložky | 12. Dištančné puzdrá (15 mm, 15 mm, 10 mm, 6 mm) |
| 3. Dištančný krúžok (6 mm) | 8. Dištančné puzdrá (10 mm, 6 mm) | 13. Kľúče (×5) |
| 4. Otvor pre upevňovaciu skrutku | 14. Karta kľúča | |
| 5. Dištančný krúžok (10 mm) | 10. Dištančné krúžky (6, 10, 15, 15 mm) | 15. Adaptér Tedee GO |
ČO BUDETE POTREBOVAŤ
Krížový skrutkovač (Phillips) |
Pravítko |
KÓDOVÁ KARTA
Použite kód z karty priloženej v balení vložky na objednanie dodatočných kľúčov u autorizovaných zámočníkov GERDA alebo e-mailom na adresu [[email protected]](mailto:[email protected]).
|
⚠️ Odporúčame urobiť si jasnú fotografiu vášho kódu a bezpečne ju uložiť na budúce použitie. |
Karta kľúča
INŠTALÁCIA
![]() |
![]() |
![]() |
|
KROK 1 Pripravte svoje dvere a zmerajte starú vložku. |
KROK 2 Upravte novú vložku. |
KROK 3 Nainštalujte novú vložku. |
KROK 1: PRIPRAVTE DVERE A ZMERAJTE STARÚ VLOŽKU
1. Skontrolujte, o koľko vaša existujúca vložka vyčnieva z rozety zámku (na vnútornej strane bytu).
| ⚠️ Inštalácia Tedee PRO
Bezpečný držiak inteligentného zámku vyžaduje, aby vložka vyčnievala 2–6 mm z rozety zámku. Ak vaša existujúca vložka vyčnieva menej ako 2 mm, upravte novú modulovú vložku na dlhšiu dĺžku na strane inteligentného zámku. Ak vaša existujúca vložka vyčnieva viac ako 6 mm, upravte novú modulovú vložku na kratšiu dĺžku na strane inteligentného zámku. |
⚠️ Inštalácia Tedee GO(2)
Bezpečný držiak inteligentného zámku vyžaduje, aby vložka vyčnievala 3–8 mm z rozety zámku. Ak vaša existujúca vložka vyčnieva menej ako 3 mm, upravte novú modulovú vložku na dlhšiu dĺžku na strane inteligentného zámku. Ak vaša existujúca vložka vyčnieva viac ako 8 mm, upravte novú modulovú vložku na kratšiu dĺžku na strane inteligentného zámku. |
![]() |
![]() |
2. Odstráňte z dverového zámku upevňovaciu skrutku, ktorá fixuje starú vložku, a odložte si ju na montáž novej.
|
⚠️ Ak máte bezpečnostné dvere so spevnenou rozetou zámku, pred vybratím vložky zámku rozetu demontujte. |
3. Vložte do vložky kľúč, mierne ním otočte a opatrne ťahajte, aby ste starú vložku vytiahli z dverového zámku.
|
⚠️ Pri výmene vačkovej vložky môže byť potrebné otočiť kľúčom, aby sa vačka zasunula. Jemne ťahajte vložku s vloženým kľúčom, kým nenájdete polohu, v ktorej je vačka úplne zasunutá. |
4. Zmerajte existujúcu vložku a zapíšte si rozmery:
![]() |
|
| A (vnútri)Od vnútorného konca vložky po stred otvoru pre upevňovaciu skrutku. |
B (vonkajšia strana)Od vonkajšieho konca vložky po stred otvoru pre upevňovaciu skrutku. |
KROK 2: UPRAVTE NOVÚ VLOŽKU
Štandardne je modulová vložka GERDA EXXO dodávaná s predmontovanými modulmi.
Na prispôsobenie dĺžky na oboch stranách tak, aby zodpovedala vašej existujúcej vložke, môže byť potrebné moduly odobrať alebo pridať.
| Východisková nová vložka
|
|
| Vnútri Strana inteligentného zámku 41 mm (1× dištančný krúžok 10 mm) |
Vonkajšia strana Strana kľúča 37 mm (1× dištančný krúžok 6 mm) |
| ⚠️ Zostavte modulovú vložku GERDA EXXO tak, aby čo najviac zodpovedala strane kľúča (vonkajšej) vašej starej vložky.
Pri skladaní vnútornej časti vložky berte do úvahy, o koľko stará vložka vyčnievala z rozety — meranie z Kroku 1.1. Zvoľte požadovanú vnútornú dĺžku, mierne dlhšiu alebo kratšiu, aby ste dosiahli vyčnievanie vložky 2–6 mm (pre Tedee PRO) alebo 3–8 mm (pre Tedee GO(2)). |
1. Vyberte požadovanú kombináciu modulov pre obe strany vložky z dostupných konfigurácií:
| Strana kľúča | Strana inteligentného zámku |
| 31 mm (bez dištančných krúžkov) | 31 mm (bez dištančných krúžkov) |
| 37 mm (1× 6 mm) | 37 mm (1× 6 mm) |
| 41 mm (1× 10 mm) | 41 mm (1× 10 mm) |
| 46 mm (1× 15 mm) | 46 mm (1× 15 mm) |
| 47 mm (1× 6 mm + 1× 10 mm) | 47 mm (1× 6 mm + 1× 10 mm) |
| 52 mm (1× 6 mm + 1× 15 mm) | 52 mm (1× 6 mm + 1× 15 mm) |
| 56 mm (1× 10 mm + 1× 15 mm) | 56 mm (1× 10 mm + 1× 15 mm) |
| 62 mm (1× 6 mm + 1× 10 mm + 1× 15 mm) | 62 mm (1× 6 mm + 1× 10 mm + 1× 15 mm) |
|
⚠️ Používajte iba kombinácie modulov z vyššie uvedenej tabuľky. Nekonfigurujte dĺžky vložky väčšie ako 62 mm na akejkoľvek strane. Kontaktujte [email protected], ak vaša stará vložka presahuje túto dĺžku. |
2. Pripravte dištančné krúžky a zodpovedajúce puzdrá na pripevnenie k vložke.
|
⚠️ Každému dištančnému krúžku zodpovedá puzdro rovnakej veľkosti. |
3. Rozoberte prvky vložky odstránením štyroch upínacích skrutiek z oboch strán pomocou imbusového kľúča.
|
⚠️ Voľné puzdrá manipulujte opatrne, môžu vypadnúť. |
4. Pridajte dištančné krúžky vložením zodpovedajúcich puzdier do modulu a spojením prvkov.
|
⚠️ Uistite sa, že natočenie kruhových prvkov je správne. |
5. Zaistite vložku upínacími skrutkami pomocou imbusového kľúča. Otáčajte v smere hodinových ručičiek až do dotiahnutia.
|
⚠️ Nezabudnite dotiahnuť štyri upínacie skrutky na každom prvku. |
6. Vykonajte záverečnú kontrolu:
A. Uistite sa, že vonkajšia dĺžka zodpovedá vašej starej vložke.
B. Uistite sa, že vnútorná dĺžka zabezpečuje vhodné vyčnievanie z rozety zámku: 2–6 mm pre Tedee PRO alebo 3–8 mm pre Tedee GO(2).
![]() |
![]() |
![]() |
![]() |
KROK 3: NAINŠTALUJTE NOVÚ VLOŽKU
1. Pri výmene vačkovej vložky otočte hriadeľom vložky, aby sa vačka zasunula do profilu vložky.
2. Zasuňte vložku do dverového zámku.
|
⚠️ Uistite sa, že strany vložky sú správne zarovnané s vnútornou a vonkajšou stranou vášho bytu. |
3. Dotiahnite upevňovaciu skrutku, aby ste vložku zaistili v dverovom zámku.
4. Záverečná kontrola:
A. Uistite sa, že vložka na vnútornej strane vyčnieva 2–6 mm alebo 3–8 mm podľa toho, či inštalujete Tedee PRO alebo Tedee GO. V prípade potreby upravte pre správne zarovnanie.
B. Otestujte kľúč zvonka otáčaním doľava a doprava, aby ste overili plynulý chod závorového mechanizmu.
TERAZ STE PRIPRAVENÍ NAINŠTALOVAŤ SVOJ INTELIGENTNÝ ZÁMOK TEDEE NA NOVÚ VLOŽKU.
![]() |
![]() |
|
Pri inštalácii Tedee PRO Postupujte podľa návodu v balení inteligentného zámku. |
⚠️ Pri inštalácii Tedee GO(2)
Nacvaknite adaptér Tedee GO Bar z balenia vložky na drážkovaný hriadeľ vložky. Potom postupujte podľa montážneho návodu z balenia inteligentného zámku. |
TECHNICKÁ PODPORA
V prípade potreby kontaktujte tím technickej podpory Tedee:
| Webová stránka
[www.tedee.com/support](http://www.tedee.com/support) Príručky ďalších produktov Tedee [www.tedee.com/support/manuals](http://www.tedee.com/support/manuals) |
Telefón
(+48) 22 307 72 67 8:00 – 16:00 (CET) |
Adresa
Tedee Sp. z o.o. Karola Bohdanowicza 21/57 02-127 Varšava Poľsko |
TECHNICKÉ INFORMÁCIE
Modulová vložka GERDA EXXO SMART
| Kategória | Europrofilová vložka |
| Varianty | Vačka / Ozubené koleso |
| Zabezpečenie | Trieda 6 podľa PN-EN 1303:2015 |
| Výrobca | GERDA Sp. z o.o. Sokołów, ul. Sokołowska 49 05-806 Komorów, Poľsko +48 (22) 329 10 30 www.gerda.com |
🇸🇮 Slovenščina
Modularni cilinder GERDA EXXO SMART
Priročnik za namestitev in uporabo
KAZALO VSEBINE
Priprava
- Vsebina škatle
- Kaj potrebujete
- Kartica s kodo
Namestitev
- Korak 1: Pripravite vrata in izmerite stari cilinder
- Korak 2: Prilagodite novi cilinder
- Korak 3: Namestite novi cilinder
Kontakt za podporo
Tehnične informacije
PRIPRAVA
| ⚠️ Ta izdelek ni igrača in ga ne smejo nameščati, upravljati ali uporabljati otroci. Majhni deli, priloženi izdelku, predstavljajo potencialno nevarnost zadušitve in morajo biti ves čas izven dosega otrok.
OPOZORILO:
Nespoštovanje teh smernic lahko povzroči resne poškodbe. Proizvajalec ne prevzema odgovornosti za nepravilno uporabo ali namestitev s strani neustrezno usposobljenih oseb. |
VSEBINA ŠKATLE
| 1A. Modul z odmičnikom (cam) / 1B. Zobniški modul (gear) | 6. Modul osi | 11. Imbus ključ (velikost 1,5) |
| 2. Modul za ključ | 7. Os cilindra | 12. Tulci distančnikov (15 mm, 15 mm, 10 mm, 6 mm) |
| 3. Distančnik (6 mm) | 8. Tulci distančnikov (10 mm, 6 mm) | 13. Ključi (×5) |
| 4. Odprtina za pritrditveni vijak | 14. Kartica ključa | |
| 5. Distančnik (10 mm) | 10. Distančniki (6, 10, 15, 15 mm) | 15. Adapter Tedee GO |
KAJ POTREBUJETE
Križni izvijač (Phillips) |
Ravnilo |
KARTICA S KODO
Kodo s kartice, priložene v škatli cilindra, uporabite za naročilo dodatnih ključev pri pooblaščenih ključavničarjih GERDA ali po e-pošti na [[email protected]](mailto:[email protected]).
|
⚠️ Priporočamo, da svoj kodo jasno fotografirate in fotografijo varno shranite za prihodnjo uporabo. |
Kartica ključa
NAMESTITEV
![]() |
![]() |
![]() |
|
KORAK 1 Pripravite vrata in izmerite stari cilinder. |
KORAK 2 Prilagodite novi cilinder. |
KORAK 3 Namestite novi cilinder. |
KORAK 1: PRIPRAVITE VRATA IN IZMERITE STARI CILINDER
1. Preverite, za koliko vaš obstoječi cilinder štrli iz rozete ključavnice (na notranji strani vašega stanovanja).
| ⚠️ Namestitev Tedee PRO
Za varen nosilec pametne ključavnice mora cilinder štrleti 2–6 mm iz rozete ključavnice. Če vaš obstoječi cilinder štrli manj kot 2 mm, prilagodite novi modularni cilinder na daljšo dolžino na strani pametne ključavnice. Če vaš obstoječi cilinder štrli več kot 6 mm, prilagodite novi modularni cilinder na krajšo dolžino na strani pametne ključavnice. |
⚠️ Namestitev Tedee GO(2)
Za varen nosilec pametne ključavnice mora cilinder štrleti 3–8 mm iz rozete ključavnice. Če vaš obstoječi cilinder štrli manj kot 3 mm, prilagodite novi modularni cilinder na daljšo dolžino na strani pametne ključavnice. Če vaš obstoječi cilinder štrli več kot 8 mm, prilagodite novi modularni cilinder na krajšo dolžino na strani pametne ključavnice. |
![]() |
![]() |
2. Odstranite pritrditveni vijak iz ključavnice na vratih, ki drži stari cilinder, in ga shranite za namestitev novega.
|
⚠️ Če imate visoko-varnostna vrata z ojačano rozetno ploščo, pred odstranitvijo cilindra razstavite rozetni ščitnik. |
3. Vstavite ključ v cilinder, ga rahlo zavrtite in previdno povlecite, da odstranite stari cilinder iz ključavnice na vratih.
|
⚠️ Pri zamenjavi odmičnega (cam) cilindra boste morda morali obrniti ključ, da skrijete odmičnik. Cilinder nežno vlecite s ključem v reži, dokler ne najdete pravilnega položaja, kjer je odmičnik povsem skrit. |
4. Izmerite obstoječi cilinder in zapišite mere:
![]() |
|
| A (notranjost)Od notranjega konca cilindra do središča odprtine za pritrditveni vijak. |
B (zunanjost)Od zunanjega konca cilindra do središča odprtine za pritrditveni vijak. |
KORAK 2: PRILAGODITE NOVI CILINDER
Privzeto je modularni cilinder GERDA EXXO opremljen s predhodno pritrjenimi moduli.
Morda boste morali module odstraniti ali dodati, da nastavite dolžino na obeh straneh in jo uskladite z vašim obstoječim cilindrom.
| Privzeti novi cilinder
|
|
| Notranjost Stran pametne ključavnice 41 mm (1× distančnik 10 mm) |
Zunanjost Stran ključa 37 mm (1× distančnik 6 mm) |
| ⚠️ Sestavite modularni cilinder GERDA EXXO tako, da se čim bolj ujema z stranjo ključa (zunanjost) vašega starega cilindra.
Pri sestavljanju notranjega dela cilindra upoštevajte, koliko je vaš stari cilinder štrlel iz rozete — meritev iz Koraka 1.1. Izberite želeno notranjo dolžino, nekoliko daljšo ali krajšo, da dosežete štrlenje cilindra 2–6 mm (za Tedee PRO) ali 3–8 mm (za Tedee GO(2)). |
1. Izberite želeno kombinacijo modulov za obe strani cilindra iz razpoložljivih konfiguracij:
| Stran ključa | Stran pametne ključavnice |
| 31 mm (brez distančnikov) | 31 mm (brez distančnikov) |
| 37 mm (1× 6 mm) | 37 mm (1× 6 mm) |
| 41 mm (1× 10 mm) | 41 mm (1× 10 mm) |
| 46 mm (1× 15 mm) | 46 mm (1× 15 mm) |
| 47 mm (1× 6 mm + 1× 10 mm) | 47 mm (1× 6 mm + 1× 10 mm) |
| 52 mm (1× 6 mm + 1× 15 mm) | 52 mm (1× 6 mm + 1× 15 mm) |
| 56 mm (1× 10 mm + 1× 15 mm) | 56 mm (1× 10 mm + 1× 15 mm) |
| 62 mm (1× 6 mm + 1× 10 mm + 1× 15 mm) | 62 mm (1× 6 mm + 1× 10 mm + 1× 15 mm) |
|
⚠️ Uporabljajte samo kombinacije modulov iz zgornje tabele. Ne nastavljajte dolžin cilindra, daljših od 62 mm, na kateri koli strani. Kontaktirajte [email protected], če vaš stari cilinder presega to dolžino. |
2. Pripravite distančnike in ustrezne tulce za pritrditev na cilinder.
|
⚠️ Vsakemu distančniku ustreza tulec enake velikosti. |
3. Razdružite elemente cilindra tako, da z obeh strani odstranite štiri vpenjalne vijake z imbus ključem.
|
⚠️ Z ohlapnimi tulci ravnajte previdno, saj lahko izpadejo. |
4. Dodajte distančnike tako, da vstavite ustrezne tulce v modul in povežete elemente.
|
⚠️ Prepričajte se, da je vrtilna poravnava krožnih elementov pravilna. |
5. Zavarujte cilinder z vpenjalnimi vijaki z uporabo imbus ključa. Zavrtite v smeri urinega kazalca do zatega.
|
⚠️ Ne pozabite zavarovati štirih vpenjalnih vijakov na vsakem elementu. |
6. Opravite končni pregled:
A. Prepričajte se, da zunanja dolžina ustreza vašemu staremu cilindru.
B. Prepričajte se, da notranja dolžina zagotavlja ustrezno štrlenje iz rozete ključavnice: 2–6 mm za Tedee PRO ali 3–8 mm za Tedee GO(2).
![]() |
![]() |
![]() |
![]() |
KORAK 3: NAMESTITE NOVI CILINDER
1. Pri zamenjavi odmičnega cilindra zavrtite os cilindra, da se odmičnik umakne v profil cilindra.
2. Vstavite cilinder v ključavnico na vratih.
|
⚠️ Prepričajte se, da so strani cilindra pravilno poravnane z notranjostjo in zunanjostjo vašega stanovanja. |
3. Privijte pritrditveni vijak, da cilinder pritrdite v ključavnici.
4. Končni pregled:
A. Prepričajte se, da cilinder na notranji strani štrli med 2–6 mm ali 3–8 mm, odvisno od tega, ali nameščate Tedee PRO ali Tedee GO. Po potrebi prilagodite za pravilno poravnavo.
B. Preizkusite ključ z zunanje strani z vrtenjem levo in desno, da zagotovite gladko gibanje zapornih zatičev.
ZDAJ STE PRIPRAVLJENI NAMESTITI PAMETNO KLJUČAVNICO TEDEE NA NOVI CILINDER.
![]() |
![]() |
|
Pri namestitvi Tedee PRO Sledite priročniku iz škatle pametne ključavnice. |
⚠️ Pri namestitvi Tedee GO(2)
Na utorno os cilindra pripnite adapter Tedee GO Bar iz škatle cilindra. Nato sledite priročniku za namestitev iz škatle pametne ključavnice. |
TEHNIČNA PODPORA
Za pomoč kontaktirajte ekipo za podporo Tedee:
| E-pošta | Spletna stran
[www.tedee.com/support](http://www.tedee.com/support) Priročniki za druge izdelke Tedee [www.tedee.com/support/manuals](http://www.tedee.com/support/manuals) |
Telefon
(+48) 22 307 72 67 8:00 – 16:00 (CET) |
Pošta
Tedee Sp. z o.o. Karola Bohdanowicza 21/57 02-127 Varšava Poljska |
TEHNIČNE INFORMACIJE
Modularni cilinder GERDA EXXO SMART
| Kategorija | Evroprofilni cilinder |
| Različice | Odmični (cam) / Zobniški (gear) |
| Varnost | Razred 6 v skladu s PN-EN 1303:2015 |
| Proizvajalec | GERDA Sp. z o.o. Sokołów, ul. Sokołowska 49 05-806 Komorów, Poljska +48 (22) 329 10 30 www.gerda.com |
🇸🇪 Svenska
GERDA EXXO SMART modulcylinder
Installations- och användarmanual
INNEHÅLLSFÖRTECKNING
Förberedelser
- Innehåll i lådan
- Det här behöver du
- Kodkort
Installation
- Steg 1: Förbered din dörr och mät din gamla cylinder
- Steg 2: Justera din nya cylinder
- Steg 3: Installera din nya cylinder
Supportkontakt
Teknisk information
FÖRBEREDELSER
| ⚠️ Denna produkt är inte en leksak och får inte installeras, hanteras eller användas av barn. Små delar som medföljer produkten utgör en potentiell kvävningsrisk och måste förvaras utom räckhåll för barn vid alla tillfällen.
VARNING:
Underlåtenhet att följa dessa riktlinjer kan leda till allvarlig skada. Tillverkaren tar inget ansvar för felaktig användning eller installation utförd av icke kvalificerade personer. |
INNEHÅLL I LÅDAN
| 1A. Kammodule / 1B. Kugghjulsmodule | 6. Axelmodul | 11. Insexnyckel (storlek 1,5) |
| 2. Nyckelmodul | 7. Cylinderaxel | 12. Distanshylsor (15 mm, 15 mm, 10 mm, 6 mm) |
| 3. Distans (6 mm) | 8. Distanshylsor (10 mm, 6 mm) | 13. Nycklar (×5) |
| 4. Hål för fästskruv | 14. Nyckelkort | |
| 5. Distans (10 mm) | 10. Distanser (6, 10, 15, 15 mm) | 15. Tedee GO-adapter |
DET HÄR BEHÖVER DU
Kryssmejsel (Phillips) |
Linjal |
KODKORT
Använd koden från kortet som ingår i cylinderlådan för att beställa extra nycklar från auktoriserade GERDA-låssmeder eller via e-post till [[email protected]](mailto:[email protected]).
|
⚠️ Vi rekommenderar att du tar ett tydligt foto av din kod och förvarar det säkert för framtida bruk. |
Nyckelkort
INSTALLATION
![]() |
![]() |
![]() |
|
STEG 1 Förbered din dörr och mät din gamla cylinder. |
STEG 2 Justera din nya cylinder. |
STEG 3 Installera din nya cylinder. |
STEG 1: FÖRBERED DIN DÖRR OCH MÄT DIN GAMLA CYLINDER
1. Kontrollera hur långt din befintliga cylinder sticker ut från låsrosetten (på insidan av din lägenhet).
| ⚠️ Installation av Tedee PRO
Den säkra monteringen av det smarta låset kräver att cylindern sticker ut 2–6 mm från låsrosetten. Om din befintliga cylinder sticker ut mindre än 2 mm, justera den nya modulcylindern till en längre längd på smartlåssidan. Om din befintliga cylinder sticker ut mer än 6 mm, justera den nya modulcylindern till en kortare längd på smartlåssidan. |
⚠️ Installation av Tedee GO(2)
Den säkra monteringen av det smarta låset kräver att cylindern sticker ut 3–8 mm från låsrosetten. Om din befintliga cylinder sticker ut mindre än 3 mm, justera den nya modulcylindern till en längre längd på smartlåssidan. Om din befintliga cylinder sticker ut mer än 8 mm, justera den nya modulcylindern till en kortare längd på smartlåssidan. |
![]() |
![]() |
2. Ta bort fästskruven från din dörrlåskista som håller den gamla cylindern och spara den för installation av den nya.
|
⚠️ Om du har en säkerhetsdörr med förstärkt låsrosett, demontera rosetten innan du tar ut cylindern ur låset. |
3. Sätt in en nyckel i cylindern, vrid den lätt och dra försiktigt för att ta ut den gamla cylindern ur dörrlåset.
|
⚠️ Vid byte av kamcylinder kan du behöva vrida nyckeln för att fälla in kammen. Dra försiktigt i cylindern med nyckeln isatt för att hitta rätt läge där kammen är helt infälld. |
4. Mät din befintliga cylinder och skriv ner måtten:
![]() |
|
| A (insida)Från cylinderns insida till mitten av fästskruvshålet. |
B (utsida)Från cylinderns utsida till mitten av fästskruvshålet. |
STEG 2: JUSTERA DIN NYA CYLINDER
Som standard levereras GERDA EXXO modulcylinder med förmonterade moduler.
Du kan behöva ta bort eller lägga till moduler för att ställa in längden på båda sidor så att den matchar din befintliga cylinder.
| Standardny cylinder
|
|
| Insida Smartlåssida 41 mm (1× 10 mm distans) |
Utsida Nyckelsida 37 mm (1× 6 mm distans) |
| ⚠️ Montera GERDA EXXO modulcylinder så att den så nära som möjligt motsvarar nyckelsidan (utsidan) på din gamla cylinder.
När du monterar den inre delen av cylindern, tänk på hur mycket din gamla cylinder stack ut från rosetten — måttet som togs i Steg 1.1. Välj önskad innerlängd, aningen längre eller kortare, för att uppnå ett utstick på 2–6 mm (för Tedee PRO) eller 3–8 mm (för Tedee GO(2)). |
1. Välj önskad modulkombination för båda sidor av cylindern från tillgängliga konfigurationer:
| Nyckelsida | Smartlåssida |
| 31 mm (inga distanser) | 31 mm (inga distanser) |
| 37 mm (1× 6 mm) | 37 mm (1× 6 mm) |
| 41 mm (1× 10 mm) | 41 mm (1× 10 mm) |
| 46 mm (1× 15 mm) | 46 mm (1× 15 mm) |
| 47 mm (1× 6 mm + 1× 10 mm) | 47 mm (1× 6 mm + 1× 10 mm) |
| 52 mm (1× 6 mm + 1× 15 mm) | 52 mm (1× 6 mm + 1× 15 mm) |
| 56 mm (1× 10 mm + 1× 15 mm) | 56 mm (1× 10 mm + 1× 15 mm) |
| 62 mm (1× 6 mm + 1× 10 mm + 1× 15 mm) | 62 mm (1× 6 mm + 1× 10 mm + 1× 15 mm) |
|
⚠️ Använd endast modulkombinationer från tabellen ovan. Konfigurera inte cylinderlängder längre än 62 mm på någon sida. Kontakta [email protected] om din gamla cylinder överskrider denna längd. |
2. Förbered distanser och matchande hylsor för att fästa på cylindern.
|
⚠️ Varje distans har en motsvarande hylsa i samma storlek. |
3. Lossa cylinderns delar genom att ta bort fyra klämskruvar från båda sidor med insexnyckeln.
|
⚠️ Hantera lösa hylsor varsamt, de kan falla ur. |
4. Lägg till distanser genom att sätta in motsvarande hylsor i modulen och sammanfoga delarna.
|
⚠️ Säkerställ att rotationsinriktningen för de cirkulära delarna är korrekt. |
5. Säkra cylindern med klämskruvarna med hjälp av insexnyckeln. Vrid medurs tills den är åtdragen.
|
⚠️ Kom ihåg att dra åt fyra klämskruvar på varje del. |
6. Gör en slutlig kontroll:
A. Kontrollera att längden på utsidan motsvarar din gamla cylinder.
B. Kontrollera att längden på insidan ger ett lämpligt utstick från låsrosetten: 2–6 mm för Tedee PRO eller 3–8 mm för Tedee GO(2).
![]() |
![]() |
![]() |
![]() |
STEG 3: INSTALLERA DIN NYA CYLINDER
1. Vid byte av kamcylinder, vrid cylinderaxeln för att fälla in kammen i cylinderprofilen.
2. Sätt in cylindern i dörrlåset.
|
⚠️ Kontrollera att cylinderns sidor är korrekt anpassade till insidan och utsidan av din lägenhet. |
3. Fäst fästskruven för att säkra cylindern i dörrlåset.
4. Slutlig kontroll:
A. Kontrollera att cylindern sticker ut 2–6 mm eller 3–8 mm på insidan, beroende på om du installerar Tedee PRO eller Tedee GO. Justera vid behov för korrekt inriktning.
B. Testa nyckeln från utsidan genom att vrida den åt vänster och höger för att säkerställa att reglarna rör sig smidigt.
NU ÄR DU REDO ATT INSTALLERA DITT TEDEE-SMARTLÅS PÅ DEN NYA CYLINDERN.
![]() |
![]() |
|
Vid installation av Tedee PRO Följ manualen i smartlådans förpackning. |
⚠️ Vid installation av Tedee GO(2)
Tryck fast Tedee GO Bar-adaptern från cylinderlådan på en spårad cylinderaxel. Följ sedan installationsmanualen i smartlådans förpackning. |
TEKNISK SUPPORT
För hjälp, kontakta Tedee Supportteam:
| E-post | Webbplats
[www.tedee.com/support](http://www.tedee.com/support) Manualer för andra Tedee-produkter [www.tedee.com/support/manuals](http://www.tedee.com/support/manuals) |
Telefon
(+48) 22 307 72 67 8:00 – 16:00 (CET) |
Postadress
Tedee Sp. z o.o. Karola Bohdanowicza 21/57 02-127 Warszawa Polen |
TEKNISK INFORMATION
GERDA EXXO SMART modulcylinder
| Kategori | Europrofilcylinder |
| Varianter | Kam / Kugghjul |
| Säkerhet | Klass 6 enligt PN-EN 1303:2015 |
| Tillverkare | GERDA Sp. z o.o. Sokołów, ul. Sokołowska 49 05-806 Komorów, Polen +48 (22) 329 10 30 www.gerda.com |





























